Автотрансформаторный пуск
Автотрансформаторный пуск
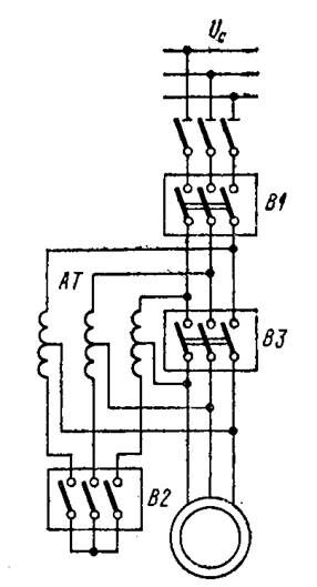
Автотрансформаторный пуск осуществляется по схеме (рис 1.) в следующем порядке. Сначала включаются выключатели В1 и В2, и на двигатель через автотрансформатор AT подается пониженное напряжение. После достижения двигателем определенной скорости выключатель В2 отключается, и двигатель получает питание через часть обмотки автотрансформатора AT, который в этом случае работает как реактор. Наконец включается выключатель В3, в результате чего двигатель получает полное напряжение.
Выключатель В1 должен быть выбран на отключающую мощность при коротком замыкании, а выключатели В2 и ВЗ могут иметь меньшие отключающие мощности. Пусковые автотрансформаторы рассчитываются на кратковременную работу. Согласно ГОСТ 3211—46, пусковые автотрансформаторы должны иметь ответвления, соответствующие величинам вторичного напряжения, равным 73, 64 и 55% от первичного при прямой схеме включения и 45, 36 и 27% при

Рис 1.
Рекомендация для Вас - 19 Историко-философские замечания.

Рис 2.
обратной схеме включения (рис. 2). В каждом конкретном случае выбирается подходящая ступень напряжения.
Если пусковой автотрансформатор понижает пусковое напряжение двигателя в kат раз, то пусковой ток в двигателе или на стороне НН
автотрансформатора Iп.д уменьшается также в kат раз, а пусковой ток на стороне ВН автотрансформатора или в сети Iп.с уменьшается в
раз. Пусковой момент Mп, пропорциональный квадрату напряжения на зажимах двигателя, уменьшается также в
раз.
Таким образом, при автотрансформаторном пуске Мп и Iп.с уменьшаются в одинаковое число раз. В то же время при реакторном пуске пусковой ток двигателей Iп.д является также пусковым током в сети Iп.с и пусковой момент Мп уменьшается быстрее пускового тока (в квадратичном отношении). Поэтому при одинаковых величинах Iп.с при автотрансформаторном пуске пусковой момент будет больше. Однако это преимущество автотрансформаторного пуска достигается ценой значительного усложнения и удорожания пусковой аппаратуры. Поэтому автотрансформаторный пуск применяется реже реакторного, при более тяжелых условиях, когда реакторный пуск не обеспечивает необходимого пускового момента.























