Реакторный пуск
Реакторный пуск
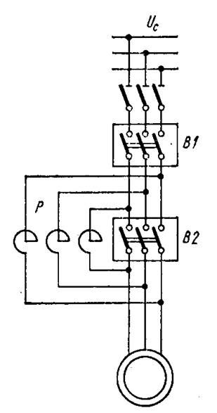
Реакторный пуск осуществляется согласно схеме. Сначала включается выключатель В1, и двигатель получает питание через трехфазный реактор (реактивную или индуктивную катушку) Р,

сопротивление которого Хр ограничивает величину пускового тока. По достижении нормальной скорости вращения включается выключатель В2, который шунтирует реактор, в результате чего на двигатель подается нормальное напряжение сети.
Пусковые реакторы строятся обычно с ферромагнитным сердечником и рассчитываются по нагреву только на кратковременную работу, что позволяет снизить их вес и стоимость. Для весьма мощных двигателей применяются также реакторы без ферромагнитного сердечника, с обмотками, укрепленными на бетонном каркасе. Выключатель В1 выбирается на такую отключающую мощность, которая позволяет отключить двигатель при глухом коротком замыкании за выключателем, а выключатель В2 может иметь низкую отключающую мощность.
Если составляющие сопротивления короткого замыкания двигателя равны
и
то начальный пусковой ток при прямом пуске

а при реакторном пуске, при пренебрежении активным сопротивлением реактора,

Лекция "12 Обеспечение промышленной безопасности ОПО" также может быть Вам полезна.
Следовательно, при реакторном пуске начальный пусковой ток уменьшается в

раз. Во столько же раз уменьшается также напряжение на зажимах двигателя в начальный момент пуска. Начальный пусковой момент при реакторном пуске Mп.р уменьшается по сравнению с моментом при прямом пуске Мп.п
в

раз.
В приведенных соотношениях не учитывается изменение величины xk при изменении величины пускового тока. При необходимости нетрудно учесть это изменение.























