- Основные части геодезических приборов
Основные части геодезических приборов
По назначению геодезические приборы делятся на:
1. Приборы для угловых измерений – теодолиты.
2. Приборы для линейных измерений – рулетки, мерные ленты и проволоки, дальномеры.
3. Приборы для измерения превышений – нивелиры.
4. Приборы для съемочных работ – тахеометры, кипрегели, фототеодолиты и др.
5. Приборы для аэро–, фото– съемки – стереокомпараторы, аэрофото аппарата, стереометры.

Рекомендуемые материалы
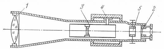
Зрительная труба – это увеличительный прибор для наблюдения удаленных объектов. Астрономическая труба дает обратное изображение, земная – прямое.
Основными частями зрительной трубы является: объектив 1, окуляр 2, внутренняя фокусирующая линза 3, которая перемещается внутри трубы вращением кремальеры 4 (кремальерного винта или кольца) и сетки нитей 5.
Объектив и окуляр трубы располагают т.о. чтобы при установки трубы на бесконечность передний фокус окуляра совпадал с задним фокусом объектива и плоскостью сетки нитей. В окулярной части трубы находиться сетка нитей на которую проектируется изображение наблюдаемого предмета, между объективом и окуляром располагается двояковогнутая фокусирующая линза, которая перемещается при помощи кремальеры.
Зрительная труба имеет 3 основные оси.
– визирная ось, прилегая проходит через оптический центр объектива и центр сетки нитей; вертикальная плоскость проходящая через визирную ось называется коллимационной.
– оптическая ось проходит через центр объектива и окуляра.
– геометрическая ось – прямая проходящая через центры поперечных сечений объективной части трубы.
При установке зрительной трубы по глазу необходимо получить отчетливое изображение сетки нитей и наблюдение объекта, для этого зрительную трубу наводят на светлый фон и вращением окулярного кольца добиваются отчетливого изображения нити сетей.
Для наведения резкости на предмет при помощи кремальеры перемещают фокусирующую линзу до совпадения изображения предмета с плоскостью сетки нитей.
После установки зрительной трубы следует убедиться в отсутствии параллакса сетки нитей – кажущегося смещения изображения относительно сетки при перемещении глаза наблюдателя относительно окуляра, устраняется дополнительной фокусировкой.
Увеличение зрительной трубы это отношение угла под которым предмет виден в зрительную трубу к углу, под которым предмет виден невооруженным глазом, на практике за увеличение зрительной трубы принимают соотношение фокусного расстояния объектива и окуляра. 
Ход лучей в зрительной трубе

Более совершенными являются трубы с внутренней фокусировкой; в них применяется дополнительная подвижная рассеивающая линза L2, образующая вместе с объективом L1 эквивалентную линзу L. При перемещении линзы L2 изменяется расстояние между линзами l и, следовательно, изменяется фокусное расстояние f эквивалентной линзы. Изображение предмета, находящееся в фокальной плоскости линзы L, также перемещается вдоль оптической оси, и когда оно попадает на плоскость сетки нитей становится четко видным в окуляре трубы. Трубы с внутренней фокусировкой короче; они герметичны и позволяют наблюдать близкие предметы; в современных измерительных приборах применяются в основном такие зрительные трубы.
В технических приборах увеличение 20–30 крат.
Полем зрения трубы называется пространство, которое видно в зрительную трубу при ее неподвижном положении.
Уровни предназначены для приведения в горизонтальное положение отдельных частей приборов, в геодезических приборах применяются жидкостные уровни.
Круглый уровень – представляет собой стеклянную ампулу округлой формы заключенной в металлической оправу и заполненную жидкостью так, чтобы оставалось свободное пространство, заполненное парами жидкости – пузырек.
На верхней внешней поверхности ампулы нанесены концентрические окружности – центр этих окружностей – нуль пункт.
Внутренняя верхняя поверхность ампулы представляет собой сферу большего радиуса. Осью круглого уровня называется прямая, походящая через нуль–пункт перпендикулярно к внутренним верхним поверхностям ампулы. Круглый уровень имеет небольшую точность, и применятся для предварительной установки прибора.
Цилиндрический уровень – стеклянная ампула цилиндрической формы, заключенная в металлическую оправу, заполненная жидкостью и имеет пузырек.
На верхней поверхности ампулы нанесены деления – середина нуль–пункт. Внутренняя и верхняя поверхность ампулы представляет собой дугу большего радиуса.
Касательная к внутренней и верхней поверхности ампулы, проходящий через нуль–пункт, называется осью уровня.
Для повышения точности установки приборов используется контактные уровни, это цилиндрические уровни с системой призм, позволяющих получать изображение концов пузырька уровня в поле зрения трубы.
Положению пузырька в нуль–пункте считается установка оптический контакт концов его изображения.
Цена деления уровня это угол, на который нужно изменить наклон оси уровня, чтобы пузырек переместился на одно деление.
Горизонтальный круг теодолита
Предназначен для измерения горизонтальных углов, состоит из лимба и алидады.
Лимб – плоское, стеклянное или металлическое кольцо по скошенному краю которого нанесены деления от 0о до 360о по часовой стрелке.
Алидада – это вспомогательное приспособление, позволяющее брать отсчеты по лимбу. Оси вращения лимба и алидады совпадают. Их принимают за основную вертикальную ось теодолита zz1. На алидаде имеется индекс (штрих) или шкала при помощи которых берут отсчет по лимбу.
Отсчет – это дуга лимба от 0о до 0о алидады по часовой стрелке.
При измерении горизонтальных углов лимб обычно движется и лежит в горизонтальной плоскости, а алидада скреплена с трубой и вращается вместе с ней.
Вертикальный круг
Вертикальный круг предназначен для измерения вертикальных углов (угол наклона). Состоит из лимба и алидады.
Лимб вертикального круга может иметь разную оцифровку от 0о до 360о по часовой стрелке или против часовой стрелки секторную оцифровку, т.е. от 0о до ±90о, ±75о, ±60о. Лимб вертикального круга скреплен с трубой и вращается вместе с ней.
Алидада вертикального круга обычно снабжена цилиндрическим уровнем для приведения ее нулевых штрихов в горизонтальное положение, в процессе измерения алидада неподвижна.
Отсчетные приспособления
Штриховой микроскоп – это индекс (штрих) на алидаде, при помощи которого берут отсчеты по лимбу.
Шкаловый микроскоп – это вспомогательная шкала на алидаде, длина которой равна минимальному делению основной шкалы лимба. Направление оцифровки основной и вспомогательной шкалы противоположны.

Верньер – это вспомогательная шкала на алидаде n–делений которых соответствует n–1 делению основной шкалы лимба. Направление оцифровки вспомогательной шкалы совпадает с основной.
Отсчет вычисляют по формуле:
A=A0+it.
А0 – отсчет по нулевому указателю Верньера, который был пройден этим указателем от начала лимба и номер штриха Верньера совпадающий со штрихом лимба.
i – номер штриха верньера совпадающий со штрихом лимба
t – точность Верньера.
Подставка геодезических приборов (триер) снабжена тремя подъемными винтами для горизонтирования. Все подвижные части приборов снабжены закрепительными (стопорными) винтами, которые предназначены для фиксирования этих частей в неподвижном положении.
Наводящие (микрометренные) винты предназначены для плавного и медленного поворота частей прибора, работают только при завернутых закрепленных винтах.
Угловые измерения
В геодезии измеряют горизонтальные и вертикальные углы.
Измерение горизонтальных углов, их сущность: пусть на местности закреплена точки А, В, С, находящиеся на разной высоте над уровнем моря. Необходимо измерить горизонтальный угол между АВ и АС местности.
Проведем через А, В, С отвесные линии, которые при пересечении с горизонтальной плоскостью Р дадут их проекции а, в, с.
, лежащий в горизонтальной плоскости будет являться горизонтальным углом. Для получения численного значения горизонтального
необходимо установить угломерный прибор так, чтобы его ось проходила через А в В и С. Установить вешки и взять отсчеты по горизонтальному кругу прибора в' и с'. Значение
равно разности отсчетов:
= в'–с'.
Горизонтальные углы измеряют при помощи горизонтального круга теодолита.
Классификация теодолитов
Теодолиты по точности делятся на:
1. Высокоточные, позволяющие измерять углы со средней квадратической погрешностью 0,5"–1"
2. Точные, СКП 2"–10"
3. Технические, СКП 15"–30"
По материалам изготовления кругов и устройству отсчетных приспособлений Верньер:
1. С металлическими кругами и Верньерами
2. Со стеклянными кругами – отсчетное приспособление – штриховой или школвый микроскоп и оптический микрометр.
По конструкции на:
1. Простые теодолиты, у которых лимб и алидада могут вращаться только отдельно.
2.
Повторительные, у которых лимб и алидада имеют как независимое так и совместное вращение.
По назначению на:
1. Маркшейдерские.
2. Проектировочные
и т.д.
Принципиальная схема теодолита
1- лимб ГК
2- алидада ГК
3- колонки
4- алидада ВК
5- лимб ВК
6- зрительная труба
7- цилиндрический уровень
8- подставка
9- подъемные винты
10- становой винт
II1– основная (вертикальная) ось теодолита
НН1– ось вращения зрительной трубы
Теодолит должен соответствовать определенным оптико–механическим и геометрическим условиям. Оптико–механическое условие гарантирует завод изготовитель, а геометрические условия подвержены изменениям в процессе работы, транспортировки и хранения приборов.
Геометрические условия необходимо проверять после длительного хранения прибора и регулярно во время работы.
Основные геометрические условия теодолита
1. Основная ось теодолита должна быть отвесна
2. Лимб ГК должен быть горизонтален, визирная плоскость не должна быть отвесна. Для соблюдения выполнения этих условий производят поверки теодолита.
Поверки теодолита
Поверка 1.
Ось цилиндрического уровня при алидаде ГК (uu1) должна быть перпендикулярна основной оси теодолита zz1.
Горизонтирование
Уровень устанавливают параллельно двум винтам подставки и их вращением в противоположные стороны приводят пузырек уровня в нуль–пункт. Уровень поворачивают на 180о и проверяют положение пузырька. Если пузырек остался в нуль–пункте или сместился не более чем на одно деление – условие поверки выполнено. В противном случае половину схода устраняют подъемочными винтами подставки, а вторую половину исправительными винтами уровня. Поверку исправления выполняют до тех пор, пока условие ее не будет выполняться.
Перед выполнением остальных поверок теодолит тщательно горизонтируют, т.е. его основную ось приводят в отвесное положение, для этого уровень устанавливают параллельно двум винтам подставки и приводят пузырек в нуль–пункт. Уровень поворачивают на 90о и третьим винтом приводят пузырек в нуль–пункт.
Эти действия повторяют до тех пор, пока при любом положение ампулы пузырек не будет располагаться в нуль–пункте, либо смещаться на одно деление.
Поверка 2.
Визирная ось трубы vv1 должна быть перпендикулярна горизонтальной оси вращения трубы hh1.
Нарушение этого условия ведет к коллимационной ошибки (с).
Для выполнения поверки визируют на удаленную точку и берут отсчеты по лимбу ГК при КЛ и КП. При соблюдении условий отсчеты будут различаться равно на 180о, т.е. КЛ–КП±180о=0
Если условие нарушено вычисляют коллимационную погрешность
, величина которая не должна превышать удвоенной точности отсчетного приспособления с≤2t. При нарушении этого условия производят исправления. Для этого вычисляют полусумму отсчетов
, которую устанавливают по ГК, действую наводящим винтом алидады ГК, при этом сетка нитей сместиться с наблюдаемой точки.
Действую горизонтальными исправительными винтами сетки, совмещают ее центр с наблюдаемой точкой (предварительно ослабляют вертикальные исправительные винты, чтобы дать возможность передвигаться сетки в горизонтальном направлении). После исправления вертикальные винты затягивают.
Поверку исполняют до тех пор, пока не будет выполняться условие.
Поверка 3.
Горизонтальная ось вращения трубы должна быть перпендикулярна к основной оси прибора zz1.
Для выполнения поверки теодолит устанавливают на расстоянии 20–30 м от здания и визируют верхней части стены точку. Трубу опускают до примерно горизонтального положения и на стене фиксируют проекцию центра сетки нитей.
Эти же действия повторяют при другом положении ВК. Если проекции сетки центра совпали или расстояние между ними не превышает ширины биссектора сетки – условие считают выполненным. Нарушение условия говорит о неравенстве подставок зрительной трубы, исправление которой производят на заводе – изготовителе или в специализированных мастерских.
Поверка 4.
Одна из нитей сетки должна быть вертикальна, а вторая горизональна.
Для выполнения поверки визируют на удаленную точку и действуя наводящим винтом алидады и действуя наводящим винтом алидады ГК поварачивают прибор вокруг его оси вращения. Если изображение точки остается на горизонтальной нити сетки – условие считается выполненным, в противном случае сетку исправляют, ослабив горизононтальные и вертикальные исправительные винты, совмещают изображение точки с горизонтальной нитью.
Если производились исправления, то повторяют поверку 2.
Эксцентриситет алидады
В плоскости лимба горизонтального круга имеются три характерных точки:
D – центр круга делений лимба,
A – центр вращения алидады,
L – центр вращения лимба.
В идеальном теодолите все три точки должны совпадать, но в действительности они не совпадают. Несовпадение точки A с точкой D называется эксцентриситетом алидады, несовпадение точки L с точкой D называется эксцентриситетом лимба, несовпадение точек A и L называется эксцентриситетом осей.
Рассмотрим влияние эксцентриситета алидады на отсчеты по лимбу. Отрезок AD называется линейным элементом эксцентриситета алидады и обозначается буквой l.

Некоторые теодолиты имеют два отсчетных устройства, отстоящих одно от другого на 180o. Вследствие эксцентриситета алидады отсчет по одному отсчетному индексу будет меньше правильного отсчета на угол ε:
N'1 = N1 – ε
по другому отсчетному индексу – больше правильного на угол ε:
N'2 = N2 + ε
Средний отсчет будет свободен от влияния эксцентриситета:
N = 0.5*(N1' + N2') = 0.5*(N1 + N2) .
Чтобы получить численное значение эксцентриситета, нужно из отсчета N2' вычесть отсчет N1':
N2' – N1' = N2 – N1 + 2*ε,
но N2 – N1 = 180o, поэтому:
ε = 0.5*(N'2 – N'1 + 180o).
При вращении алидады взаимное положение линейного элемента эксцентриситета алидады и отсчетных индексов изменяется, и величина ошибки отсчета ε' зависит от угла γ:
ε' = ε * sin(γ) .
У теодолитов с односторонним отсчитыванием отсчет по лимбу искажается на величину ε' с одним знаком при КЛ и с другим знаком при КП; в среднем отсчете влияние эксцентриситета исключается.
Из всех ошибок отсчитывания по лимбу, возникающих вследствие нарушения геометрических условий, можно выделить симметричные ошибки, то–есть такие, которые имеют разные знаки при КЛ и КП и влияние которых в среднем отсчете устраняется, и несимметричные ошибки, влияние которых в среднем отсчете не устраняется. К симметричным ошибкам относятся коллимационная ошибка, ошибка из–за неравенства подставок, ошибка эксцентриситета. К несимметричным ошибкам относятся ошибка наклона оси вращения алидады, ошибки делений лимба и некоторые другие.
Способы измерения горизонтальных углов
Перед началом измерения теодолит устанавливают в рабочее положение в вершине угла, а в точках, на которых будет вестись визирование, вертикально устанавливают вешки.
Установка прибора в рабочее положение подразумевает его центрирование, горизонтирование и установка трубы по глазу.
Центрирование – это приведение основной оси теодолита в вершину измеряемого угла. При выполнении работ технической точности центрирование выполняют нитевым отвесом, для этого теодолит на штативе сначала устанавливают на точкой приближенно, стараясь, чтобы верхняя поверхность головки штатива была примерно горизонтальна, ножки штатива закрепляют в пункте. Ослабляют становой винт и перемещением прибора по штативу совмещают острие отвеса с вершиной угла, становой винт затягивают. Точность центрирования 2–5 мм.
Горизонтирование см. поверку 1.
Установка зрительной трубы по глазу см. устройство зрительной трубы.
Способ приемов
Состоит из двух полуприемов, которые выполняются при разных положениях вертикального круга. Для измерения угла в полуприеме закрепляют лимб ГК, открепляют алидаду ГК, визируют на правую точку и, закрепив алидаду, берут отсчет по лимбу ГК. Открепляют алидаду, визируют на левую точку и, закрепив алидаду, берут еще один отсчет. Разность отсчетов даст величину измеряемого угла. Для выполнения второго полуприема трубу переводят через зенит и смещают лимб ГК примерно на 60о, 90о. Выполняют аналогично.
Второй полуприем выполняют для контроля измерения и снижения влияния инструментальных ошибок.
Значения углов в полуприемах должно различаться не более удвоенной точности отсчетного приспособления теодолита. Если условие выполняется за окончательно значение принимают среднее из двух измерений. Для повышения точности измерения можно выполнить несколькими приемами, смещая между ними лимб на величину
, где n – число приемов.
Способ круговых приемов
Применяется в тех случаях, когда нужно измерить углы, между тремя и более направлениям на станции.
Теодолит устанавливают в т.О и приводят его в рабочее положение.
Ориентируют лимб по направлению на какую–либо точку, например А (направляют 0о лимба ГК на точку А).
Для этого открепляют алидаду и ее вращением устанавливают отсчет = 0о, закрепляют ее, открепляют лимб и визируют на точку А, закрепляют.
Открепляют алидаду ее вращением по часовой стрелке последовательно визируют на точку В, С, Д и берут отсчеты по лимбу ГК.
В конце проверяют неподвижность лимба, т.е. визируют снова на точку А и берут отсчет.
Отсчет может изменяться до 2t, эти действия составляют полуприем.
Трубу переводят через зенит и выполняют еще один полуприем при другом положении ВК, но визируя против часов стрелки (т.А–Д–С–А–В).
2С – удвоенная коллимационная погрешность.
Колебание удвоенной коллимационной погрешности 2С, допускается в пределах удвоенной точности отсчетного приспособления (1') теодолита.
Для повышения точности измерения можно выполнить несколькими приемами, переставляя между ними лимб на величину
, где n–число приемов.
Способ повторений
Дает возможность повысить точность измерений за счет уменьшения влияния ошибки отсчитывания.
Прибор приводят в рабочее положения в вершине угла и выполняют измерение в процессе которого последовательно откладывают на лимбе измеряемый угол 2k – раз, k – число повторений.
Предположим, что угол измеряется двумя повторениями.
Ориентируют лимб отсчетом близким к 0, на точку А и записывают этот отсчет (n1).
Открепляют алидаду визируют на точку В и берут контрольный отсчет n2.
Открепляют лимб визирую на точку А, отсчет не берут.
В результате лимб переместился против часовой стрелки на угол β.
Открепляют алидаду визируют на точку В, и снова не берут отсчет. Теперь на лимбе отложен угол =2β.
Если необходимо сделать больше двух повторений, то эти условия продолжают до тех пор, пока на лимбе не будет отложен угол β столько раз сколько нужно повторения.
Далее трубу переводят через зенит, открепляют лимб и визируют на точку А. Отсчте при этом не изменяется. Открепляет алидаду, визируют на точку В, на лимбе отложен угол 3β.
Снова открепляют лимб визируют на точку А, открепляют алидаду, визируют на точку В, на лимбе отложен угол 4β.
Берут отсчет n2. Вычисляют угол β по формуле:
, (k – число повторений) сравнивая его с контрольным.
Измерение вертикальных углов
Методика измерений зависит от конструкции и оцифровки ВК теодолита.
1 способ
Если ВК не имеет уровень при алидаде, то после приведения прибора в рабочее положение, визируют на определяемую точку. Например, при КЛ, наводящим винтом алидады вертикального круга приводят в 0–пункт уровень при ВК и берут отсчет по лимбу ВК.
Трубу переводят через зенит и действия повторяют при другом положении вертикального круга.
Вычисляют вертикальный угол и МО.
Контролем правильности измерений служит постоянство МО, колебания которого могуб быть в пределах удвоенной точности прибора. (МО=const, ∆MO≤2t).
2 способ
В случае, если алидада ВЕ не имеет уровня, и его функции выполняет уровень при алидаде ГК (Т30, 2Т30). Прибор приводят в рабочее положение, предварительно визируют на опредямую точку, подъемным винтом подставки расположенным ближе все к визирной оси, приводят в 0–пункт пузырек уровня при ГК, производят точное визирвание и берут отсчет по вертикальному кругу. Действие повторяют при другом положении ВК.
Вычисляют вертикальный угол и МО, контроль МО=const.
3 способ
Если алидада ВК не имеет уровня и вместо него используется компенсатор (алидада автоматически становится горизонтально).
Порядок измерений:
Прибор приводят в рабочее положение, визируют на определяемую точку и берут отсчет по ВК. Трубу переводят через зенит и действия повторяют. Вычисляют вертикальный угол и МО, МО=const.
Формулы для вычисления вертикального угла и МО
1. от 0º до 360º (лимб) по часовой стрелке:
МО=½(КЛ+КП)
V=КП–МО=МО–КЛ=½(КП–КЛ)
2. от 0º до 360º (лимб) против часовой стрелке (Т30):
МО=½(КЛ+КП+180º)
V=КЛ–Мо=МО–КП–180º=½(КЛ–КП–180º)
| от 0º до ±90º | МО=½(КЛ–КП) |
| от 0º до ±75º от 0º до ±60º | v=КЛ–МО=МО–КП=½(КЛ–КП) |
3.
Место нуля вертикального круга
При нарушении геометрических условий ВК возникает инструментальная ошибка, называется место нуля ВК.
Место нуля – это отсчет по ВК в момент, когда визирная ось трубы горизонтальная, а пузырек уровня при ВК находиться в нуль–пункте.
При соблюдении геометрических условий этот отсчет равен нулю, при нарушении отличается от нуля.
Геометрические условия. Место нуля – величина постоянная для прибора, его колебания может быть в пределах 2t. Желательно чтобы МО≤2t, в противном случаю его исправляют.
Исправление места нуля
Если место нуля получается большим, то при основном положении круга нужно навести трубу на точку и микрометренным винтом алидады установить отсчет, равный углу наклона; при этом пузырек уровня отклонится от нуль–пункта. Исправительными винтами уровня привести пузырек в нуль–пункт.
Измерение угла наклона местности
В точке А устанавливают теодолит. Приводят его в рабочее положение и при помощи рулетки измеряют высоту инструмента i.
i – это расстояние от оси вращения трубы до точки, над которой установлен прибор.
В точке В вертикально устанавливают рейку, на которой отмечают i. Визируют на высоту инструмента и измеряют вертикальный угол, который будет равен углу наклона местности.
Измерение длин линий
Определение расстояния между точками земной поверхности называется линейными измерениями.
Линейные измерения делятся на непосредственные и косвенные.
К непосредственным измерениям относят такие измерения, при которых мерный прибор укладывают непосредственно в створе измеряемой линии.
Створ – вертикальная плоскость, соединяющая начало и конец измеряемой линии.
Если невозможно измерить длину линии непосредственно, прибегают к косвенным измерениям. В этом случае определяемую длину находят как функцию других измеряемых величин.
Для линейных измерений используют механические и физико–оптические мерные приборы.
Механические рулетки:
– Стальные (25–100 м), эти рулетки имеющие метровые, дециметровые сантиметровые и миллиметровые деления;
– Тесьмяные рулетки (10 м) – сантиметровые, дециметровые, миллиметровые. Используются для съема контура местности.
– Стальные мерные ленты (20 м) имеющие метровые, полуметровые, дециметровые деления. В комплект входят шпильки, которые фиксируют концы ленты. Погрешность 1:2000.Используется для линейных измерений в съемках.
– Инварные проволоки (24 м) с десяти сантиметровыми и миллиметровыми шкалами на концах. Измерение производят при помощи подвесного базисного прибора. Применяется для высокоточных линейных измерений. Погрешность 1:1000000.
Достоинства: высокая точность измерений, простота устройства, не высокая стоимость, возможность откладывания проектных длин.
Недостаток: высокая трудоемкость измерений.
Физико–оптические мерные приборы – это различные лазерные, свето–, радио–, оптико–, дальномеры.
Измерения этими приборами основаны на косвенном способе.
Их достоинствами является точность и быстрота измерений, возможность измерения больших расстояний.
Недостатки: невозможность откладывать проектные расстояния, высокая цена, сложность устройства.
Измерение длин линий механическим прибором (на примере мерной ленты)
Для измерения расстояния обычно не достаточно закрепить на местности начало и конец измеряемой линии, необходимо в створе линии установить дополнительные вешки, этот процесс называется провешиванием или вешением линии. Вешение может производиться при помощи теодолита или на глаз.
Для провешивания линии АВ на глаз, в точках А и В закрепляют вешки, наблюдатель становиться возле точки А так, чтобы вешки в точках А и В совпали. Его помощник движется от точки А к точке В и устанавливает в точках 1, 2, …, n дополнительные вешки, руководясь указаниями наблюдателя.
При вешении теодолита в точке А устанавливают теодолит, в точку В вешку. Вертикальная нить сетки совмещают с вешкой в точке В, закрепляют горизонтальный круг и трубу, вспомогательные вешки устанавливают по вертикальной нити сетки.
Если между точками А и В нет прямой видимости, вешение выполняется следующим образом: выбирают две вспомогательные точки, таким образом, чтобы они обе были видны и из точки А и из точки В, и в них устанавливают вешки.
Методом последовательных приближений перемещают вешки из точки D1 в C1, C1 в D2 , D2 в C2 и т.д., до тех пор пока все вешки не будут на одной прямой.
Порядок измерения линий
После провешивания закрепляют точки перегиба местности, попадающие в створ линии. При помощи рулетки измеряют наклонные участки D1, D2, … и углы наклона местности ν1, ν2, ….
Вычисление горизонтальных проекций измеренных расстояний
d1, d2 – горизонтальные проложения:
di=Dicos νi
Общая сумма горизонтального проложения АВ:
d=Σdi
Каждое наклонное расстояние измеряют следующим образом: нулевой штрих ленты прикладывают к началу измеряемой линии, ленту укладывают в створе, встряхивают в горизонтальной и вертикальной плоскостях, натягивают и вставляют шпильку в вырез в конце ленты, снимают ленту со шпильки, одевают на шпильку нулевой вырез ленты и действия повторяют. В конце измеряют длину неполного пролета. Измеренная наклонная длина вычисляется по формуле:
D1=n∙l+r
r – длина неполного пролета
n – число полных проложений ленты
Для контроля длину измеряют в обратном направлении D2, за окончательно значение длины принимают среднее из двух измерений, если разница между ними не превышает 1:2000 от длины линии:

Поправки, вводимые в длины линии, измеренные механическими приборами:
1. За температуру вводят в тех случаях, когда температура измерений отличается от нормально (+20ºС). Номинальную длину мерного прибора определяют при нормальной температуре, его длина увеличивается или уменьшается в зависимости от внешней температуры:
D –измеренная длина
l – длина мерного прибора
α – коэффициент линейного расширения
t – температура измерения
t0 – нормальная температура
2. За наклон линии вводится в тех случаях. Когда угол наклона местности превышает 2º. Иногда необходимо на наклонной поверхности отложить расстояние так, чтобы его горизонтальное проложение было равно заданной величине.
Сначала от точки А откалывают горизонтальные проложения, а затем удлиняют его на поправку:

3. За компарирование – это определение истинной длины мерного приора, при компарировании мерным прибором измеряют заранее известную длину линии и сравнивают результаты измерений с известной величиной, а затем вычисляют поправку мерного прибора. Эта поправка вводиться в том случае если номинальная длина отличается от длины.
Измерение расстояний при помощи физико–оптических мерных приборов
(на примере нитяного дальномера)
Нитяной дальномер это две вспомогательные горизонтальные нити на сетке.
Ход лучей в нитяном дальномере Поле зрения трубы
Определения расстояний нитяным дальномером
Для определения расстояния между точками А и В, над точкой А устанавливают прибор так, чтобы его ось вращения проходила через точку А, а в точке В вертикально устанавливают рейку с сантиметровыми делениям. Предположим, что визирная ось трубы горизонтальна и введем обозначения:
Р – расстояние между дальномерными нитями
σ – расстояние от оси вращения прибора до оптического центра объектива
f – фокусное расстояние объектива
F – передний фокус объектива
n – расстояние по рейке меду дальномерными нитями
Поскольку визирная ось горизонтальна, лучи параллельны ей и проходящие через дальномерные нити пересекут передний фокус объектива и, пройдя его, спроектируются на реку, т.е. в трубу можно будет видеть рейку, и изображение дальномерных нитей. Поскольку на рейке нанесены сантиметровые деления, можно будет определить расстояние между дальномерными нитями по рейке, т.е. взять отсчет n.
Из чертежа видно, что расстояние между точками: d = σ + f + E
σ и f постоянны, для каждого прибора и из можно заменить на постоянное слагаемое:
d = c + E (c=0.1 м)
Е – определяют из подобия треугольников:
Рекомендуем посмотреть лекцию "9 - АСУ и АСУТП как системы управления".

Поскольку f и Р постоянные величины, то их можно заменить коэффициентами дальномера:
Е = kn (k=100)
D = kn + c
Поскольку точность определения расстояния при помощи дальномера ≈ 1:300 от длины линии, слагаемым с можно пренебречь:
D = kn





















