- Гидрораспределители
Гидрораспределители
5.1. Общие сведения
При эксплуатации гидросистем возникает необходимость изменения направления потока рабочей жидкости на отдельных ее участках с целью изменения направления движения исполнительных механизмов машины, требуется обеспечивать нужную последовательность включения в работу этих механизмов, производить разгрузку насоса и гидросистемы от давления и т.п.
Эти и некоторые другие функции могут выполняться специальными гидроаппаратами - направляющими гидрораспределителями.
При изготовлении гидрораспределителей в качестве конструктивных материалов применяют стальное литье, модифицированный чугун, высоко- и низкоуглеродистые марки сталей, бронзу. Для защиты отдельных элементов распределителей от абразивного износа, поверхности скольжения цементируют, азотируют и т.п.
Размеры и масса гидрораспределителей зависят от расхода жидкости через них, с увеличением которого они увеличиваются.
По способу присоединения к гидросистеме гидрораспределители выпускают в трех исполнениях: резьбового, фланцевого и стыкового присоединения. Выбор способа присоединения зависит от назначения гидрораспределителя и расхода через него рабочей жидкости.
По конструкции запорно-регулирующего элемента гидрораспределители подразделяются следующим образом:
Золотниковые (запорно-регулирующим элементом является золотник цилиндрической или плоской формы). В золотниковых гидрораспределителях изменение направления потока рабочей жидкости осуществляется путем осевого смещения запорно-регулирующего элемента.
Рекомендуемые материалы
Крановые (запорно-регулирующим элементом служит кран). В этих гидрораспределителях изменение направления потока рабочей жидкости достигается поворотом пробки крана, имеющей плоскую, цилиндрическую, коническую или сферическую форму.
Клапанные (запорно-регулирующим элементом является клапан). В клапанных распределителях изменение направления потока рабочей жидкости осуществляется путем последовательного открытия и закрытия рабочих проходных сечений клапанами (шариковыми, тарельчатыми, конусными и т.д.) различной конструкции.
По числу фиксированных положений золотника гидрораспределители подразделяются: на двухпозиционные, трехпозиционные и многопозиционные.
По управлению гидрораспределители подразделяются на гидроаппараты с ручным, электромагнитным, гидравлическим или электрогидравлическим управлением. Крановые гидрораспределители используются чаще всего в качестве вспомогательных в золотниковых распределителях с гидравлическим управлением.
5.2. Золотниковые гидрораспределители
Запорно-регулирующим элементом золотниковых гидрораспределителей является цилиндрический золотник 1, который в зависимости от числа каналов (подводов) 3 в корпусе 2 может иметь один, два и более поясков (рис.5.1, а). На схемах гидрораспределители обозначают в виде подвижного элемента, на котором указываются линии связи, проходы и элементы управления. Рабочую позицию подвижного элемента изображают квадратом (прямоугольником), число позиций соответствует числу квадратов (рис.5.1, б).

Рис.5.1. Схема (а) и обозначение (б) гидрораспределителя
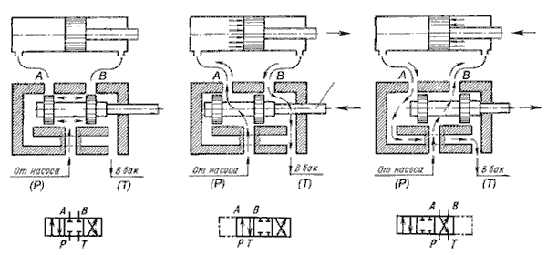
Рассмотрим принцип работы распределителя (рис.5.2). В первой (исходной) позиции все линии А, В , Р и Т, подходящие к распределителю разобщены, т.е. перекрыты (рис.5.2, а). При смещении золотника влево распределитель переходит во вторую позицию, в которой попарно соединены линии Р и А, В и Т (рис.5.2, б). При смещении золотника вправо - в третью, где соединяются линии Р и В, А и Т (рис.5.2, в). Такой распределитель часто называют реверсивным, так как он используется для остановки и изменения направления движения исполнительных органов.

Рис.5.2. Схема работы золотникового гидрораспределителя
В зависимости от числа подводов (линий, ходов) распределители могут быть двухходовые (двухлинейные); трехходовые (трехлинейные), четырех- и многоходовые. В соответствии с этим в обозначениях гидрораспределителей первая цифра говорит о числе подводов. Например, из обозначения гидрораспределителя "4/2" можно понять, что он имеет 4 подвода, т.е. он четырехходовой (четырехлинейный).
Вторая цифра в обозначении говорит о числе позиций. То же обозначение распределителя "4/2" говорит, что у него две позиции.
Примеры обозначения распределителей приведены на рис.5.3.

Рис.5.3. Примеры обозначения типов распределителей
Управление положением золотника распределителя может быть нескольких типов. Подробные способы управления представлены в табл.5.1.
Таблица 5.1
Виды управления распределителями

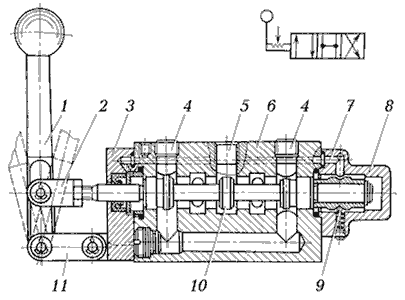
Устройство ручного гидрораспределителя 4/3 и его условного обозначения представлено на рис.5.4. Переключение позиций распределителя осуществляется рукояткой 1, которая при помощи серьги 2 шарнирно присоединяется к золотнику 10. С корпусом 6 рукоятка шарнирно соединена с ушком 11. Для фиксации каждого положения золотника служит шариковый фиксатор 9, помещенный в задней крышке 8. Утечки жидкости по золотнику со стороны передней крышки 3 исключаются манжетным уплотнением. Рабочая жидкость подводится к отверстию 5, а отводится через отверстие 4. Канал 7 дренажный, служит для отвода утечек.
На рис.5.5 изображен гидрораспределитель с электрогидравлическим управлением и его уловное обозначение. Он состоит из основного гидрораспределителя 2 с гидравлическим управлением и вспомогательного гидрораспределителя 1 с электромагнитным управлением. Основной гидрораспределитель управляет потоком рабочей жидкости гидросистемы, а вспомогательный регулирует поток управления. Такие гидрораспределители применяют в гидроприводах с дистанционным и автоматическим управлением при больших расходах и высоком давлении в гидросистеме, когда применение гидрораспределителей с электромагнитным управлением невозможно.

Рис.5.4. Гидрораспределитель с ручным управлением

Рис.5.5. Гидрораспределитель с электрогидравлическим управлением
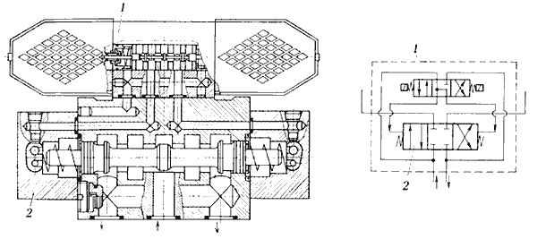
В зависимости от числа золотников гидрораспределители подразделяют на распределители с одним и несколькими золотниками. В последнем случае распределители могту быть моноблочными или секционными. Секции распределителя соединяют между собой болтами. На рис.5.6 представлен моноблочный гидрораспределитель.

Рис.5.6. Общий вид (а) и продольный разрез (б) моноблочного
четырехзолотникового гидрораспределителя
Золотники гидрораспределителя могут выполняться в трех исполнениях (рис.5.7).
Золотники с положительным осевым перекрытием (рис.5.7, а) имеют ширину поясков b больше, чем ширину проточки c или диаметр рабочих окон в корпусе. При нейтральном положении золотника такого гидрорапределителя напорная гидролиния отделена от линий, соединяющих полости гидродвигателя и слива. Величина перекрытия П = (b - c) / 2 зависит от диаметра золотника: при d = 10…12 мм перекрытие принимают равным 1…2 мм; при d до 25 мм - 3…5 мм; при d до 50 мм - 6…8 мм. Золотники с положительным осевым перекрытием позволяют фиксировать положение исполнительного механизма. Недостатком является наличие у них зоны нечувствительности, определяемой величиной осевого перекрытия: в пределах этой зоны при перемещении золотника расход жидкости через гидрораспределитель равен нулю, а исполнительный механизм не движется, несмотря на подаваемый к золотнику сигнал управления.

Рис.5.7. Конструктивные исполнения золотников
Золотники с нулевым осевым перекрытием (рис.5.7, б) имеют ширину пояска b равную ширине проточки c или диаметру рабочих окон, а осевое перекрытие П = 0. Такие золотники не имеют зоны нечувствительности и наилучшим образом удовлетворяют требованиям следящих гидросистем. Однако изготовление таких золотников связано со значительными технологическими трудностями.
Золотники с отрицательным осевым перекрытием (рис.5.7, в), у которых b < c; при нейтральном положении их напорная гидролиния соединена со сливом и с обеими полостями гидродвигателя. При этом жидкость через зазоры непрерывно поступает на слив, а в обеих полостях гидродвигателя устанавливается одинаковое давление. В гидрораспределителях с таким золотником зона нечувствительности сводится к минимуму, но из-за слива рабочей жидкости часть мощности теряется. Кроме этого, гидросистема с таким золотником будет иметь меньшую жесткость, так как из-за перетекания жидкости через начальные зазоры в золотнике будет переходить смещение исполнительного механизма при изменении преодолеваемой нагрузки.
5.3. Крановые гидрораспределители
В крановых гидрораспределителях изменение направления потока рабочей жидкости достигается поворотом пробки, имеющей плоскую, цилиндрическую, сферическую или коническую форму.
На рис.5.8 показана схема включения распространенного кранового распределителя в систему управления силовым цилиндром. Пробка крана имеет два перпендикулярных, но не пересекающихся отверстия. Она может занимать два и больше угловых положения.

Рис.5.8. Схемы включения в гидросистему пробкового крана
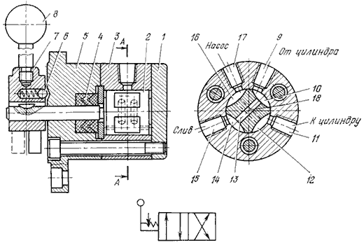
Серийный двухпозиционный крановый гидрораспре-делитель Г71-3 (рис.5.9) с цилиндрической пробкой состоит из корпуса 3, фланца 5, крышки 1, пробки 2, уплотнения 4, ступицы 7, рукоятки 8 и шарикового фиксатора 6. В положении пробки крана, указанном на рисунке, жидкость через отверстие 17 поступает в камеру 16; из нее через канал 18 в пробке крана (показан пунктиром) - в камеру 12 и далее через отверстие 11 в корпусе к гидродвигателю или к другому управляемому объекту. Из другой полости гидродвигателя жидкость поступает в отверстие 9, далее в камеру 10 и через канал 13 в камеру, которая отверстием 15 в корпусе крана соединена со сливом. При повороте пробки крана по часовой стрелке на угол 45 происходит изменение направления потока рабочей жидкости.

Рис.5.9. Крановый гидрораспределитель и его условное обозначение
Герметичность кранового гидрораспределителя обеспечивается за счет притирки пробки к корпусу крана. Для кранов с цилиндрической пробкой зазор между пробкой и корпусом принимают равным 0,01…0,02 мм. В этих кранах вследствие износа пробки и корпуса зазор между ними, а следовательно, и утечка рабочей жидкости с течением времени увеличиваются, что является недостатком такого кранового распределителя. Такого недостатка нет в крановых гидрораспределителях с конической пробкой.
Крановые гидрораспределители чаще всего применяют в качестве вспомогательных в золотниковых гидрораспре- делителях с гидравлическим управлением.
5.4. Клапанные гидрораспределители
В гидросистемах некоторых машин применяют также клапанные распределители, которые просты в изготовлении и надежны в эксплуатации, а также могут обеспечить высокую герметичность.
Затвора клапанов приводят в действие ручными, механическими и электротехническими устройствами. Из ручных устройств наиболее распространены клапаны с качающимся рычагом, схема которого для питания одной полости гидродвигателя приведена на рис.5.10, а.

Вместе с этой лекцией читают "23. Бюджет информационного агентства".
Рис.5.10. Клапанные распределители:
а, б - с качающимся рычагом; в - с кулачковым приводом;
г - с электромагнитным приводом
В клапанном распределителе (см.рис.5.10, а) в нейтральном (среднем) положении качающегося рычага 1 оба клапана 2 и 3 находятся в своих гнездах; в этом положении клапанов канал b гидродвигателя отсоединен как от канала a, связанного с насосом, так и от канала c, связанного с баком. При повороте рычага 1 вправо с гидродвигателем соединяется канал a насоса, при повороте влево - канал c бака.
Схема четырехходового клапанного распределителя представлена на рис.5.10, б. При повороте рукоятки 1 перемещается та или другая пары клапанов 2 или 3, обеспечивая подвод (отвод) жидкости к соответствующей полости силового цилиндра 4.
Распространены также клапаны с кулачковым приводом (рис.5.10, в). На валике 3 находятся четыре кулачка 2, соответствующим образом ориентированные один относительно другого. При повороте валика кулачки воздействуют на штоки соответствующего конусного затвора 1, обеспечивая подвод рабочей жидкости в полости илового цилиндра 5 и ее отвод. В положении, показанном на рассматриваемом рисунке, жидкость от канала, связанного с насосом, поступает через открытый (утопленный) затвор 4 в левую полость силового цилиндра 5 и удаляется в бак из правой полости цилиндра через клапан. Остальные два затвора находятся в своих седлах. При повороте валика вступают в действие эти затворы, обеспечивая подвод жидкости в правую полость цилиндра 5 и отвод ее из левой полости.
На рис.5.10, г представлена схема трехпозиционного клапанного распределителя прямого действия с двумя клапанами 1 и 4, управляемыми электромагнитами 2 и 3. При выключенных электромагнитах оба клапана прижаты пружинами к своим седлам. При этом магистраль нагнетания перекрыта, а полости гидродвигателя соединены со сливом.
При включении электромагнита 2 клапан 1, сжимая пружину, переместится в крайнее левое положение и прижмется к левому седлу. В этом положении одна из полостей потребителя соединится с напорной магистралью. При включенном электромагните 3 и выключенном электромагните 2 сработает клапан 4, соединив вторую полость потребителя с магистралью нагнетания.























