- Гидроцилиндры
Гидроцилиндры
В качестве исполнительных механизмов (гидродвигателей) применяются силовые цилиндры, служащие для осуществления возвратно-поступательных прямолинейных и поворотных перемещений исполнительных механизмов. Гидроцилиндры подразделяются на поршневые, плунжерные мембранные и сильфонные.
4.1. Механизмы с гибкими разделителями
К механизмам с гибкими разделителями относятся мембраны, мембранные гидроцилиндры и сильфоны.
Мембраны (рис.4.1, а) применяют в основном при небольших перемещениях и небольших давлениях (до 1 МПа). Мембранный исполнительный механизм представляет собой защемленное по периферии корпуса эластичное кольцо 1. При увеличении давления в подводящей камере 2 эластичное кольцо прижимается к верхней части корпуса 3, и шток 4, связанный с эластичным кольцом выдвигается. Обратный ход штока обеспечивает пружина 5.

Рис.4.1. Схемы мембран:
а - плоская с эластичным кольцом; б - гофрированная металлическая
В гидропневмоавтоматике распространены также гофрированные металлические мембраны (рис.4.1, б). Деформация таких мембран происходит за счет разности давлений ΔP = P1 - P2 и внешней нагрузки R.
Мембранные гидроцилиндры (рис.4.2) допускают значительны перемещения выходного звена - штока. При перемещении поршня 1 в направлении действия давления жидкости (рис.4.2, а) мембрана 3 перегибается, перекатываясь со стенок поршня 1 на стенки цилиндра 2, к которым она плотно поджимается давлением жидкости (рис.4.2, б). Обратный ход поршня происходит за счет пружины.
Рекомендуемые материалы

Рис.4.2. Схемы работы мембранного гидроцилиндра
Сильфоны (рис.4.3, а) предназначены для работы при небольших давлениях (до 3 МПа). Их изготавливают из металлов и неметаллических материалов (резины или пластиков). Металлические сильфоны бывают одно- и многослойные (до пяти слоев). Применение сильфонов оправдано в условиях высоких и низких температур, значение которых лимитируется материалом, из которого изготовлен сильфон. Сильфоны могут быть цельные или сварные. Цельные изготавливают развальцовкой тонкостенной бесшовной трубы.

Рис.4.3. Схема металлического сильфона
а - сильфон; б - цельная стенка; в - сварная стенка
4.2. Классификация гидроцилиндров
Гидроцилиндры являются объемными гидромашинами и предназначены для преобразования энергии потока рабочей жидкости механическую энергию выходного звена. Гидроцилиндры работают при высоких давлениях (до 32 МПа), их изготовляют одностороннего и двухстороннего действия, с односторонним и двухсторонним штоком и телескопические.
Таблица 4.1
Классификация гидроцилиндров

4.3. Гидроцилиндры прямолинейного действия
Для привода рабочих органов мобильных машин наиболее широко применяют поршневые гидроцилиндры двухстороннего действия с односторонним штоком (рис.4.4).
Основой конструкции является гильза 2, представляющая собой трубу с тщательно обработанной внутренней поверхностью. Внутри гильзы перемещается поршень 6, имеющий резиновые манжетные уплотнения 5, которые предотвращают перетекание жидкости из полостей цилиндра, разделенных поршнем. Усилие от поршня передает шток 3, имеющий полированную поверхность. Для его направления служит грундбукса 8. С двух сторон гильзы укреплены крышки с отверстиями для подвода и отвода рабочей жидкости. Уплотнение между штоком и крышкой состоит из двух манжет, одна из которых предотвращает утечки жидкости из цилиндра, а другая служит грязесъемником 1. Проушина 7 служит для подвижного закрепления гидроцилиндра. На нарезанную часть штока крепится проушина или деталь, соединяющая гидроцилиндр с подвижным механизмом.

Рис.4.4. Гидроцилиндр:
1 - грязесъемник; 2 - гильза; 3 - шток; 4 - стопорное кольцо; 5 - манжета;
6 - поршень; 7 - проушина; 8 - грундбукса
У нормализованных цилиндров, применяющихся в строительных машинах, диаметр штока составляет в среднем 0,5 D, ход поршня не превосходит 10D. При большей величине хода и давлениях, превышающих 20 МПа, шток следует проверять на устойчивость от действия продольной силы.
Для уменьшения потерь давления диаметры проходных отверстий в крышках цилиндра для подвода рабочей жидкости назначают из расчета, чтобы скорость жидкости составляла в среднем 5 м/с, но не выше 8 м/с.
Ход поршня ограничивается крышками цилиндра. В некоторых случая она достигает 0,5 м/с. Жесткий удар поршня о крышку в гидроцилиндрах строительных машин предотвращают демпферы (тормозные устройства). Принцип из действия большинства из них основан на запирании небольшого объема жидкости и преобразования энергии движущихся масс в механическую энергию жидкости. Из запертого объема жидкость вытесняется через каналы малого сечения.
На рис.4.5. представлены типичные схемы демпферных устройств. Пружинный демпфер (рис.4.5, а) представляет собой пружину 1, установленную на внутренней стороне крышки цилиндра 2, тормозящую поршень 3 в конце хода.
Демпфер с ложным штоком (рис.4.5, б) представляет собой короткий ложный шток 1 и выточку 2 в крышке цилиндра. Ложный шток может иметь коническую или цилиндрическую форму. В конце хода поршня жидкость запирается ложным штоком в выточке крышки цилиндра и вытесняется оттуда через узкую кольцевую щель. Если ложный шток выполнен в виде конуса, то эта щель уменьшается по мере достижения поршнем конца своего хода. При этом сопротивление движению жидкости возрастает, а инерция, ускорение и скорость движения поршня уменьшаются.
Регулируемый демпфер с отверстием (рис.4.5, в) по принципу действия аналогичен демпферу с ложным штоком. Конструктивное отличие заключается в том, что запираемая в выточке крышки цилиндра жидкость вытесняется через канал 1 малого сечения, в котором установлена игла 2 для регулирования проходного сечения отверстия.
Гидравлический демпфер (рис.4.5, г) применяется в том случае, когда конструкцией гидроцилиндра не может быть предусмотрено устройство выточки. В гидравлическом демпфере в конце хода поршня стакан 1 упирается в крышку цилиндра, а жидкость вытесняется из полости 2 через кольцевой зазор между стаканом 1 и поршнем 3. Пружина 4 возвращает стакан в исходное положение при холостом ходе поршня.

Рис.4.5. Принципиальные схемы демпферов:
а - пружинный демпфер; б - демпфер с ложным штоком;
в - демпфер регулируемый с отверстием; г - гидравлический демпфер
4.4. Расчет гидроцилиндров
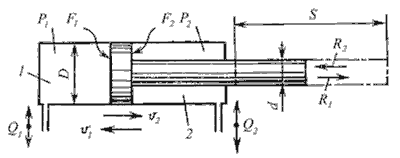
Основными параметрами поршневого гидроцилиндра являются: диаметры поршня D и штока d, рабочее давление P, и ход поршня S.
Рассмотрим поршневой гидроцилиндр с односторонним штоком (рис.4.6). По основным параметрам можно определить следующие зависимости:
площадь поршня в поршневой полости 1 и в штоковой полости 2 соответственно

усилие, развиваемое штоком гидроцилиндра при его выдвижении и втягивании соответственно

где kтр = 0,9…0,98 - коэффициент, учитывающий потери на трение;
скорости перемещения поршня


Рис.4.6. Основные и расчетные параметры гидроцилиндра
Расчеты на прочность. Прочностными расчетами определяют толщину стенок цилиндра, толщину крышек (головок) цилиндра, диаметр штока, диаметр шпилек или болтов для крепления крышек.
В зависимости от соотношения наружного DН и внутреннего D диаметров цилиндры подразделяют на толстостенные и тонкостенные. Толстостенными называют цилиндры, у которых DН / D > 1,2, а тонкостенными - цилиндры, у которых DН / D
1,2.
Толщину стенки однослойного толстостенного цилиндра определяют по формуле:

где Pу - условное давление, равное (1,2…1,3)P ; [σ] - допускаемое напряжение на растяжение, Па (для чугуна 2,5 107, для высокопрочного чугуна 4 107, для стального литья (8…10) 107, для легированной стали (15…18) 107, для бронзы 4,2 10 7); μ - коэффициент поперечной деформации (коэффициент Пуассона), равный для чугуна 0, для стали 0,29; для алюминиевых сплавов 0,26…0,33; для латуни 0,35.
Толщину стенки тонкостенного цилиндра определяют по формуле:

К определенной по формулам толщине стенки цилиндра прибавляется припуск на обработку материала. Для D = 30…180 мм припуск принимают равным 0,5…1 мм.
Толщину крышки цилиндра определяют по формуле:

где dк - диаметр крышки.
Диаметр штока, работающего на растяжение и сжатие соответственно

где [σр] и [σ с] - допускаемы напряжения на растяжение и сжатие штока;
Штоки, длина которых больше 10 диаметров ("длинные" штоки), работающие на сжатие, рассчитывают на продольный изгиб по формуле Эйлера

где σкр - критическое напряжение при продольном изгибе; f - площадь поперечного сечения штока;
Диаметр болтов для крепления крышек цилиндров

где n - число болтов.
4.5. Поворотные гидроцилиндры
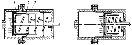
Для возвратно-поворотных движений приводимых узлов на угол, меньший 360 , применяют поворотные гидроцилиндры (рис.4.7.), которые представляют собой объемный гидродвигатель с возвратно-поворотным движением выходного звена.

Рис.4.7. Поворотный однолопастной гидроцилиндр:
а - схема; б - общий вид
Поворотный гидроцилиндр состоит из корпуса 1, и поворотного ротора, представляющего собой втулку 2, несущую пластину (лопасть) 3. Кольцевая полость между внутренней поверхностью цилиндра и ротором разделена уплотнительной перемычкой 4 с пружинящим поджимом к ротору уплотнительного элемента 5.
При подводе жидкости под давлением Pр в верхний канал (см. рис.4.7, а) пластина 3 с втулкой 2 будет поворачиваться по часовой стрелке. Угол поворота вала цилиндра с одной рабочей пластиной обычно не превышает 270…280 .
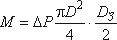
Расчетный крутящий момент М на валу рассматриваемого гидроцилиндра с одной пластиной равен произведению силы R на плечо а приложения этой силы (расстояние от оси вращения до центра давления рабочей площади пластины)
M = Ra
Усилие R определяется произведением действующего на лопасть перепада давлений на рабочую площадь пластины F
R = ΔPF = ( Pр - Pсл ) F
Из рис.4.7, а видно, что рабочая площадь пластины

где b - ширина пластины.
Плечо приложения силы

В соответствии с этим расчетный крутящий момент

Угловая скорость ω вращения вала

Фактические момент MФ и угловая скорость ф будут меньше расчетных в связи с наличием потерь трения и утечек жидкости, характеризуемых механическим м и объемным об КПД гидроцилиндра:

Применяются также и многопластинчатые поворотные гидроцилиндры (рис.4.8), которые позволяют увеличить крутящий момент, однако угол поворота при этом уменьшится. Момент и угловая скорость многопластинчатого гидроцилиндра:

где z - число пластин.

Рис.4.8. Поворотные гидроцилиндры:
а - двухлопастной; б - трехлопастной
Для преобразования прямолинейного движения выходного звена гидроцилиндра 1 в поворотное исполнительного механизма 2 применяют речно-шестеренные механизмы (рис.4.9). Без учета сил трения крутящий момент на валу исполнительного механизма равен

24. Французская пресса в годы Второй мировой войны - лекция, которая пользуется популярностью у тех, кто читал эту лекцию.
а угловая скорость вращения

где DЗ - диаметр делительной окружности шестерни.

Рис.4.9. Речно-шестеренный механизм 4.10. Условное обозначение
поворотного гидроцилиндра























