- Общая характеристика привода
Общая характеристика привода
1.1. Структурная схема гидропривода
Гидроприводом называется совокупность устройств, предназначенных для приведения в движение механизмов и машин посредством рабочей жидкости, находящейся под давлением, с одновременным выполнением функций регулирования и реверсирования скорости движения выходного звена гидродвигателя.
Гидроприводы могут быть двух типов: гидродинамические и объемные. В гидродинамических приводах используется в основном кинетическая энергия потока жидкости. В объемных гидроприводах используется потенциальная энергия давления рабочей жидкости.
Объемный гидропривод состоит из гидропередачи, устройств управления, вспомогательных устройств и гидролиний (рис.1.1).

Рис.1.1. Схема объемного гидропривода
Объемная гидропередача, являющаяся силовой частью гидропривода, состоит из объемного насоса (преобразователя механической энергии приводящего двигателя в энергию потока рабочей жидкости) и объемного гидродвигателя (преобразователя энергии потока рабочей жидкости в механическую энергию выходного звена).
В состав некоторых объемных гидропередач входит гидроаккумулятор (гидроемкости, предназначенные для аккумулирования энергии рабочей жидкости, находящейся под давлением, с целью последующего ее использования для приведения в работу гидродвигателя). Кроме того, в состав гидропередач могут входить также гидропреобразователи - объемные гидромашины для преобразования энергии потока рабочей жидкости с одними значениями давления P и расхода Q в энергию другого потока с другими значениями P и Q.
Рекомендуемые материалы
Устройства управления предназначены для управления потоком или другими устройствами гидропривода. При этом под управлением потоком понимается изменение или поддержание на определенном уровне давления и расхода в гидросистеме, а также изменение направления движения потока рабочей жидкости. К устройствам управления относятся:
гидрораспределители, служащие для изменения направления движения потока рабочей жидкости, обеспечения требуемой последовательности включения в работу гидродвигателей, реверсирования движения их выходных звеньев и т.д.;
регуляторы давления (предохранительный, редукционный, переливной и другие клапаны), предназначенные для регулирования давления рабочей жидкости в гидросистеме;
регуляторы расхода (делители и сумматоры потоков, дроссели и регуляторы потока, направляющие клапаны), с помощью которых управляют потоком рабочей жидкости;
гидравлические усилители, необходимые для управления работой насосов, гидродвигателей или других устройств управления посредством рабочей жидкости с одновременным усилением мощности сигнала управления.
Вспомогательные устройства обеспечивают надежную работу всех элементов гидропривода. К ним относятся: кондиционеры рабочей жидкости (фильтры, теплообменные аппараты и др.); уплотнители, обеспечивающие герметизацию гидросистемы; гидравлические реле давления; гидроемкости (гидробаки и гидроаккумуляторы рабочей жидкости) и др.
Состав вспомогательных устройств устанавливают исходя из назначения гидропривода и условий, в которых он эксплуатируется.
Гидролинии (трубы, рукава высокого давления, каналы и соединения) предназначены для прохождения рабочей жидкости по ним в процессе работы объемного гидропривода. В зависимости от своего назначения гидролинии, входящие в общую гидросистему, подразделяются на всасывающие, напорные, сливные, дренажные и гидролинии управления.
1.2. Классификация и принцип работы гидроприводов
В зависимости от конструкции и типа входящих в состав гидропередачи элементов объемные гидроприводы можно классифицировать по нескольким признакам.
1. По характеру движения выходного звена гидродвигателя:
гидропривод вращательного движения (рис.1.2, а), когда в качестве гидродвигателя применяется гидромотор, у которого ведомое звено (вал или корпус) совершает неограниченное вращательное движение;
гидропривод поступательного движения (рис.1.2, б, в), у которого в качестве гидродвигателя применяется гидроцилиндр - двигатель с возвратно-поступательным движением ведомого звена (штока поршня, плунжера или корпуса);
гидропривод поворотного движения (рис.1.2, г), когда в качестве гидродвигателя применен поворотный гидроцилиндр, у которого ведомое звено (вал или корпус) совершает возвратно-поворотное движение на угол, меньший 360 .
2. По возможности регулирования:
регулируемый гидропривод, в котором в процессе его эксплуатации скорость выходного звена гидродвигателя можно изменять по требуемому закону. В свою очередь регулирование может быть дроссельным (рис.1.2, б, г), объемным (рис.1.2, а), объемно-дроссельным или изменением скорости двигателя, приводящего в работу насос. Регулирование может быть ручным или автоматическим. В зависимости от задач регулирования гидропривод может быть стабилизированным, программным или следящим. Регулированию гидропривода будет посвящена отдельная лекция;
нерегулируемый гидропривод, у которого нельзя изменять скорость движения выходного звена гидропередачи в процессе эксплуатации.
3. По схеме циркуляции рабочей жидкости:
гидропривод с замкнутой схемой циркуляции (рис.1.2, а), в котором рабочая жидкость от гидродвигателя возвращается во всасывающую гидролинию насоса. Гидропривод с замкнутой циркуляцией рабочей жидкости компактен, имеет небольшую массу и допускает большую частоту вращения ротора насоса без опасности возникновения кавитации, поскольку в такой системе во всасывающей линии давление всегда превышает атмосферное. К недостаткам следует отнести плохие условия для охлаждения рабочей жидкости, а также необходимость спускать из гидросистемы рабочую жидкость при замене или ремонте гидроаппаратуры;
гидропривод с разомкнутой системой циркуляции (рис.1.2, б, в, г), в котором рабочая жидкость постоянно сообщается с гидробаком или атмосферой. Достоинства такой схемы - хорошие условия для охлаждения и очистки рабочей жидкости. Однако такие гидроприводы громоздки и имеют большую массу, а частота вращения ротора насоса ограничивается допускаемыми (из условий бескавитационной работы насоса) скоростями движения рабочей жидкости во всасывающем трубопроводе.
4. По источнику подачи рабочей жидкости: насосные гидроприводы, в которых рабочая жидкость подается в гидродвигатели насосами, входящих в состав этих гидроприводов;
аккумуляторные гидроприводы, в которых рабочая жидкость подается в гидродвигатели из гидроаккумуляторов, предварительно заряженных от внешних источников, не входящих в состав данных гидроприводов;
магистральные гидроприводы, в которых рабочая жидкость подается к гидродвигателям от специальной магистрали, не входящей в состав этих приводов.
5. По типу приводящего двигателя гидроприводы могут быть с электроприводом, приводом от ДВС, турбин и т.д.
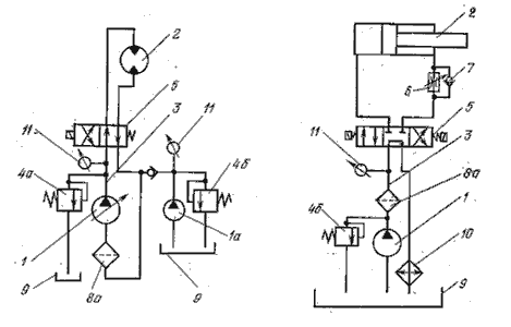
Принцип работы объемного гидропривода основан на законе Паскаля, по которому всякое изменение давления в какой-либо точке покоящейся жидкости, не нарушающее ее равновесия, передается в остальные ее точки без изменения (рис.1.2).
Насосом 1 рабочая жидкость подается в напорную гидролинию 3 и далее через распределитель 5 к гидродвигателю 2. При одном положении гидрораспределителя совершается рабочий ход гидродвигателя, а при другом положении - холостой. Из гидродвигателя жидкость через распределитель поступает в сливную гидролинию и далее или в гидробак 9, или во всасывающую гидролинию насоса (в гидроприводах с замкнутой схемой циркуляции рабочей жидкости, см. рис.1.2, а). В резервуаре жидкость охлаждается и снова поступает в гидросистему. Надежная работа гидропривода возможна только при соответствующей очистке рабочей жидкости фильтрами 8.
Регулирование скорости движения выходного звена гидродвигателя может быть дроссельным или объемным. При дроссельном регулировании в гидросистеме устанавливаются нерегулируемые насосы, а изменение скорости движения выходного звена достигается изменением расхода рабочей жидкости через дроссель 6. При объемном регулировании скорость движения выходного звена гидродвигателя изменяется подачей регулируемого насоса либо за счет применения регулируемого гидромотора.
Защита гидросистемы от чрезмерного повышения давления обеспечивается предохранительным 4а или переливным 4б клапанами, которые настраиваются на максимально допустимое давление. Если нагрузка на гидродвигатель возрастает сверх установленной, то весь поток рабочей жидкости будет идти через предохранительный или переливной клапаны, минуя гидродвигатель. Контроль за давлением на отдельных участках гидросистемы осуществляется по манометрам 11.
Работа гидроагрегатов сопровождается утечками рабочей жидкости. В гидросистемах с замкнутой циркуляцией утечки компенсируются специальным подпитывающим насосом 1а (рис.1.2, а).


Ри.1.2. Варианты принципиальных схем гидроприводов:
а - с объемным регулированием; б - с дроссельным регулированием;
в - нерегулируемый; г - с дроссельным регулированием рабочего и холостого ходов
1.3. Преимущества и недостатки гидропривода
Широкое распространение гидропривода объясняется тем, что этот привод обладает рядом преимуществ перед другими видами приводов машин. Вот основные из них.
1. Бесступенчатое регулирование скорости движения выходного звена гидропередачи и обеспечение малых устойчивых скоростей. Минимальная угловая скорость вращения вала гидромотора может составлять 2…3 об/мин.
2. Небольшие габариты и масса. Время разгона, благодаря меньшему моменту инерции вращающихся частей не превышает долей секунды в отличие от электродвигателей, у которых время разгона может составлять несколько секунд.
3. Частое реверсирование движения выходного звена гидропередачи. Например, частота реверсирования вала гидромотора может быть доведена до 500, а штока поршня гидроцилиндра даже до 1000 реверсов в минуту. В этом отношении гидропривод уступает лишь пневматическим инструментам, у которых число реверсов может достигать 1500 в минуту.
4. Большое быстродействие и наибольшая механическая и скоростная жесткость. Механическая жесткость - величина относительного позиционного изменения положения выходного звена под воздействием изменяющейся внешней нагрузки. Скоростная жесткость - относительное изменение скорости выходного звена при изменении приложенной к нему нагрузки.
5. Автоматическая защита гидросистем от вредного воздействия перегрузок благодаря наличию предохранительных клапанов.
6. Хорошие условия смазки трущихся деталей и элементов гидроаппаратов, что обеспечивает их надежность и долговечность. Так, например, при правильной эксплуатации насосов и гидромоторов срок их службы доведен в настоящее время до 5…10 тыс. ч работы под нагрузкой. Гидроаппаратура может не ремонтироваться в течение долгого времени (до 10…15 лет).
7. Простота преобразования вращательного движения в возвратно-поступательное и возвратно-поворотные без применения каких-либо механических передач, подверженных износу.
Говоря о преимуществах гидропривода, следует отметить простоту автоматизации работы гидрофицированных механизмов, возможность автоматического изменения их режимов работы по заданной программе.
Гидроприводу присущи и недостатки, которые ограничивают его применение. Основные из них следующие.
Бесплатная лекция: "7. Культура как антропологический феномен" также доступна.
1. Изменение вязкости применяемых жидкостей от температуры, что приводит к изменению рабочих характеристик гидропривода и создает дополнительные трудности при эксплуатации гидроприводов (особенно при отрицательных температурах).
2. Утечки жидкости из гидросистем, которые снижают КПД привода, вызывают неравномерность движения выходногозвена гидропередачи, затрудняют достижение устойчивой скорости движения рабочего органа при малых скоростях.
3. Необходимость изготовления многих элементов гидропривода по высокому классу точности для достижения малых зазоров между подвижными и неподвижными деталями, что усложняет конструкцию и повышает стоимость их изготовления.
4. Взрыво- и огнеопасность применяемых минеральных рабочих жидкостей.
5. Невозможность передачи энергии на большие расстояния из-за больших потерь на преодоление гидравлических сопротивлений и резкое снижение при этом КПД гидросистемы.
Со многими из этих недостатков можно бороться. Например, стабильность вязкости при изменении температуры достигается применением синтетических рабочих жидкостей. Окончательный выбор типа привода устанавливается при проектировании машин по результатам технико-экономических расчетов с учетом условий работы этих машин. Гидропривод, тем не менее, имеет преимущества по сравнению с другими типами приводов там, где требуется создание значительной мощности, быстродействие, позиционная точность исполнительных механизмов, компактность, малая масса, высокая надежность работы и разветвленность привода.





















