Характеристики центробежных насосов
Характеристики центробежных насосов
Напором насоса Н называется приращение удельной энергии жидкости при движении жидкости через насос. Напор измеряют метрами столба подаваемой жидкости.
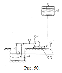
ля определения приращения удельной энергии (напора) рассмотрим работу насоса по перекачке жидкости из резервуара А в резервуар Б (рис. 50).
За плоскость сравнения примем свободную поверхность жидкости в резервуаре А, тогда удельная энергия ее при входе в насос определится по формуле
,
![]() |
где
– скорость жидкости при входе в насос, м/сек;
– абсолютное давление жидкости в месте входа ее в насос, кгс/м2; у- удельный вес жидкости, кгс/м3;
– расстояние по вертикали от места измерения давления до уровня жидкости в резервуаре А. Удельная энергия жидкости при выходе из насоса (в напорном патрубке) равна
,
Рекомендуемые материалы
где
– скорость в напорном патрубке, м/сек;
– абсолютное давление в напорном патрубке при выходе из насоса, кгс/м2.
Итак, приращение удельной энергии или полный напор можно определить по формуле
. (170)
Разрежение на входе в насос измеряется вакуумметром, обычно в кгс/см2 (или в мм рт. ст). В пересчете на м вод. ст. данной жидкости абсолютное давление на входе в насос равно
, (171)
где
– атмосферное давление, кгс/см2;
– показания вакуумметра, кгс/см2; 10 000 – переводный множитель (1 кгс/см2 = 10 000 кгс/м2).
Давление на выходе из насоса
измеряется манометром, поэтому абсолютное давление на выходе равно
, (172)
где
– показание манометра, кгс/см2 .
Подставляя полученные значения
и
в уравнение напора (170), получим

Для воды
кгс/м3, тогда

или
, (172)
где
и
– соответственно показания манометра и вакуумметра в метрах столба жидкости, приведенные к оси насоса.
При вычислении полного напора насоса следует учитывать расстояние по вертикали между точкой присоединения вакуумметра и осью стрелки манометра.
Например, для установки, показанной на рис. 51, напор насоса выразится следующим уравнением:
, (173)
Рекомендация для Вас - 5. Автоматизация добычных процессов.
а для установки, показанной на рис. 52,
. (174)
Чтобы определить потребный напор насоса для вновь проектируемой установки, пользуются следующим уравнением:
, (175)
где
– геометрическая высота всасывания, м;
– геометрическая высота нагнетания, м;
– потери напора во всасывающем трубопроводе, м;
– потери напора в нагнетательном трубопроводе, м.
























