Бесштанговые скважинные насосные установки
4. Бесштанговые скважинные насосные установки
В УШСН наиболее ответственное и слабое звено-колонна насосных штанг — проводник энергии от привода, расположенного на поверхности.
В связи с этим разработаны насосные установки с переносом привода (первичного двигателя) в скважину к насосу. К ним относятся установки погружных центробежных, винтовых и диафрагменных электронасосов. Электроэнергия в этом случае подается по кабелю, закрепленному на НКТ. Имеются глубинные насосы, например, гидропоршневые, струйные, которые используют энергию потока рабочей жидкости, подготовленной на поверхности и подаваемой в скважину по трубопроводу (НКТ).
4.1. УСТАНОВКИ ПОГРУЖНЫХ ЭЛЕКТРОЦЕНТРОБЕЖНЫХ НАСОСОВ (УЭЦН)
Область применения УЭЦН — это высокодебитные обводненные, глубокие и наклонные скважины с дебитом 10 ¸ 1300 м3/сут и высотой подъема 500 ¸ 2000 м. Межремонтный период УЭЦН составляет до 320 суток и более.
Установки погружных центробежных насосов в модульном исполнении типов УЭЦНМ и УЭЦНМК предназначены для откачки продукции нефтяных скважин, содержащих нефть, воду, газ и механические примеси. Установки типа УЭЦНМ имеют обычное исполнение, а типа УЭЦНМК — коррозионностойкое.
Установка (рисунок 24) состоит из погружного насосного агрегата, кабельной линии, спускаемой в скважину на насосно-компрессорных трубах, и наземного электрооборудования (трансформаторной подстанции).
Погружной насосный агрегат включает в себя двигатель (электродвигатель с гидрозащитой) и насос, над которым устанавливают обратный и сливной клапаны.
В зависимости от максимального поперечного габарита погружного агрегата установки разделяют на три условные группы — 5; 5А и 6:
Рекомендуемые материалы
· установки группы 5 поперечным габаритом 112 мм применяют в скважинах с колонной обсадных труб внутренним диаметром не менее 121.7 мм;
· установки группы 5А поперечным габаритом 124 мм — в скважинах внутренним диаметром не менее 130 мм;
· установки группы 6 поперечным габаритом 140.5 мм — в скважинах внутренним диаметром не менее 148.3 мм.
Условия применимости УЭЦН по перекачиваемым средам: жидкость с содержанием механических примесей не более 0.5 г/л, свободного газа на приеме насоса не более 25 %; сероводорода не более 1.25 г/л; воды не более 99 %; водородный показатель (рН) пластовой воды в пределах 6 ¸ 8.5. Температура в зоне размещения электродвигателя не более + 90 ˚С (специального теплостойкого исполнения до + 140 ˚С).
Пример шифра установок — УЭЦНМК5-125-1300 означает: УЭЦНМК — установка электроцентробежного насоса модульного и коррозионно-стойкого исполнения; 5 — группа насоса; 125 — подача, м3/сут; 1300 — развиваемый напор, м вод. ст.

Рисунок 24 — Установка погружного центробежного насоса
1 — оборудование устья скважин; 2 — пункт подключательный выносной; 3 — трансформаторная комплексная подстанция; 4 — клапан спускной; 5 — клапан обратный; 6 — модуль-головка; 7 — кабель; 8 — модуль-секция; 9 — модуль насосный газосепараторный; 10 — модуль исходный; 11 — протектор; 12 — электродвигатель; 13 — система термоманометрическая.
На рисунке 24 представлена схема установки погружных центробежных насосов в модульном исполнении, представляющая новое поколение оборудования этого типа, что позволяет индивидуально подбирать оптимальную компоновку установки к скважинам в соответствии с их параметрами из небольшого числа взаимозаменяемых модулей.Установки (на рисунке 24 — схема НПО «Борец», г. Москва) обеспечивают оптимальный подбор насоса к скважине, что достигается наличием для каждой подачи большого количества напоров. Шаг напоров установок составляет от 50 ¸ 100 до 200 ¸ 250 м в зависимости от подачи в интервалах, указанных в таблице 6 основных данных установок.
Выпускаемые серийно УЭЦН имеют длину от 15.5 до 39.2 м и массу от 626 до 2541 кг в зависимости от числа модулей (секций) и их параметров.
В современных установках может быть включено от 2 до 4 модулей-секций. В корпус секции вставляется пакет ступеней, представляющий собой собранные на валу рабочие колеса и направляющие аппараты. Число ступеней колеблется в пределах 152 ¸ 393. Входной модуль представляет основание насоса с приемными отверстиями и фильтром-сеткой, через которые жидкость из скважины поступает в насос. В верхней части насоса ловильная головка с обратным клапаном, к которой крепятся НКТ.
Таблица 6
| Наименование установок | Минимальный (внутренний) диаметр эксп-луатационной колонны, мм | Попереч-ный габарит установки, мм | Подача м3/сут | Напор, м | Мощность двигателя, кВт | Тип газосепаратора |
| УЭЦНМ5-50 | 121.7 | 112 | 50 | 990 ¸1980 | 32 ¸ 45 | |
| УЭЦНМ5-80 | 80 | 900 ¸ 1950 | 32 ¸ 63 | |||
| УЭЦНМК5-80 | ||||||
| УЭЦНМ5-125 | 125 | 745 ¸ 1770 | 1МНГ5 | |||
| УЭЦНМК5-125 | ||||||
| УЭЦНМ5-200 | 200 | 640 ¸ 1395 | 45 ¸ 90 | 1МНГК5 | ||
| УЭЦНМ5А-160 | 130.0 | 124 | 160 | 790¸1705 | 32¸90 | МНГА5 |
| УЭЦНМ5А-250 | 250 | 795¸1800 | 45¸90 | |||
| УЭЦНМК5-250 | МНГК5А | |||||
| УЭЦНМ5А-400 | 400 | 555 ¸ 1255 | 63 ¸ 125 | |||
| УЭЦНМК5А-400 | ||||||
| УЭЦНМ6-250 | 144.3 | 137 | 250 | 920 ¸ 1840 | 63 ¸ 125 | |
| УЭЦНМ6-320 | 320 | 755 ¸ 1545 | ||||
| УЭЦНМ6-500 | 144.3 или 148.3 | 137 или 140.5 | 500 | 800 ¸ 1425 | 90 ¸ 180 | |
| УЭЦНМ6-800 | 148.3 | 140.5 | 800 | 725 ¸ 1100 | 125 ¸ 250 | |
| УЭЦНМ6-1000 | 1000 | 615 ¸ 1030 | 180 ¸ 250 |
Насос (ЭЦНМ) — погружной центробежный модульный многоступенчатый вертикального исполнения.
Насосы также подразделяют на три условные группы — 5; 5А и 6. Диаметры корпусов группы 5 ¸ 92 мм, группы 5А — 103 мм, группы 6 — 114 мм.
Модуль-секция насоса (рисунок 25) состоит из корпуса 1, вала 2, пакетов ступеней (рабочих колес — 3 и направляющих аппаратов — 4), верхнего подшипника 5, нижнего подшипника 6, верхней осевой опоры 7, головки 8, основания 9, двух ребер 10 (служат для защиты кабеля от механических повреждений) и резиновых колец 11, 12, 13.
Рабочие колеса свободно передвигаются по валу в осевом направлении и ограничены в перемещении нижним, и верхним направляющими аппаратами. Осевое усилие от рабочего колеса передается на нижнее текстолитовое кольцо и затем на бурт направляющего аппарата. Частично осевое усилие передается валу вследствие трения колеса о вал или прихвата колеса к валу при отложении солей в зазоре или коррозии металлов. Крутящий момент передается от вала к колесам латунной (Л62) шпонкой, входящей в паз рабочего колеса. Шпонка расположена по всей длине сборки колес и состоит из отрезков длиною 400 - 1000 мм.

Рисунок 25 — Модуль‑секция насос
1 — корпус; 2 — вал; 3 — колесо рабочее; 4 — аппарат направляющий; 5 — подшипник верхний; 6 — подшипник нижний; 7 — опора осевая верхняя; 8 — головка; 9 — основание; 10 — ребро; 11, 12, 13 — кольца резиновые.
Направляющие аппараты сочленяются между собой по периферийным частям, в нижней части корпуса они все опираются на нижний подшипник 6 (рисунок 25) и основание 9, а сверху через корпус верхнего подшипника зажаты в корпусе.
Рабочие колеса и направляющие аппараты насосов обычного исполнения изготавливаются из модифицированного серого чугуна и радиационно модифицированного полиамида, насосов коррозионно-стойкого исполнения — из модифицированного чугуна ЦН16Д71ХШ типа «нирезист».
Валы модулей секций и входных модулей для насосов обычного исполнения изготавливаются из комбинированной коррозионно-стойкой высокопрочной стали ОЗХ14Н7В и имеют на торце маркировку «НЖ» для насосов повышенной коррозионной стойкости — из калиброванных прутков из сплава Н65Д29ЮТ-ИШ-К-монель и имеют на торцах маркировку «М».
Валы модулей-секций всех групп насосов, имеющих одинаковые длины корпусов 3, 4 и 5 м, унифицированы.
Соединение валов модулей-секций между собой, модуля секции с валом входного модуля (или вала газосепаратора), вала входного модуля свалом гидрозащиты двигателя осуществляется при помощи шлицевых муфт.
Соединение модулей между собой и входного модуля с двигателем — фланцевое. Уплотнение соединений (кроме соединения входного модуля с двигателем и входного модуля с газосепаратором) осуществляется резиновыми кольцами.
Для откачивания пластовой жидкости, содержащей у сетки входного модуля насоса свыше 25 % (до 55 %) по объему свободного газа, к насосу подсоединяется модуль насосный — газосепаратор (рисунок 26).

Рисунок 26 — Газосепаратор
1 — головка; 2 — переводник; 3 — сепаратор; 4 — корпус; 5 — вал; 6 — решетка; 7 — направляющий аппарат; 8 — рабочее колесо; 9 — шнек; 10 — подшипник; 11 — основание.
Газосепаратор устанавливается между входным модулем и модулем-секцией. Наиболее эффективны газосепараторы центробежного типа, в которых фазы разделяются в поле центробежных сил. При этом жидкость концентрируется в периферийной части, а газ — в центральной части газосепаратора и выбрасывается в затрубное пространство. Газосепараторы серии МНГ имеют предельную подачу 250 ¸ 500 м3/сут., коэффициент сепарации 90 %, массу от 26 до 42 кг.
Двигатель погружного насосного агрегата состоит из электродвигателя и гидрозащиты. Электродвигатели (рисунок 27) погружные трехфазные коротко замкнутые двухполюсные маслонаполненные обычного и коррозионно-стойкого исполнения унифицированной серии ПЭДУ и в обычном исполнении серии ПЭД модернизации Л. Гидростатическое давление в зоне работы не более 20 МПа. Номинальная мощность от 16 до 360 кВт, номинальное напряжение 530 ¸ 2300 В, номинальный ток 26 ¸ 122.5 А.

Рисунок 27 — Электродвигатель серии ПЭДУ
1 — соединительная муфта; 2 — крышка; 3 — головка; 4 — пятка; 5 — подпятник; 6 — крышка кабельного ввода; 7 — пробка; 8 — колодка кабельного ввода; 9 — ротор; 10 — статор; 11 — фильтр; 12 — основание.
Гидрозащита (рисунок 28) двигателей ПЭД предназначена для предотвращения проникновения пластовой жидкости во внутреннюю полость электродвигателя, компенсации изменения объема масла во внутренней полости от температуры электродвигателя и передачи крутящего момента от вала электродвигателя к валу насоса.

Рисунок 28 — Гидрозащита
а — открытого типа; б — закрытого типа
А — верхняя камера; Б — нижняя камера; 1 — головка; 2 — торцевое уплотнение; 3 — верхний ниппель; 4 — корпус; 5 — средний ниппель; 6 — вал; 7 — нижний ниппель; 8 — основание; 9 — соединительная трубка; 10 — диафрагма.
Гидрозащита состоит либо из одного протектора, либо из протектора и компенсатора. Могут быть три варианта исполнения гидрозащиты.
Первый состоит из протекторов П92, ПК92 и П114 (открытого типа) из двух камер. Верхняя камера заполнена тяжелой барьерной жидкостью (плотность до 2 г/см3, не смешиваемая с пластовой жидкостью и маслом), нижняя — маслом МА‑ПЭД, что и полость электродвигателя. Камеры сообщены трубкой. Изменения объемов жидкого диэлектрика в двигателе компенсируются за счет переноса барьерной жидкости в гидрозащите из одной камеры в другую.
Второй состоит из протекторов П92Д, ПК92Д и П114Д (закрытого типа), в которых применяются резиновые диафрагмы, их эластичность компенсирует изменение объема жидкого диэлектрика в двигателе.
Третий — гидрозащита 1Г51М и 1Г62 состоит из протектора, размещенного над электродвигателем и компенсатора, присоединяемого к нижней части электродвигателя. Система торцевых уплотнений обеспечивает защиту от попадания пластовой жидкости по валу внутрь электродвигателя. Передаваемая мощность гидрозащит 125 ¸ 250 кВт, масса 53 ¸ 59 кг.
Система термоманометрическая ТМС-3 предназначена для автоматического контроля за работой погружного центробежного насоса и его защиты от аномальных режимов работы (при пониженном давлении на приеме насоса и повышенной температуре погружного электродвигателя) в процессе эксплуатации скважин. Имеется подземная и наземная части. Диапазон контролируемого давления от 0 до 20 МПа. Диапазон рабочих температур от 25 до 105 ˚С.
Масса общая 10.2 кг (см. рисунок 24).
Кабельная линия представляет собой кабель в сборе, намотанный на кабельный барабан.
Кабель в сборе состоит из основного кабеля — круглого ПКБК (кабель, полиэтиленовая изоляция, бронированный, круглый) или плоского — КПБП (рисунок 29), присоединенного к нему плоского кабеля с муфтой кабельного ввода (удлинитель с муфтой).

Рисунок 29 — Кабели
а — круглый; б — плоский; 1 — жила; 2 — изоляция; 3 — оболочка; 4 — подушка; 5 — броня.
Кабель состоит из трех жил, каждая из которых имеет слой изоляции и оболочку; подушки из прорезиненной ткани и брони. Три изолированные жилы круглого кабеля скручены по винтовой линии, а жилы плоского кабеля — уложены параллельно в один ряд.
Кабель КФСБ с фторопластовой изоляцией предназначен для эксплуатации при температуре окружающей среды до + 160 ˚С.
Кабель в сборе имеет унифицированную муфту кабельного ввода К38 (К46) круглого типа. В металлическом корпусе муфты герметично заделаны изолированные жилы плоского кабеля с помощью резинового уплотнителя.
К токопроводящим жилам прикреплены штепсельные наконечники.
Круглый кабель имеет диаметр от 25 до 44 мм. Размер плоского кабеля от 10.1х25.7 до 19.7х52.3 мм. Номинальная строительная длина 850, 1000 ¸ 1800 м.
Комплектные устройства типа ШГС5805 обеспечивают включение и выключение погружных двигателей, дистанционное управление с диспетчерского пункта и программное управление, работу в ручном и автоматическом режимах, отключение при перегрузке и отклонении напряжения питающей сети выше 10 % или ниже 15 % от номинального, контроль тока и напряжения, а также наружную световую сигнализацию об аварийном отключении (в том числе со встроенной термометрической системой).
Комплексная трансформаторная подстанция погружных насосов — КТППН предназначена для питания электроэнергией и защиты электродвигателей погружных насосов из одиночных скважин мощностью 16 ¸ 125 кВт включительно. Номинальное высокое напряжение 6 или 10 кВ, пределы регулирования среднего напряжения от 1208 до 444 В (трансформатор ТМПН100) и от 2406 до 1652 В (ТМПН160). Масса с трансформатором 2705 кг.
Комплектная трансформаторная подстанция КТППНКС предназначена для электроснабжения, управления и защиты четырех центробежных электронасосов с электродвигателями 16 ¸ 125 кВт для добычи нефти в кустах скважин, питания до четырех электродвигателей станков-качалок и передвижных токоприемников при выполнении ремонтных работ. КТППНКС рассчитана на применение в условиях Крайнего Севера и Западной Сибири.
В комплект поставки установки входят: насос, кабель в сборе, двигатель, трансформатор, комплектная трансформаторная подстанция, комплектное устройство, газосепаратор и комплект инструмента.
4.2. УСТАНОВКИ ПОГРУЖНЫХ ВИНТОВЫХ ЭЛЕКТРОНАСОСОВ
Установки погружных винтовых сдвоенных электронасосов типа УЭВН5 предназначены для откачки из нефтяных скважин пластовой жидкости повышенной вязкости (до 1.103 м2/с) температурой 70 ˚С, с содержанием механических примесей не более 0.4 г/л, свободного газа на приеме насоса — не более 50 % по объему.
Установка погружного винтового сдвоенного электронасоса (рисунок 30) состоит из насоса, электродвигателя с гидрозащитой, комплектного устройства, токоподводящего кабеля с муфтой кабельного ввода. В состав установок с подачами 63, 100 и 200 м3/сут входит еще и трансформатор, так как двигатели этих установок выполнены соответственно на напряжение 700 и 1000 В.
Установки выпускаются для скважин с условным диаметром колонны обсадных труб 146 мм.
С учетом температуры в скважине установки изготавливают в трех модификациях:
для температуры 30 ˚С (А);
для температуры 30 ¸ 50 ˚С (Б);
для температуры 50 ¸ 70 ˚С (В, Г).

Рисунок 30 — Установки погружного винтового сдвоенного электронасоса
1 — трансформатор; 2 — комплектное устройство; 3 — пояс крепления кабелей; 4 — НКТ; 5 — винтовой насос; 6 — кабельный ввод; 7 — электродвигатель с гидрозащитой.
В обозначении установок в зависимости от температуры добываемой жидкости введены буквы А, Б и В (Г). Например, УЭВН5‑16-1200А или УЭВН5‑200-900В.
Все установки комплектуют погружными двигателями типа ПЭД с гидрозащитой 1Г51.
Приводом винтовых насосов служит электродвигатель трехфазный, асинхронный, короткозамкнутый, четырехполюсный, погружной, маслонаполненный. Исполнение двигателя вертикальное, со свободным концом вала, направленным вверх.
Гидрозащита предохраняет его внутреннюю полость от попадания пластовой жидкости, а также компенсирует температурные изменения объема и расхода масла при работе двигателя. С помощью гидрозащиты осуществляется выравнивание двигателя с давлением в скважине на уровне его подвески.
Внутренняя полость двигателей заполнена специальным маслом диэлектрической прочности.
Установки обеспечивают подачу от 16 до 200 м3/сут, давление 9 ¸ 12 МПа; КПД погружного агрегата составляет 38 ¸ 50 %; мощность электродвигателя 5.5, 22 и 32 кВт; масса погружного агрегата 341 ¸ 713 кг; частота вращения — 1500 мин-1.
4.3. УСТАНОВКИ ПОГРУЖНЫХ ДИАФРАГМЕННЫХ ЭЛЕКТРОНАСОСОВ
Установки погружных диафрагменных электронасосов УЭДН5 предназначены для эксплуатации малодебитных скважин преимущественно с пескопроявлениями, высокой обводненностью продукции, кривыми и наклонными стволами с внутренним диаметром обсадной колонны не менее 121.7 мм.
Содержание попутной воды в перекачиваемой среде не ограничивается. Максимальная массовая концентрация твердых частиц 0.2 % (2 г/л); максимальное объемное содержание попутного газа на приеме насоса 10 %; водородный показатель попутной воды рН=6.0 ¸ 8.5; максимальная концентрация сероводорода 0.001 % (0.01 г/л).
Основные показатели установок типа УЭДН5 в номинальном режиме при перекачивании электронасосом воды плотностью 1000 кг/м3, температурой 45 °С при напряжении сети 350 В и частоте тока 50 Гц приведены в таблице 7. Погружной диафрагменный электронасос опускается в скважину на насосно-компрессорных трубах (ГОСТ 633-80) условным диаметром 42, 48 или 60 мм.
Технические характеристики насосов типа УЭДН5
Таблица 7
| Обозначение установки (типоразмер) | Значения по параметрам | Технич. и энергет. эффектив. | Ток, А, средний | Рекомендуемой рабочей части характеристики по | ||||
| Подача, м3/сут, не менее | Давле-ние МПа (кгс/см2) | Мощ-ность, кВТ, не менее | КПД, %, не менее | Подпор, м, не более | давлению МПа (кгс/см2) | подача, м3/сут, соответственно | ||
УЭДН5-4-1700 | 4 | 17 (170) | 2.20 | 35 | 10 | 9 | 3 ¸ 17 (30¸170) | 6 ¸ 4 |
| УЭДН5- 6,3-1300 | 6.3 | 13 (130) | 2.45 | 38 | 10 | 9 | 3 ¸ 13 (30¸130) | 8 ¸ 6.5 |
| УЭДН5-8-1100 | 8 | 11 (110) | 2.60 | 38 | 10 | 9,2 | 3 ¸ 11 (30¸130) | 10 ¸ 8 |
| УЭДН5-10-1000 | 10 | 10 (100) | 2.80 | 40 | 10 | 9,5 | 3 ¸ 10 (30¸100) | 11 ¸ 10 |
| УЭДН5-12,5-800 | 12.5 | 8 (80) | 2.85 | 40 | 15 | 9,6 | 3 ¸ 8 (30¸80) | 14 ¸ 12 |
| УЭДН5-16-650 | 16 | 6.5 (65) | 2.85 | 40 | 20 | 9,6 | 3 ¸ 6.5 (30¸65) | 17 ¸ 16 |
Примечания:
1. Значения показателей указаны при перекачивании воды плотностью 1000 кг/м3 температурой 45 °С при напряжении сети 380 В и частоте тока в сети 50 Гц.
2. Эксплуатация при давлении на выходе насоса, превышающем номинальное значение, не допускается.
Изготовитель: Машиностроительный завод им. Сардарова, г. Баку.
Электронасос (рисунок 31 — насос и электродвигатель в одном корпусе) содержит асинхронный четырехполюсный электродвигатель, конический редуктор и плунжерный насос с эксцентриковым приводом и пружиной для возврата плунжера. Муфта кабеля соединяется с токовводом.

Рисунок 31 — Погружной диафрагменный электронасос
1 — токоввод; 2 — нагнетательный клапан; 3 — всасывающий клапан; 4 — диафрагма; 5 — пружина; 6 — плунжерный насос; 7 — эксцентриковый привод; 8 — конический редуктор; 9 — электродвигатель; 10 — компенсатор.
Установки обеспечивают подачу от 4 до 16 м3, давление 6.5 ¸ 17 МПа, КПД 35 – 40 %, мощность электродвигателя 2.2 ¸ 2.85 кВт; частота вращения электродвигателя - 1500 мин-1, масса от 1377 до 2715 кг.
4.4. АРМАТУРА УСТЬЕВАЯ
Для герметизации устья нефтяных скважин, эксплуатируемых погружными центробежными, винтовыми и диафрагменными электронасосами, применяют устьевую арматуру типа АУЭ-65/50-14 или устьевое оборудование типа ОУЭ‑65/50‑14. Арматура типа АУЭ-65/ 50-14 состоит из корпуса, трубной подвески, отборника давления с пробоотборником, угловых вентилей, перепускного клапана и быстросборного соединения (рисунок 32).
| Техническая характеристика | |
| Рабочее давление, МПа | 14 |
| Тип запорного устройства: | |
| ствола | Кран пробковый |
| боковых отводов | Вентиль угловой |
| Габариты, мм | 3452х770х1220 |
| Масса, кг | 200 |

Рисунок 32 — Устьевая арматура типа АУЭ
1 — перепускной клапан; 2 — манжета; 3 — уплотнение кабеля; 4 — пробковый кран; 5 — патрубок; 6 — зажимная гайка; 7 — трубная подвеска; 8 — корпус; 9, 12, 13 — угловые вентили; 10 — отборник проб, 11 — быстросъемное соединение.
4.5. КОМПЛЕКС ОБОРУДОВАНИЯ ТИПА КОС И КОС1
Комплексы предназначены для перекрытия ствола скважин при повышении забойного давления или динамического уровня жидкости в полуфонтанных скважинах, эксплуатируемых штанговыми и погружными электроцентробежными насосами. Комплексы обеспечивают проведение ремонтно-профилактических работ в скважине без предварительного глушения.
Комплекс КОС состоит из пакера ПД-ЯГ или 2ПД-ЯГ, разъединителя колонны типа ЗРК и клапана-отсекателя типа КАС с замком типа ЗНЦБ.
Комплекс КОС1 (рисунок 33) состоит из разбуриваемого пакера с хлопушечным обратным клапаном типа 1ПД-ЯГР и съемного клапана отсекателя сильфонного типа КАС1, устанавливаемого в пакер, гидравлического домкрата ДГ.
В состав комплексов входят также комплект инструментов, монтажных частей, стенд для зарядки и регулирования клапанов-отсекателей.

Рисунок 33 — Комплекс оборудования типа КОС1
1 — пакер типа 1ПД-ЯГР; 2 — клапан-отсекатель типа КАС1; 3 — центробежный электронасос
На рисунке 34 показан комплекс оборудования КОС в скважинах, эксплуатируемых скважинными и погружными насосами.

Рисунок 34 — Комплекс оборудования типа КОС
а — для скважин, эксплуатируемых скважинными штанговыми насосами; б — для скважин, эксплуатируемых центробежными электронасосами; в — клапан‑отсекатель открыт; г — клапан‑отсекатель закрыт; 1 — станок‑качалка; 2 — скважинный штанговый насос; 3 — замок типа ЗНЦБ; 4 — разъединитель колонны типа ЗРК; 5 — клапан‑отсекатель типа КАС; 6 — пакер 2ПД‑ЯГ; 7 — оборудование устья скважины; 8 — центробежный скважинный электронасос.
В комплексе КОС установка пакера и клапана отсекателя производится насосно-компрессорными трубами, а КОС1 — с помощью канатной техники.
| Техническая характеристика комплексов КОС | |
| Рабочее давление, МПа | 35 |
| Условный диаметр эксплуатационной колонны, труб, мм | 140, 146, 168 |
| Наружный диаметр пакера, мм | 118, 122, 136, 140, 145 |
| Глубина установки клапана, м, не более | 2500 |
| Масса, кг | от 110 ¸ 129 до 252 ¸ 349 |
4.6. УСТАНОВКИ ГИДРОПОРШНЕВЫХ НАСОСОВ ДЛЯ ДОБЫЧИ НЕФТИ (УГН)
Современные УГН позволяют эксплуатировать скважины с высотой подъема до 4500 м, с максимальным дебитом до 1200 м3/сут. при высоком содержании в скважинной продукции воды.
Установки гидропоршневых насосов — блочные автоматизированные, предназначены для добычи нефти из двух - восьми глубоких кустовых наклонно направленных скважин в заболоченных и труднодоступных районах Западной Сибири и других районах. Откачиваемая жидкость кинематической вязкостью не более 15×10-6 м2/с (15×10-2 Ст) с содержанием механических примесей не более 0.1 г/л, сероводорода не более 0.01 г/л и попутной воды не более 99 %. Наличие свободного газа на приеме гидропоршневого насосного агрегата не допускается. Температура откачиваемой жидкости в месте подвески агрегата не выше 120 ˚С.
Установки выпускаются для скважин с условным диаметром обсадных колонн 140, 146 и 168 мм.
Климатическое исполнение — У и ХЛ, категория размещения наземного оборудования — 1, погружного — 5 (ГОСТ 15150-69).
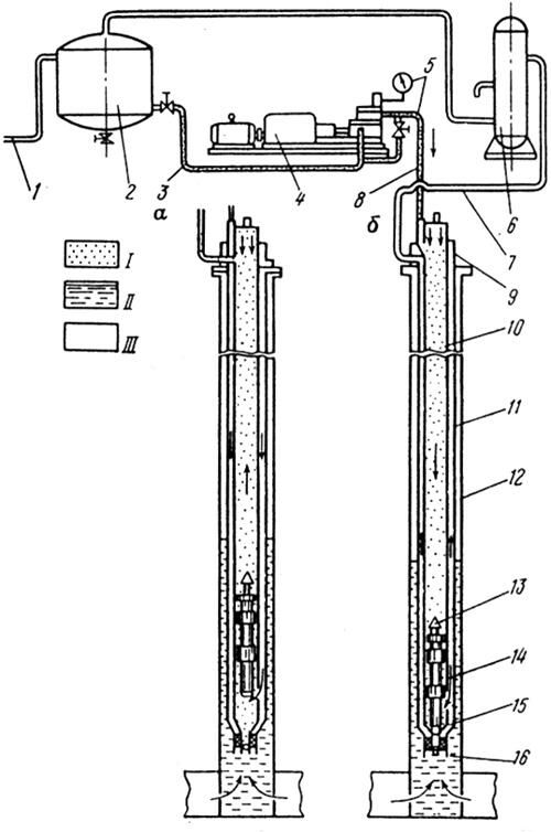
Гидропоршневая насосная установка (рисунок 35) состоит из поршневого гидравлического двигателя и насоса 13, устанавливаемого в нижней части труб 10, силового насоса 4, расположенного на поверхности, емкости 2 для отстоя жидкости и сепаратора 6 для её очистки. Насос 13, сбрасываемый в трубы 10, садится в седло 14, где уплотняется в посадочном конусе 15 под воздействием струй рабочей жидкости, нагнетаемой в скважину по центральному ряду труб 10. Золотниковое устройство направляет жидкость в пространство над или под поршнем двигателя, и поэтому он совершает вертикальные возвратно-поступательные движения.
Нефть из скважин всасывается через обратный клапан 16, направляется в кольцевое пространство между внутренним 10 и наружным 11 рядами труб. В это же пространство из двигателя поступает отработанная жидкость (нефть), т.е. по кольцевому пространству на поверхность поднимается одновременно добываемая рабочая жидкость.
При необходимости подъема насоса изменяют направление нагнетания рабочей жидкости — её подают в кольцевое пространство. Различают гидропоршневые насосы одинарного и двойного действия, с раздельным и совместным движением добываемой жидкости и рабочей и т.д.

Рисунок 35 — Схема компоновки оборудования гидропоршневой насосной установки
а — подъем насоса; б — работа насоса; 1 — трубопровод; 2 — емкость для рабочей жидкости; 3 — всасывающий трубопровод; 4 — силовой насос; 5 — манометр; 6 — сепаратор; 7 — выкидная линия; 8 — напорный трубопровод; 9 — оборудование устья скважины; 10 — 63 мм трубы; 11 — 102 мм трубы; 12 — обсадная колонна; 13 — гидропоршневой насос (сбрасываемый); 14 — седло гидропоршневого насоса; 15 — конус посадочный; 16 — обратный клапан; I — рабочая жидкость; II — добываемая жидкость; III — смесь отработанной и добытой жидкости.
В настоящее время выпускаются установки:
УГН25-150-25,
УГН40-250-20,
УГН100-200-18,
УГН160-380-15.
Обозначения: УГН — установка гидропоршневых насосов; цифры после УГН — подача одного гидропоршневого насосного агрегата (м3/сут.); цифры после первого тире — суммарная подача установки (м3/сут.); цифры после второго тире — давление нагнетания агрегата (МПа); в конце указывается ТУ. Пример: УГН 160-380-15 ТУ 26-16-233-88. Суммарная мощность установок 185 ¸ 270 кВт; КПД 45 ¸ 47 %; масса не более 50000 кг.
4.7. СТРУЙНЫЕ НАСОСЫ
Струйно-насосная установка представляет собой насосную систему механизированной добычи нефти, состоящую из устьевого наземного и погружного оборудования. Наземное оборудование включает сепаратор, силовой насос, устьевую арматуру, КИП; погружное оборудование — струйный насос с посадочным узлом (рисунок 36).
Струйные насосы отличаются отсутствием подвижных частей, компактностью, высокой прочностью, устойчивостью к коррозии и абразивному износу, дешевизной. КПД струйной установки приближается к КПД других гидравлических насосных систем. Рабочие характеристики струйного насоса близки к характеристикам электропогружного насоса.
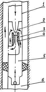
Струйный насос (рисунок 37) приводится в действие под влиянием напора рабочей жидкости (лучше нефти или воды), нагнетаемой в НКТ 1, соединенные с соплом 2. При прохождении узкого сечения сопла струя перед диффузором 4 приобретает большую скорость и поэтому в каналах 3 снижается давление. Эти каналы соединены через полость насоса 5 с подпакерным пространством 6 и пластом, откуда пластовая жидкость всасывается в насос и смешивается в камере смешения с рабочей. Смесь жидкостей далее движется по кольцевому пространству насоса и поднимается на поверхность по межтрубному пространству (насос спускают на двух концентрических рядах труб) под давлением нагнетаемой в НКТ рабочей жидкости. Насос может откачивать высоковязкие жидкости и эксплуатироваться в сложнейших условиях (высокие температуры пластовой жидкости, содержание значительного количества свободного газа и песка в продукции и т.д.).
По данным НИПИ Гипроморнефтегаз срок службы струйного насоса в абразивной среде не менее 8 месяцев, теоретический отбор жидкости до 4000 м3/сут. максимальная глубина спуска — 5000 м, масса погружного насоса 10 кг.
В 1971 г. Крецом В.Г. были обоснованы и предложены схемы струйных установок для целей испытания, освоения и эксплуатации нефтяных скважин (НИИ ВН при ТПУ). Тогда внедрены были струйные установки для откачки питьевой воды из скважин (разработанные под руководством В.С. Арбит и С.Я. Рябчикова).

Лекция "40 мм подствольный гранатомет ГП-25" также может быть Вам полезна.
Рисунок 36 — Струйно-насосная установка
1 — струйный насос; 2 — ловитель; 3 — силовой насос; 4 — сепаратор; 5 — продуктивный пласт

Рисунок 37 — Схема струйного насоса
1 — насосно-компрессорные трубы; 2 — сопло; 3 — каналы; 4 — диффузор; 5 — входная часть насоса;
6 — подпакерное пространство.





















