Лекция 7
- Современные типы термоэлектрических преобразователей.
Большое распространение в последнее время получают термоэлектрические преобразователи кабельного типа [3]. Они представляют собой два термоэлектрода, помещенные в гибкую тонкостенную защитную трубку оболочку (рис. 3.7). Пространство между термоэлектродами и оболочкой заполняется специальной изолирующей засыпкой (порошок MgO или Аl2О3). Оболочка изготавливается из нержавеющей или жаропрочной стали. Выпускаются хромель-алюмелевые и хромель-копелевые термопреобразователи с изолированным (рис. 3.7,а) и неизолированным (рис. 3.7,6) спаями. Длина таких термопар составляет до 25 м. Они применяются в интервале температур от – 50 до 900 оС (в оболочке из жаропрочной стали –

Рис. 3.7 − Устройство ТП кабельного типа:
а) - с изолированным; б) – с неизолированным спаями
до 1100°С) при давлении до 40 МПа в технологических процессах различных отраслей промышленности. Достоинство кабельных термопар состоит в том, что в процессе монтажа их можно изгибать (радиус гиба равен 5 диаметрам), а малый диаметр позволяет укладывать их в труднодоступные каналы. Основные параметры и размеры кабельных термопреобразователей приведены в таблице 3.2.
Кроме того, кабельные термопары защищены от воды, пара, пыли, имеют высокую вибропрочность, работают в условиях агрессивных сред и мощных радиационных полей, позволяющие им работать в энергетических реакторах АЭС, имеют повышенную стойкость к тепловым ударам, вибрации, и механическим нагрузкам, малый показатель тепловой инерции и повышенный в 2…3 раза рабочий ресурс.
На рис. 3.8 изображена тонкопленочная термопара, q-тепловой поток, вызываемый разностью температур T1 и T2 между горячим и холодным источниками тепла. Длина ветвей l термопары уменьшена до длин порядка 0,01…1,0 микрона. Соединив термопары в последовательные электрические цепочки, получается термопарная поверхность у которой ветви термопар превращаются в тонкие пленки, формируемые на основе пленоных технологий микроэлектроники (напыление, электролиз и т.д.). Пленки из железа и никеля формируются на медной подложке, образующей спай. Внутреннее сопротивление такой термопарной поверхности как источника ЭДС будет на много порядков меньше (в миллионы раз), чем существующих термопар. А через большие, ничем не ограниченные поверхности таких термопар можно даже при малых перепадах температур пропускать большие тепловые потоки. Для придания термопарной поверхности необходимых прочностных свойств ее можно изготавливать многослойной. Получается она методом последовательного напыления слоев. На рисунке 3.9 изображена многослойная термопарная поверхность. Такая конструкция позволяет также получать достигнутые значения КПД термопар уже при очень малых перепадах температур. Многослойная же термопара позволяет дополнительно увеличить КПД. Методами нанотехнологий на толщине термопарной поверхности в 1 мм можно нанести более 10 ты-

Рис. 3.8 − Схема тонкопленочной термопарной поверхности
Рекомендуемые материалы

Рис. 3.9 − Вид многослойной термопарной поверхности
сяч слоев отдельных термопар, что дает значительное увеличение КПД. Большие поверхности позволят получить значительные мощности экологически чистой энергии.
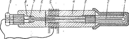
Заслуживает также внимание графит-вольфрамовая термопара (рисунок 3.10), которая может быть изготовлена с относительно небольшим наружным диаметром и работать в очень агрессивных средах.

Рис. 3.10 − Графито-вольфрамовый термоэлектрический термометр, где1-графитовый наконечник; 2- вольфрамовый стержень; 3-окись алюминня; 4-графитовая
трубка; 5 - холодильник; 6 - изолятор; 7 - контактная гильза; 8, 9 - прижимные пружинаы, 10 - нажимной винт
31. Работа комплекта термопара-милливольтметр. Погрешности, возникающие в процессе измерений. Устройство компенсационной коробки.

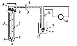
Комплект для измерения температуры состоит из термоэлектродов 1 и 2, образующих рабочий конец 3, которые изолированы друг от друга фарфоровыми трубками 4 и заключены в защитный чехол 5. В головке 6 оба термоэлектрода посредством зажимов, укрепленных на колодке 7, соединены с жилами 8 и 9 компенсационного провода, к которому посредством медных соединительных проводов 10 подключен в точках 11 и 12, являющихся свободными концами термопары, измерительный прибор 13. Постоянная температура свободных концов поддерживается термостатом 14.
Принцип работы милливольтметра заключается в использовании взаимодействия магнитного поля неподвижного магнита и постоянного тока, протекающего через обмотку подвижной рамки. Рамка Rр включается в цепь ТЭП с помощью компенсационных А1 и В1, и медных С проводов. Сила тока, протекающего в цепи, зависит от величины ТЭДС ЕАВ (t2 , t0) и сопротивления измерительной цепи. При протекании тока через рамку, окруженную полем постоянного магнита, возникает магнитоэлектрический момент М (Н·м), поворачивающий рамку и равный: М = 2r l·n·B·I, При перемещении рамка одновременно закручивает спиральные пружины, которые создают противодействующий упругий момент. Вращение рамки будет продолжаться до тех пор, пока магнитоэлектрический момент не уравновесится противодействующим упругим моментом М = Мп
Погрешности:
1) сопротивления внешней цепи RВН в зависимости от непостоянной температуры в цехах и на поверхностях металлургического оборудования, вдоль которые прокладываются соединительные провода;
2) сопротивления прибора RГ вследствие значительного изменения температуры помещения, в котором установлен прибор;
3) температуры t0 свободных концов ТП;
4) механических характеристик измерительного механизма (упругих характеристик пружин, моментов трения в керновых подпятниках и т. п.);
5) наличия внешних магнитных полей.
Для исключения влияния отклонения температуры t0 свободных концов от градуировочной вместо термостатов широко применяются компенсационные коробки КТ для автоматической компенсации изменения ТЭДС термопары. На рис. 3.4. представлена схема включения устройства КТ в измерительную цепь, состоящую из милливольтметра М и термометра АВ. Компенсационные А1, В1 и соединительные С провода присоединены к клеммам КТ. Таким образом, сопротивления R1, R2, R3, R4 образующие равноплечный мост, имеют такую же температуру t0, которую имеют свободные концы. Сопротивления R1, R2 и R4, выполнены из манганина, R3 – из меди. К вершинам диагонали ab подается постоянное напряжение, например от источника стабилизированного питания (на рисунке не показан). Сопротивления подобраны таким образом, что при t0=0 °С напряжение на вершинах с и d равно нулю, т. е. на милливольтметр поступает сигнал ТП, соответствующий стандартной градуировке. При увеличении температуры t0 (t'0 > t0) возрастает сопротивление R3, что приводит к нарушению равно-весия моста и появлению в точках c и d напряжения, компенсирующего уменьшение ТЭДС термометра, ЕАВ (t′0, t0) = Ucd. Точность, с которой устройство КТ воспроизводит соответствующую термоэлектрическую характеристику при изменении температуры свободных концов в пределах до t0 = 50 °С, составляет ±3 °С для ТП типа ТПП, ТХА и ТХК.
- Компенсационный метод измерения температуры. Устройство и работа автоматических потенциометров.
- Компенсационный метод измерения температуры. Работа и устройство потенциометров с ручной наводкой.
Измерение термо-ЭДС компенсационным путем
Измерение термо-ЭДС термопары прямым путем, по силе тока в цепи постоянного сопротивления, с помощью милливольтметра, можно осуществить сравнительно просто. Однако этот метод обладает рядом недостатков, создающих дополнительные погрешности, что в большинстве случаев не позволяет получить высокой точности измерения.
В измерительной технике кроме прямых методов измерения известны компенсационные метода или методы противопоставления (сравнения) неизвестной величины величине известной. Компенсационные методы позволяют провести измерения более точно, хотя и не всегда так просто, как прямое измерение.
Основное преимущество компенсационного измерения термо-ЭДС, по сравнению с прямым, с помощью милливольтметра, состоит в том, что в момент измерения ток в цепи термопары равен 0. Это означает, что величина сопротивления внешней цепи не имеет значения: никакой подгонки сопротивления внешней цепи делать не надо и беспокоиться о влиянии температуры окружающей среды на внешнюю цепь нет необходимости.
- Классификация термометров сопротивления, физическая сущность работы, достоинства и недостатки. Вторичные приборы.
Термометр сопротивления (Терморезистор) — датчик для измерения температуры, сопротивление чувствительного элемента которого зависит от температуры. Может быть выполнен из металлического или полупроводникового материала. В последнем случае называется термистором.
Преимущества термометров сопротивления
Высокая точность измерений (обычно лучше ±1 °C), может доходить до 0,001 °C.
Возможноcть исключения влияния изменения сопротивления линий связи на результат измерения при использовании 3-х или 4-х проводной схемы измерений
Практически линейная характеристика
Недостатки термометров сопротивления
Малый диапазон измерений (по сравнению с термопарами)
Не могут измерять высокую температуру (по сравнению с термопарами))
Металлический термометр сопротивления
Представляет собой резистор, выполненный из металлической проволоки или пленки и имеющий известную зависимость электрического сопротивления от температуры. Наиболее распространенный тип термометров сопротивления – платиновые термометры. Это объясняется тем, что платина имеет высокий температурный коэффициент сопротивления и высокую стойкость к окислению. Эталонные термометры изготавливаются из платины высокой чистоты с температурным коэффициентом не менее 0,003925. В качестве рабочих средств измерений применяются также медные и никелевые термометры. Действующий стандарт на технические требования к рабочим термометрам сопротивления: ГОСТ Р 8.625-2006 (Термометры сопротивления из платины, меди и никеля. Общие технические требования и методы испытаний). В стандарте приведены диапазоны, классы допуска, таблицы НСХ и стандартные зависимости сопротивление-температура. Стандарт соответствует международному стандарту МЭК 60751 (2008). В стандарте впервые отказались от нормирования конкретных номинальных сопротивлений. Сопротивление изготовленного термометра может быть любым. Промышленные платиновые термометры сопротивления в большинстве случаев используются со стандартной зависимостью сопротивление-температура (НСХ), что обуславливает погрешность не лучше 0,1 °С (класс АА при 0 °С). Термометры сопротивления на основе напыленной на подложку пленки отличаются повышенной вибропрочностью, но меньшим диапазоном температур. Максимальный диапазон, в котором установлены классы допуска платиновых термометров для проволочных чувствительных элементов составляет 660 °С (класс С), для пленочных 600 °С (класс С).
35. Конструкция и принцип работы термометров сопротивления.
Термометр сопротивления, прибор для измерения температуры, принцип действия которого основан на изменении электрического сопротивления чистых металлов, сплавов и полупроводников с температурой (на увеличении сопротивления R с повышением температуры Т у металлов и обратная зависимость R от Т у полупроводников). Чувствительный элемент термометра представляет собой резистор, который сделан из пленки или металлической проволоки, и обладающий зависимостью электрического сопротивления от температуры. Проволока намотана на жесткий каркас, сделанный из кварца, слюды или фарфора, и заключена в защитную металлическую (стеклянную, кварцевую) оболочку. Наиболее популярны термосопротивления из платины. Темометры сопротивления (термосопротивления) обычно используют для замера температур в диапазоне от минус 263 С до плюс 1000 С. У медных термометров сопротивления диапазон значительно меньше – всего лишь от минус 50 до плюс 180 С. Основное требование к конструкции термометра – она должна быть достаточно чувствительной и стабильной, т.е. достаточной для необходимой точности замеров в указанном диапазоне температур при соответствующих условиях использования. Условия использования могут быть как благоприятными, так и неблагоприятными – агрессивные среды, вибрации и т.д. Обычно термометры сопротивления работают в совокупности с потенциометрами, логометрами, мостами измерительными.
- Работа термометров сопротивления в паре с логометрами.
Логометр — измерительный прибор, вращающий момент которого зависит от отношения двух токов, протекающих по двум подвижным катушкам.
Логометры бывают различных типов. Очень широко распространен Л-64. Он позволяет измерять температуру в производственных и технологических процессах. Измерения проводятся по трехпроводной схеме, обеспечивающей высокую точность измерений. Сама конструкция и внутреннее устройство логометра Л-64 простое и весьма надежное. Данное качество прибора обеспечивает его работоспособность в течение десятков лет. На территории бывшего Советского Союза логометры до сих пор применяются на производстве. Источником питания служит сетевой внешний блок питания СВ-4. Он обеспечивает на выходе постоянное напряжение 4 вольта. Это напряжение используется для питания измерительного моста прибора.
- Уравновешенные мосты ручного и автоматического действия.
Уравновешенный мост
Уравновешенный мост, принципиальная схема которого приведена на (рис. 8а), используется для определения величины сопротивления при градуировке ТС и при измерениях температуры в лабораторных условиях.
Нулевой метод измерения характеризуется высокой точностью, так как исключается влияние окружающей температуры, магнитных полей и изменения напряжения батареи питания Б. Однако значительная погрешность может возникать при изменении сопротивления соединительных проводов Rл, что вызывается значительными сезонными и суточными колебаниями температуры в местах прохождения кабеля, соединяющего ТС и измерительный мост.
Неуравновешенный мост
Неуравновешенный мост исключает необходимость выполнения ручных операций по изменению величины R3. В нем вместо нуль-прибора G в диагональ моста AC устанавливается миллиамперметр. При постоянном напряжении питания и постоянных сопротивлениях R1, R2, R3 через этот прибор протекает ток, величина которого зависит (нелинейно) от изменения RТ. Использование данных мостов для измерения температуры ограниченно. В основном они применяются для преобразования сопротивления термометра в напряжение.
Автоматические уравновешенные мосты
Автоматические уравновешенные мосты широко используются для измерения и регистрации температуры в комплекте с ТС. Их характеризует высокая точность и возможность использования в системах автоматического регулирования. Они выпускаются различных модификаций: одно- и многоточечные, с дисковой или ленточной диаграммой, с сигнальными устройствами и др.
- Бесконтактное измерение температуры. Законы, лежащие в основе работы пирометров. Понятие условной температуры. Погрешности, возникающие при измерении.
Бесконтактное измерение температуры
Основные понятия и законы излучения
О температуре нагретого тела можно судить на основании измерения параметров его теплового излучения, представляющего собой электромагнитные волны различной длины. Чем выше температура тела, тем больше энергии оно излучает.
Термометры, действие которых основано на измерении теплового излучения, называют пирометрами. Они позволяют контролировать температуру от 100 до 6000 0С и выше. Одним из главных достоинств данных устройств является отсутствие влияния измерителя на температурное поле нагретого тела, так как в процессе измерения они не вступают в непосредственный контакт друг с другом. Поэтому данные методы получили название бесконтактных.
На основании законов излучения разработаны пирометры следующих типов:
пирометр суммарного излучения (ПСИ) – измеряется полная энергия излучения;
Вам также может быть полезна лекция "2 - Общая остеология".
пирометр частичного излучения (ПЧИ) – измеряется энергия в ограниченном фильтром (или приемником) участки спектра;
пирометры спектрального отношения (ПСО) – измеряется отношение энергии фиксированных участков спектра.
В зависимости от типа пирометра различаются радиационная, яркостная, цветовая температуры.
Радиационной температурой реального тела Тр называют температуру, при которой полная мощность АЧТ равна полной энергии излучения данного тела при действительной температуре Тд.
Яркостной температурой реального тела Тя называют температуру, при которой плотность потока спектрального излучения АЧТ равна плотности потока спектрального излучения реального тела для той же длины волны (или узкого интервала спектра) при действительной температуре Тд.
Цветовой температурой реального тела Тц называют температуру, при которой отношения плотностей потоков излучения АЧТ для двух длин волн и равно отношению плотностей потоков излучений реального тела для тех же длин волн при действительной температуре Тд





















