Рыночная экономика и социальная справедливость
Лекция 2. Рыночная экономика и социальная справедливость
План лекции
2.1 Основные концепции справедливого распределения доходов
2.2 Проблема бедности и методы измерения неравенства в распределении доходов
2.3 Провалы рынка и меры государственного вмешательства
2.4 Дилемма справедливости и эффективности в экономике
2.5 Критерий компенсации (критерий Калдора–Хикса)
2.1 Основные концепции справедливого распределения доходов
Говоря о социальной политике государства, мы подразумеваем действия правительства, направленные на распределение и перераспределение доходов различных членов и групп общества. Так можно определить социальную политику в узком смысле слова. В широком смысле социальная политика – это одно из направлений макроэкономического регулирования, призванное обеспечить социальную стабильность общества и создать, насколько это возможно, одинаковые «стартовые условия» для граждан страны.
В экономике ответа на вопрос, какое именно распределение доходов справедливо, просто не существует. Мы не раз отмечали, что одним из проявлений фиаско рынка является невозможность справедливого распределения доходов, поскольку рынок – социально нейтральный механизм. Вопрос справедливого распределения доходов не оставляет равнодушными ни политиков, ни простых граждан: здесь затрагивается моральная, этическая проблема.
Вообще социальная справедливость в экономике – это проблема приемлемой степени неравенства в распределении доходов. И здесь надо сразу сказать, что единого подхода к этой проблеме у экономистов-теоретиков не существует. Мы рассмотрим наиболее известные концепции справедливости, или справедливого распределения доходов; эгалитаристскую, утилитаристскую, роулсианскую и рыночную.
Рекомендуемые материалы
Эгалитаристская концепция считает справедливым уравнительное распределение доходов. Логика рассуждений здесь такова: если требуется разделить определенное количество благ между людьми, одинаково этого заслуживающими, то справедливым было бы распределение поровну. Проблема заключается в том, что понимать под «одинаковыми заслугами»? Одинаковый трудовой вклад в общественное благосостояние? Одинаковые умственные и физические способности? Здесь представляется важным подчеркнуть, что эгалитарный подход не столь примитивен, как его иногда представляют в журналистских статьях бойкие авторы: взять и поделить все поровну, как предлагал персонаж знаменитой повести Михаила Булгакова «Собачье сердце» Шариков. Ведь речь идет именно о равном распределении благ между равным образом заслуживающими этого людьми.
Утилитаристская концепция (ее разработал во второй половине XIX века английский экономист и правовед Иеремия Бентам) считает справедливым такое распределение доходов, при котором максимизируется общественное благосостояние, представленное суммой индивидуальных полезностей всех членов общества. Математически это можно выразить в виде формулы, отражающей утилитаристскую функцию общественного благосостояния:
W (u1, u2, … un) = 
где W - функция общественного благосостояния, а и - индивидуальная функция полезности.
утилитаристский подход предполагает возможность межличностного сравнения индивидуальных функций полезностей различных членов общества.
Роулсианская концепция основана на утверждении, что справедливым будет считаться такое распределение, которое максимизирует благосостояние наименее обеспеченного члена общества. Для обоснования своего подхода Джон Роулс, американский философ, чье имя дало название рассматриваемой концепции, использует специфическую мысленную конструкцию, известную в экономической теории под названием «вуаль неведения» (veil of ignorance). Например, принимая решение о правилах справедливого распределения доходов, вы лично должны набросить на себя «вуаль неведения» и не принимать в расчёт, кем вы станете в результате принятия таких правил: нефтяным магнатом, кинозвездой, почтальоном, учителем, бомжем и т. д. Что предпочел бы в таком случае каждый член общества? Роулс утверждает, что в условиях «вуали неведения» каждый предпочел бы застраховаться от возможного падения в пропасть бедности, и потому одобрил бы такое распределение доходов, при котором общество было бы озабочено максимизацией доходов наименее обеспеченных членов общества.
Другими словами, подход Дж. Роулса означает, что справедливость распределения дохода зависит только от благосостояния самого бедного индивида.
Рыночная концепция считает справедливым распределение доходов, основанное на свободной игре рыночных цен, конкурентном механизме спроса и предложения на факторы производства. Распределение ресурсов и доходов в рыночных условиях производится безличностным процессом. Этот способ никем не придумывался и не создавался. В этом смысле показательны слова Хайека «Эволюция не может быть справедливой».
2.2 Проблема бедности и методы измерения неравенства в распределении доходов
Почему существует неравенство в доходах? Ведь в демократических странах принято говорить о равенстве возможностей, которые должны обеспечиваться соответствующими институтами рыночной экономики. Различные экономисты называют множество причин и факторов этого неравенства. Отметим лишь самые важнейшие из них.
Во-первых, от рождения люди наделены различными способностями. как умственными, так и физическими. При прочих равных условиях (эту предпосылку нужно всегда иметь в виду), человек, наделенный исключительной физической силой, имеет больше шансов стать знаменитым и высокооплачиваемым спортсменом.
Во-вторых, различия во владении собственностью, особенно доставшейся по наследству. Люди не могут выбирать, в какой семье им родиться – потомственных миллионеров или простых рабочих.
В-третьих, различия в образовательном уровне. Сама эта причина во многом зависит от первых двух названных. Ребенок, родившийся в богатой семье, имеет больше шансов получить превосходное образование и, соответственно, профессию, приносящую высокий доход, нежели дитя в бедной многодетной семье.
В-четвертых, даже при равенстве возможностей и одинаковых стартовых уровнях образования больший доход будут получать лица, которых иногда называют «трудоголиками». Эти люди готовы брать работу на дом, задерживаться по долгу службы на рабочем месте для разрешения той или иной профессиональной проблемы, игнорировать свое неважное самочувствие, лишь бы добиться высоких результатов в своей работе.
В-пятых, есть такая группа причин, которая связана просто с везением, случаем, неожиданным выигрышем и т. п. В условиях неопределенности, характерной для рыночной экономики, эта группа причин может объяснить многие случаи неравенства в распределении доходов.
Таким образом, по крайней мере, в силу названных причин равенство экономических возможностей соблюдается далеко не всегда. Бедные и богатые по-прежнему существуют даже в самых благополучных высокоразвитых странах.
Бедность является серьезной проблемой современного общества. Но что такое бедность? Как определить её уровень? Экономисты-теоретики, статистические службы правительства, профсоюзы занимаются исчислением уровня бедности. От этого будут зависеть масштабы и направления перераспределения доходов, построение налоговых систем, систем пенсионного обеспечения и т.п. В самом общем виде бедность определяется как ситуация, в которой потребности не могут быть достаточно удовлетворены. Однако это общее определение должно быть конкретизировано.
В большинстве стран Западной Европы существует несколько иной подход к идентификации бедности. В этих странах черта бедности определяется как определенный уровень жизни, рассматриваемый большинством населения страны как недостаточный для адекватной жизнедеятельности. Очевидно, что такое определение более демократично, так как учитывает мнение большинства жителей страны. Однако на практике очень часто опубликование официальных данных о черте бедности исходит из устаревших показателей, не учитывающих повышения цен, и далеко не всегда основывается на изучении мнения большинства. Определение уровня бедности оглашается правительством после утверждения его парламентом. Однако политики, которые принимают данное решение, часто недостаточно осведомлены о реальном положении дел в этой сфере.
Бедность – понятие относительное. Русская поговорка «У кого щи жидковаты, а у кого жемчуг мелковат» хорошо отражает эту проблему. Действительно, что для одной семьи – роскошь, то для другой – предмет первой необходимости. По мнению известных американских экономистов П.Самуэльсона и В.Нодхауса, уровень бедности можно определить так: бедность – это уровень дохода, достаточный для того, чтобы поддерживать прожиточный минимум. Бедные семьи обычно тратят 1/3 своего дохода на продукты питания. Увеличив эту величину в 3 раза, можно получить доход, необходимый для существования на уровне прожиточного минимума.
Прожиточный минимум – это не физиологический минимум, который можно определить как уровень дохода, необходимый для физического выживания. Прожиточный минимум, или черта бедности, говорит нам не о границе выживания, а о некоем минимальном уровне стандарта жизни. Разумеется, этот стандарт будет различным у разных стран и народов, и у одной и той же страны, но на разных исторических этапах её развития.
Недостаточность количественных оценок условий жизни посредством сугубо экономического подхода, сводимых в категорию уровня жизни, вызвала появление категории качества жизни. Это такая оценка степени удовлетворения материальных и духовных потребностей, которая не поддается прямому количественному измерению, а требует сложных приёмов косвенной квантификации (количественной оценки) по различным квалиметрическим (определяющим качество) шкалам. Сюда относятся оценки содержательности труда и досуга, удовлетворенности тем и другим, уровня комфорта в труде и быту, качества и модности одежды, качества питания и условий приёма пищи, жилья, жилой и окружающей среды вообще, функционирования социальных институтов, качественного уровня удовлетворения потребностей в общении, знаниях, творчестве, общественно-политической активности и т.п.
Совокупные доходы общества в целом и каждого из его членов оцениваются как показатели экономического благосостояния, которое имеет количественную и качественную определенность. Количественной характеристикой благосостояния является уровень жизни – категория, ориентированная на такую оценку степени удовлетворения материальных и духовных потребностей (питание, одежда, жилище, услуги и т.п.), которая поддается прямому количественному измерению в денежных или натуральных единицах. Сюда иногда включаются и качественные характеристики, тесно связанные с количественными (поскольку количество, как известно, на определенной ступени роста имеет свойство переходить в качество, в результате чего создается качественно новое состояние объекта).
Распределение бремени социального обслуживания между нуждающимися лицами, их близкими и другими членами общества выступает предметом социальных ценностных оценок. Представления о родственном долге, а также сила родственных связей (родственных социальных сетей) являются факторами, определяющими размеры нагрузки по уходу за нуждающимися на их близких и соответственно масштабы спроса на такие услуги, предоставляемые сторонними лицами. Уход за престарелыми и инвалидами рассматривается в одних странах, например в исламском мире и в государствах юга Европы, как долг родных или членов местного сообщества. В других европейских странах на родственников и друзей тех людей, которым нужен уход, такая моральная ответственность возлагается в меньшей мере, и денежный спрос на социальное обслуживание выше. Но практически повсеместно производится оценка с позиций социальной справедливости распределения издержек социального обслуживания, которые несут нуждающиеся или их семьи, имеющие разный уровень дохода.
Понятия справедливости в применении к социальному обслуживанию могут выражаться в требовании того, чтобы каждый нуждающийся в уходе, приюте имел возможность получать по крайней мере некоторый минимум таких услуг вне зависимости от его социального статуса и материального положения. Справедливость может пониматься и как право человека на социальное обслуживание в соответствии с его нуждами, то есть право на равное обслуживание при равной потребности и право на сравнительно больший объем услуг при большей в них потребности. Во многих обществах справедливость связывается с понятием равнодоступности. Оно означает, что каждый должен иметь одинаковые издержки доступа к социальному обслуживанию при одинаковой нужде в нем. Причем в издержки должны включаться не только финансовые затраты, но и все другие приносимые жертвы и упущенные возможности.
Требования, порождаемые такими представлениями о социальной справедливости, как правило, невыполнимы, если услуги будут оказываться на основе их покупки самими потребителями или их близкими. Если бы нужные людям услуги по уходу приобретались исключительно за счёт самих потребителей или за счёт их близких, то для лиц с низкими доходами зачастую было бы слишком трудно оплатить соответствующие услуги в том количестве, которое в обществе признается минимально необходимым. Различия в покупательной способности семей порождают различия в количестве и качестве покупаемых услуг при сходных потребностях. Поэтому бремя ухода за престарелыми и инвалидами окажется неодинаковым для семей с разным уровнем доходов. Бедные будут вынуждены тратить больше своих собственных сил на уход за родственниками, чем богатые. Оценка такого положения дел как несправедливого порождает требования к обществу перераспределить это бремя.
Система показателей уровня жизни, рекомендуемая ООН, включает 12 основных групп.
1. Рождаемость, смертность и другие демографические характеристики.
2. Санитарно-гигиенические условия жизни.
3. Потребление продовольственных товаров.
4. Жилищные условия.
5. Образование и культура.
6. Условия труда и занятость.
7. Доходы и расходы населения.
8. Стоимость жизни и потребительские цены.
9. Транспортные средства.
10. Организация отдыха.
11. Социальное обеспечение.
12. Свобода человека.
В России вплоть до конца 1998 г. порог бедности определяли по схеме, установленной еще в начале рыночных реформ в 1992 – 1993 гг. Тогда это делалось так: бралась стоимость минимального набора продуктов и умножалась на коэффициент 1,46. При этом исходили из того, что бедная семья в России тратит на питание в среднем 68,3% семейного бюджета; умножив стоимость этого продовольственного набора на коэффициент 1,46, получали стоимость прожиточного минимума. Но эта методика все чаще и чаще подвергалась критике, что вполне заслуженно. Ведь многие бедные семьи по полгода и более не платят за квартиру, не в состоянии приобрести самые необходимые предметы одежды и обуви и т.п.
По новой методике, которая в начале ноября 1998 г. рассматривалась правительством, прожиточный минимум рассчитывается на основе реальной потребительской корзины. В нее входит не только минимум продовольственных товаров, но и набор промышленных товаров, необходимых услуг и впервые включены даже некоторые товары длительного пользования. В новом варианте потребительской корзины присутствуют 33 вида продовольственных товаров и 79 позиций, составляющих минимальный непродовольственный набор товаров для взрослых, и 69 позиций – для детей. Таким образом, прожиточный минимум на указанный период времени (ноябрь 1998 г.) определялся по новой методике в 642 руб. в месяц на человека', что по обменному курсу 16 руб./lUSD в то время соответствовало 40 долл. (Для сравнения - в США прожиточный минимум для семьи из 4-х человек в 1992 г. определялся как 14335 долл. в год). В Москве прожиточный минимум, по данным московских профсоюзов, в мае 1999 г. вплотную приблизился к отметке 2500 руб. По расчётам Самуэльсона и Нордхауса, в 1992 г. доля населения, живущего за чертой бедности в США, составляла 14,5%. По методике Всемирного Банка (прогноз для России), бедным может считать себя тот, у кого на члена семьи приходится меньше 100 руб. (4 долл. США) в день или 3000 руб. в месяц. При таком понимании за чертой бедности в России (на середину 1999 г.) жила половина населения.2
Итак, если общество признает справедливым поддержку наименее обеспеченных слоев населения, то конкретной реализацией социальных программ занимается правительство страны.
Какова пропасть между богатыми и бедными? И можно ли вообще измерить неравенство в распределении доходов?
Одним из наиболее известных способов измерения этого неравенства является построение кривой Лоренца, названной так по имени американского экономиста и статистика Макса Лоренца. Речь идет при этом о персональном, а не функциональном распределении доходов.
Если мы разделим все население страны на 5 частей (квинтилей), т. е. по 20%, и совокупные доходы общества также по 20%, то можем увидеть, что линия, исходящая из начала осей координат (биссектриса) дает нам представление о равном распределении доходов (см. рис. 24.4).
Кривая Лоренца основана на расчёте кумулятивных долей (накопленных долей), и соответственно, построении кумулятивной кривой. На оси абсцисс мы откладываем первые 20% населения; затем, добавив вторую группу, получаем 40% населения, затем 60% и т. д. На оси ординат мы откладываем кумулятивные значения доходов: первые 20%, затем 40%, далее 60% и т.д.
Очевидно, чем больше отклоняется кривая Лоренца от биссектрисы, тем сильнее неравенство в распределении доходов, и чем активнее социальная политика государства по выравниванию доходов, тем менее вогнута данная кривая.
Есть и другие способы измерения неравенства в распределении доходов:
наиболее известный из них – децильный коэффициент: все население разбивается на 10 групп по 10% и сравниваются доходы 10% высшей группы с доходом 10% населения из низшей группы.
Так, например, в Швеции, если брать доходы низших 10% и высших 10% групп населения до вычета налогов и получения трансфертов, то соотношение будет 1:100, а если взять соотношение располагаемых доходов, то 1:4.
Еще одним показателем, используемым в экономической науке для определения степени дифференциации доходов, является коэффициент Джини (G). Этот коэффициент тесно связан с кривой Лоренца. На рис. 24.4 мы можем его рассчитать как отношение площади фигуры, находящейся между линией абсолютного равенства и кривой Лоренца (обозначим её буквой Т), к площади треугольника OFE, образуемого между линиями абсолютного равенства и абсолютного неравенства:
G=Т / OFE,
В 80-х гг. нашего столетия коэффициент Джини составлял в Японии -0,270; Швеции - 0,291; США - 0,329; Бразилии - 0,565; Великобритании -0,297; Германии - 0,250. По данным Отчёта Всемирного банка «От плана к рынку», на 1989 г. страны со средним уровнем ВНП на душу населения имели коэффициент Джини 0,45, а страны OECD (Организации экономического сотрудничества и развития) – 0,35. Примечательна динамика коэффициента Джини в России. Так, в СССР в 1991г. он составлял 0,260, а в 1993 г., после одного года радикальных экономических преобразований, уже 0,496. В 1997 г., по данным Института экономических проблем переходного периода, он снизился, составив величину 0,370.
2.3 Провалы рынка и меры государственного вмешательства
Провал (несовершенство, изъян) рынка – это такая экономическая ситуация, в которой рациональное поведение людей, адекватно реагирующих на порождаемую рынком информацию, не обеспечивает достижения Парето-эффективной аллокации ресурсов. Традиционная классификация провалов рынка включает монополию (а также монопсонию), недостаток и асимметрию информации, а также внешние эффекты (экстерналии). Напомним их особенности. В условиях монополии фирма не приспосабливается к стихийно складывающимся на рынке ценам, а выбирает наиболее выгодное для себя сочетание цены и объема выпуска (продаж). Равновесие достигается при равенстве предельного дохода предельным издержкам, причем цена превышает величину предельного дохода и, следовательно, предельных издержек. При прочих равных условиях монопольная цена превосходит цену совершенной конкуренции, а объем продаж (выпуска) монополии не достигает уровня, который имел бы место при наличии совершенной конкуренции. В результате общество в целом несет потери, поскольку суммарный излишек потребителей и производителей в конкурентной ситуации больше, чем когда цену диктует монополия[1].
Принято различать ситуативную, естественную и легальную (правовую) монополии. Все они предполагают ограничение на вхождение в отрасль. В первом случае ограничение заключается в недоступности для конкурентов отдельных условий производства в силу концентрации собственности, во втором – в потенциальной неэффективности действий конкурентов при формально свободном входе в отрасль, а в третьем – в запретах, налагаемых государством.
Ситуативная монополия предполагает рыночную власть, основанную на обладании всей совокупностью некоторого ресурса (фактора), необходимого для производства блага, рынок которого монополизируется. Такими ресурсами могут быть, например, месторождения полезных ископаемых, специализированные производственные мощности или ключевые элементы инфраструктуры. Зачастую государство способно справляться с проблемой ситуативной монополии, непосредственно используя право принуждения. Так, корпорация, сосредоточившая и своих руках все мощности по производству определенного товара, может быть разделена на основе антимонопольного законодательства.
Однако принудительное разделение или предотвращение слияний оправданы, когда отсутствует существенная экономия на масштабе, которая создает основу для возникновения естественной монополии. При наличии экономии на масштабе оптимальный объем производства отдельной фирмы может достигать или даже превышать объем рынка. При таких обстоятельствах разделение фирмы-монополиста способно вести к потерям эффективности.
Обычно это выражается в том, что демонополизация затруднена технически. Например, водопровод в городе, как правило, имеет смысл эксплуатировать какой-либо одной организации. Ее разделение на фирмы, ответственные за отдельные районы города, могло бы привести только к возникновению локальных монополий при, вероятно, более низкой эффективности. Если же противостояние монополии выразилось бы в создании параллельных систем водоснабжения, принадлежащих различным фирмам, то имел бы место неоправданный рост издержек.
Технический прогресс в ряде случаев создает предпосылки преодоления естественной монополии, как это имело место, например, в сфере телефонной связи (важную роль в данном случае сыграло, в частности, появление сотовой связи). Подчас удается открыть дорогу конкуренции за счет организационных инноваций,
Так, в некоторых регионах Западной Европы железнодорожные компании конкурируют между собой, используя свой подвижной состав на одних и тех же путях на основе общего расписания. Однако естественная монополия остается распространенным экономическим феноменом.
При наличии этого, как и других провалов рынка, существуют только две альтернативы: либо смириться с потерями эффективности, либо принудительно исключить некоторые из вариантов аллокации ресурсов, достижимых на основе добровольного взаимодействия. Второе в свою очередь также может вызывать потери, но в данном параграфе важно прежде всего показать, что организованное на основе закона принуждение является, в принципе, адекватным инструментом преодоления изъянов рынка.
В самом деле, именно потому, что применяемое государством принуждение является непосредственной альтернативой свободному взаимодействию, которое составляет суть рыночных отношений, к такому принуждению приходится прибегать, когда результаты добровольных действий неудовлетворительны. Другой альтернативы фактически не существует. Вместе с тем отсюда, разумеется, не следует, что принуждение непременно приводит или всегда способно приводить к желательным результатам.
Имея дело с монополизированными рынками, в том числе с естественными монополиями, государство обычно прибегает к регулятивным мерам, в частности к регулированию цен. Наряду с этим возможна принудительная корректировка условий доступа на рынок. В сущности, именно она имеет место при законодательном запрете монополизации.
Корректировка может выражаться не только в искусственном расширении доступа (например, за счет предотвращения ситуативной монополии), но и в его ограничении. Последнее имеет место, когда в сфере, которая в силу технических особенностей носит характер естественной монополии, воспрещается деятельность организаций, ориентирующихся на получение прибыли. Чаще всего при этом государственные или муниципальные органы сами непосредственно монополизируют соответствующие виды деятельности, например оказание коммунальных услуг и эксплуатацию коммуникационных сетей. Таким образом, реакцией на естественную монополию становится участие государства в производстве. В ряде случаев естественные монополии передаются негосударственным некоммерческим организациям (обычно в сочетании с регулированием цен).
Вместе с тем встречаются случаи, когда государство целенаправленно способствует установлению монополии. Речь идет о наделении отдельных лиц или организаций исключительными правами в сфере производства определенных товаров или услуг. Обладание такого рода исключительным правом обусловливает легальную монополию.
Примером служит монополия, достигаемая за счет патентования изобретений. Тем, кто не обладает законным образом оформленным правом, государство закрывает доступ к производству запатентованного продукта. Объектами легальной монополии могут быть также экспорт, импорт, продажа каких-либо товаров на внутреннем рынке, например винная монополия, и др.
Установление легальной монополии оправдывается поиском своего рода меньшего из зол. Всякая монополия, при прочих равных условиях, нежелательна. Однако если речь идет о патентовании, она может быть необходима, чтобы обеспечить стимулы технического прогресса. Патент позволяет извлекать выгоды из изобретения, и именно эти выгоды оправдывают затраты сил и средств на научно-исследовательские и опытно-конструкторские работы.
Вместе с тем, поскольку никакая монополия небезобидна, политика государства, как правило, предусматривает ликвидацию исключительных прав патентовладельцев по прошествии некоторого времени. Это позволяет постепенно открывать доступ к нововведениям, Например, в США срок действия патентов ограничивается 17 годами. Российским законодательством установлен срок патентов на изобретения в 20 лет. Впрочем, в силу ряда причин, нередко имеют место избыточное предоставление государством исключительных прав и распространение легальных монополий за оптимальные пределы.
Классические примеры асимметрии информации дает сфера здравоохранения. Пациент, обращаясь к врачу, вынужден полагаться на него и постановке диагноза и выборе методов лечения. Иными словами, потребитель услуги не имеет возможности контролировать производителя. Если бы производители руководствовались только принципом личной выгоды и в той или иной мере не несли ответственности за неадекватное лечение (а ответственность может быть гарантирована только с помощью и при посредстве государства), широкое распространение получили бы наиболее дорогие и не всегда наиболее эффективные варианты медицинской помощи.
Асимметрия информации даёт о себе знать и во многих других областях экономической деятельности. Обратимся, например, к сфере образования и предположим, что она состоит исключительно из конкурирующих предприятий, борющихся за максимизацию прибыли. В этой сфере, как и в ряде других отраслей услуг, потребитель вынужден выбирать производителя прежде, чем реальная услуга будет оказана, Точная оценка услуг, которые еще не оказаны, разумеется, не представляется возможной. Оценка строится на основе предположений, базирующихся на прежнем опыте.
Информационная асимметрия даёт о себе знать и при приеме на работу. В данном случае в роли поставщика выступает тот, кто нанимается на определенную должность, а в качестве покупателя – наниматель. Тот, кто ищет работу, заведомо лучше знает свои возможности, меру добросовестности и т. п., чем наниматель.
Проблема информационной асимметрии до некоторой степени решается на основе учета репутации. Однако в наиболее сложных ситуациях и жизненно важных обстоятельствах полезным оказывается вмешательство государства. Оно может приобретать различные формы. Одна из форм – лицензирование как обязательное условие занятия тем или иным видом деятельности. Для получения лицензии обычно требуется документальное подтверждение профессиональных навыков и выполнение других условий.
Возможно также прямое участие государства в производстве продукции и оказании услуг, с которыми связана существенная информационная асимметрия.
Наконец, в ряде случаев действенными инструментами, позволяющими блокировать последствия информационной асимметрии, являются разнообразные виды государственного контроля за производством и сбытом таких товаров и услуг.
Не только асимметричное распределение, но и недостаток информации у всех потенциальных участников сделок порождает неэффективность. Отсутствие достаточной информации может блокировать взаимодействие, результатом чего становится неполнота рынков, которая непосредственно проявляется в финансовой сфере.
Идеальная модель функционирования рыночной экономики предполагает, что существуют рынки для всего, что имеет экономическую ценность. В частности, 20 максимально эффективное функционирование рынка капитала возможно при наличии рынков всех будущих благ и страхования от всех видов риска. На практике действительно функционируют фьючерсные рынки, но на них обращаются лишь отдельные товары и ценные бумаги, причем сроки, на которые заключаются сделки, как правило, не превышают нескольких месяцев. Эти рынки не являются всеохватывающими и совершенными, поскольку во многих сферах, в частности связанных с интенсивными инновациями, крайне трудно прогнозировать долгосрочные изменения. Обычно государство не в состоянии полностью преодолеть общий недостаток информации. Однако оно способно распределить риск между гражданами (налогоплательщиками) в такой степени, которая недоступна частным инвесторам. Поэтому государство может финансировать и осуществлять сверхдолгосрочные проекты, страховать банковские депозиты и предпринимать другие действия, которые, в принципе, способны улучшать положение в экономике, но зачастую слишком рискованны с точки зрения частных предпринимателей.
При наличии внешних эффектов – экстерналий часть выгод или издержек, связанных с конкретным видом деятельности или фактором производства, достается посторонним лицам. Внешние эффекты возникают, когда на значение функции полезности индивида или производственной функции предприятия непосредственно влияет производственное или потребительское поведение других лиц или организаций.
При отрицательных экстерналиях индивид или фирма перекладывает на других часть издержек. Наиболее очевидный пример – загрязнение атмосферы предприятиями или автомобилями, что представляет собой внешние издержки, поскольку снижает благосостояние окружающих. Если имеет место отрицательный внешний эффект, порождающее его производство товаров или услуг осуществляется в объемах, превышающих оптимальный уровень.
При положительных экстерналиях посторонние лица бесплатно получают некоторые выгоды. Например, если человеку сделана профилактическая прививка от инфекционного заболевания, вероятность заболеть снижается не только для него лично, но и для тех, с кем он контактирует. Если бы сферы, порождающие позитивные экстерналий, развивались исключительно под влиянием рынка, имело бы место недопроизводство соответствующих товаров и услуг по сравнению с оптимальным уровнем.
Известно, что неэффективность, порождаемая экстерналиями, могла бы, в принципе, преодолеваться на основе добровольных соглашений между заинтересованными сторонами. Однако согласно теореме Коуза для этого требуется предельно четкая спецификация прав собственности и отсутствие трансакционных издержек по соответствующим сделкам. Поскольку в действительности трансакционные издержки не равны нулю и, более того, зачастую очень высоки, рынки, способные обеспечивать интернализацию внешних эффектов, складываются сравнительно редко. Собственно говоря, в каждом отдельном случае само наличие внешнего эффекта свидетельствует об отсутствии подобного рынка.
Альтернативой рынку выступают действия государства. Нередко оно берет на себя миссию интернализации внешних эффектов. Естественно, государство способно добиваться этого только с использованием присущего ему права принуждения. Закон может запрещать загрязнение окружающей среды, предусматривая штрафы и иные наказания для загрязнителей, либо вводить специальные налоги, за счет которых преодолеваются последствия загрязнения.
Те экономические блага, производство и потребление которых порождает наиболее значительные внешние эффекты, принято называть благами, обладающими особыми достоинствами, или социально значимыми благами. Таковы многие блага (услуги), создаваемые в сферах образования, культуры, здравоохранения. Поскольку положительное воздействие благ, обладающих особыми достоинствами, рассредоточивается среди членов общества, может быть оправданной общественная (государственная) поддержка производства таких благ, в частности, путем субсидирования потребления или предоставления налоговых льгот производителям.
Итак, когда речь идет о внешних эффектах, для преодоления провалов рынка широко используются не только регулятивные меры (например, запреты на загрязнение), но и меры финансовые, стимулирующие. Однако характер последних определяется особенностями государственных финансов, формируемых по большей части за счет налогов, т. е. установленных законом обязательных платежей.
Существенные провалы рынка возникают в связи с созданием общественных благ, что можно рассматривать как своего рода предельный случай деятельности, порождающей позитивные экстерналии. Этому феномену посвящена следующая глава. Производство общественных благ чаще всего обеспечивается государственным финансированием, которое во многих случаях сочетается с участием государства в производстве.
Изъяны свойственны рынку, но также и государству. Государственное вмешательство далеко не всегда обеспечивает Парето-эффективность. Это происходит не только в связи с допускаемыми в силу субъективных причин ошибками политических деятелей и государственных служащих. Изъяны (провалы, несовершенства) государства, т. е. ситуации, когда рациональное поведение индивидов в системе государственных институтов не приводит к эффективной аллокации ресурсов, возникают в силу объективных причин. При прочих равных условиях, чем активнее государство, тем более вероятны его провалы, ведущие к потерям эффективности. Вместе с тем при пассивном отношении к провалам рынка также неизбежны потери. В этой связи идеальная аллокационная политика вряд ли возможна, а практически осуществимая политика строится на основе поиска "наименьшего зла". Рационализация экономической политики государства во многом зависит от точной диагностики провалов рынка и умения подбирать методы вмешательства, наиболее адекватные каждому из них.
Распределение доходов в экономической системе, построенной на базе добровольного обмена, определяется действием рыночных сил. Известно, что в условиях совершенной конкуренции распределение осуществляется таким образом, что предельный доход, достающийся собственнику каждого из факторов производства, соответствует предельному продукту данного фактора (его предельному вкладу в экономический рост). При наличии изъянов рынка это соответствие нарушается. Вместе с тем, как бы то ни было, первичное распределение доходов осуществляет рынок. Решающее значение имеют предложение и спрос на услуги человеческого и физического капитала разного рода, а также на патенты, ссуды и другие источники доходов.
Однако конечное распределение доходов, как правило, существенно отличается от первичного. Основная причина состоит в перераспределительной деятельности государства. Перераспределение связано с взиманием налогов, поставкой общественных благ, осуществлением денежных выплат, распределением отдельных частных благ в натуральной форме.
В ходе добровольного взаимодействия индивидов перераспределение возникает в качестве исключения, но не правила. Рыночные сделки по природе своей выгодны для всех их участников, если они достаточно информированы (уместно вспомнить наглядную модель обмена, известную под названием "коробка Эджуорта–Боули"). Добровольное перераспределение имеет место в случае частной благотворительности. В то же время государство, используя присущую ему силу принуждения, постоянно проводит акции, вызывающие перераспределительные последствия.
Перераспределение, проводимое государством, бывает как целенаправленным, так и ненамеренным. Типичный пример первого – выплата пособий нуждающимся гражданам за счет налогов, взимаемых с состоятельной части населения. Что же касается ненамеренного перераспределения, то оно часто возникает, например, при размещении бремени налогов, собираемых, чтобы финансировать производство общественных благ.
Допустим, речь идет о создании новой оборонной системы. Разные индивиды оценивают ее неодинаково, что предполагает различия в предельной готовности платить за эту систему. Если бы удалось достичь равновесия Линдаля, то перераспределение не имело бы места. Однако, коль скоро это равновесие не достигается, одни индивиды облагаются завышенным, а другие заниженным налогом с точки зрения их субъективной готовности платить за данное общественное благо. Значение индивидуальных функций полезности первых снижается по сравнению с ситуацией, предшествовавшей сбору налогов для создания оборонной системы. Эти потребители общественного блага фактически отдают больше, чем получают. Значение функций полезности вторых, напротив, повышается, поскольку они приобретают общественное благо по цене, не достигающей их предельной готовности платить.
Если одни и те же действия ведут к позитивным изменениям значений функций полезности для одних индивидов и отрицательным изменениям для других, налицо перераспределение, даже если оно целенаправленно не планировалось. По существу, едва ли не любые действия государства влекут за собой принудительное перераспределение, намеренное либо ненамеренное. В самом деле, эти действия чаще всего относятся либо к разряду целенаправленных мер социальной политики, стержнем которой на практике является разнообразная помощь нуждающимся, либо к области производства общественных благ при отсутствии равновесия Линдаля.
В роли непосредственных объектов перераспределения могут выступать, во-первых, доходы, во-вторых, физический и денежный капитал как фактор производства и, в-третьих, экономические возможности. Перераспределение доходов и капитала не требует особых комментариев. Что же касается перераспределения экономических возможностей, то оно имеет место, когда государство изменяет "правила игры" в экономике.
Допустим, например, что вводятся высокие пошлины на импорт продовольствия. Такого рода мера заведомо выгодна отечественным производителям продовольствия, поскольку их конкурентные позиции сразу же улучшаются. Вместе с тем эта мера невыгодна потребителям продовольствия, так как речь фактически идет об ограничении предложения, что, при прочих равных условиях, приводит к повышению цен. В конечном счете благосостояние производителей продовольствия повышается, а уровень благосостояния его потребителей падает. Иными словами, имеет место перераспределение, хотя никакие денежные суммы или материальные объекты непосредственно не изымаются у потребителей в пользу производителей. Меняется не распределение ранее сформированных (и имеющихся потому в готовом виде) доходов и капиталов, а спектр регулируемых государством возможностей получать доход и образовывать капитал в будущем. Для одной группы лиц эти возможности расширяются, для другой – сужаются.
Перераспределение экономических возможностей происходит и в других случаях. Например, устанавливаемое законом существенное повышение уровня минимальной заработной платы способно вести к сокращению спроса на труд. В этом случае ухудшается положение тех, кто теряет работу, но улучшается положение значительной части занятых. Перераспределение экономических возможностей может иметь место и при государственном регулировании цен.
В конечном итоге перераспределение возможностей оборачивается перераспределением доходов.
Итак, действия государства, как правило, имеют перераспределительный аспект. Крайне важно заблаговременно выделять и осмысливать этот аспект при подготовке управленческих решений, касающихся общественного сектора, даже если на первый взгляд они не носят перераспределительного характера. Необходимо ясно сознавать, чьим интересам в наибольшей степени соответствует то или иное решение и чьи интересы оно в какой-либо мере ущемляет.
2.4 Дилемма справедливости и эффективности в экономике
Распределению доходов в рыночной экономике обычно свойственна значительная степень неравенства. Она определяется тремя основными обстоятельствами. Во-первых, факторами, которые были в широком смысле унаследованы индивидом. К ним относятся не только, например, полученные в наследство акции, денежные депозиты и т. п., но и природная одаренность, способности к тем или иным занятиям. Во-вторых, накопленным в течение жизни человеческим капиталом.
Важнейшим фактором его формирования выступает образование. В-третьих, удачей: человек может внезапно разбогатеть, вложив средства в одну корпорацию, и разориться, вложив средства в другую.
Дифференциация доходов возрастает в период перехода к рынку. Одна из причин этого состоит в весьма неравномерной адаптации населения к меняющемуся спектру экономических возможностей. Доходность многих видов деятельности в реальном выражении снижается, доходность других стремительно возрастает. Особенно последнее относится к предпринимательству, которое при социализме было, по существу, запрещено законом. Между тем для большинства людей кардинальная смена рода деятельности затруднительна. Во всяком случае, это непростой и болезненный процесс.
Другая причина заключается в фактическом обесценении немалой части ранее накопленного человеческого капитала в условиях экономического спада и не всегда благоприятных структурных сдвигов. Например, кризис военно-промышленного комплекса оборачивается уменьшением спроса на научно-технические и опытноконструкторские разработки в данной области, что в конечном счете ведет к понижению признаваемой рынком экономической ценности части накопленных знаний и навыков. В то же время стремительно увеличивается спрос на услуги представителей ряда профессий, подчас не относившихся ранее к числу высокооплачиваемых, В России это произошло, например, с юристами и бухгалтерами. Вместе со спросом растет вознаграждение за услуги.
Третья причина дифференциации доходов связана с тем, что стремление к достижению финансовой стабилизации побуждает к жесткой экономии бюджетных средств. Это, как правило, негативно отражается на заработках в так называемой бюджетной сфере, которые оказываются существенно ниже, чем в частнопредпринимательском секторе.
Четвертая причина может состоять в том, что выгоды от приватизации государственного имущества распределяются в обществе далеко не поровну.
Как бы ни относиться к каждой из причин, не вызывает сомнения, что государство отслеживает масштабы дифференциации, и потенциал общественного сектора используется, чтобы не перейти грань, за которой вероятны ярко выраженные проявления социального недовольства.
Обратимся к ситуации, складывающейся в России. Переход к рынку сопровождался резкой дифференциацией доходов. В 1991 г. совокупный доход 10% наиболее обеспеченных жителей России в 4,5 раза превосходил совокупный доход 10% ее наименее обеспеченных жителей. В 1993г. это соотношение составило уже 11,2 раза, а в 1995г.– 13,5 раза.
Современные государства, как правило, неиндифферентны к резкому неравенству доходов индивидов. Это объясняется тем, что чрезмерное неравенство воспринимается гражданами государства как нечто противоречащее принципам справедливости. Вместе с тем само понимание справедливости отнюдь не единообразно. В разных обществах доминируют неодинаковые представления о том, какое распределение доходов можно признать справедливым и какую степень неравенства следует считать чрезмерной.
Экономическая наука как таковая не в силах обосновать какое-либо единственно верное понимание справедливости. Более того, строго говоря, даже понятие равенства не столь просто, как это кажется на первый взгляд. Допустим, что все члены общества наделены абсолютно одинаковыми наборами потребительских благ. Будет ли это означать, что они находятся в равном положении? Положительный ответ проблематичен, поскольку у людей разные вкусы, и если одних предлагаемый набор полностью удовлетворит, то другие пожелают изменить его структуру и с этой целью, вероятно, прибегнут к обмену. Быть может, под экономическим равенством следует подразумевать равенство доходов и имущества, выраженное в денежной форме? На практике именно это обычно имеется в виду.
Однако обладание одной и той же денежной суммой может в различной степени удовлетворять двух несхожих между собой индивидов. Нет оснований предполагать не только равенство, но даже сопоставимость полезностей денежной единицы для разных членов общества.
При анализе политических решений представления о справедливости обычно принимаются как заданные экзогенно по отношению к экономическим оценкам. Некоторые типичные представления о справедливости предстоит рассмотреть ниже. Пока же достаточно констатировать, что на практике стремление следовать принципам справедливости, как правило, побуждает несколько выравнивать доходы.
Между тем перераспределение, нацеленное на достижение большего равенства доходов, вообще говоря, ведет к экономическим потерям. Потери возникают прежде всего потому, что всякое принудительное перераспределение требует административных издержек (издержек перераспределения). Необходимо идентифицировать тех, за чей счет предстоит осуществлять перераспределение, а также тех, кто получит право на вспомоществование. Далее, требуется наладить сбор и распределение средств. Все это предполагает затраты, из которых и складываются административные издержки.
Однако еще более важное значение имеет дестимулирующий эффект перераспределения. С одной стороны, у граждан с высокими доходами снижается заинтересованность в напряженном труде и предпринимательской активности. Дело в том, что значительная часть дополнительно заработанных средств может быть изъята для помощи нуждающимся. С другой стороны, у самих нуждающихся ослабляется заинтересованность в поиске приемлемо оплачиваемой работы и в интенсификации трудовых усилий.
При известных обстоятельствах могут создаваться так называемые ловушки безработицы и бедности. Они бывают сильными и слабыми.
Сильная ловушка безработицы возникает в тех случаях, когда чистый денежный доход безработного, формируемый за счет перераспределения, фактически превышает чистый денежный доход такого же индивида, который имеет работу. Следует учитывать, что чистый денежный доход работающего меньше, чем его заработная плата. Из последней следует вычесть налоги (безработные часто освобождаются от налогов), а также расходы, связанные с работой, например, стоимость проезда до предприятия.
Сильная ловушка безработицы встречается сравнительно редко. Несколько более обычное явление представляет собой слабая ловушка безработицы. Это ситуация, когда чистый денежный доход работающего индивида превышает доход, которым он располагал бы, не имея работы, но разница недостаточна, чтобы перекрыть отрицательную полезность трудовых усилий для того, кто их предпринимает. Разумеется, в этом случае предполагается, что работа, которую мог бы найти данный индивид, сама по себе непривлекательна и заниматься ею можно, только если заработок перекрывает тягость труда.
Сильная ловушка бедности имеет место в ситуации, когда дополнительный доход, который индивид получает, интенсифицируя свои трудовые усилия, оказывается недостаточным, чтобы превысить дополнительное эксплицитное и имплицитное налогообложение. Эксплицитное налогообложение – это собственно налоги, собираемые государством, в том числе с целью перераспределения. Имплицитное налогообложение – это потери, которые несет индивид в связи с тем, что, достигнув определенного уровня заработка, он перестает получать от государства те или иные пособия, предназначенные для помощи малоимущим. Тому, кто оказался в сильной ловушке бедности, выгодно меньше работать, с тем чтобы повысить свое благосостояние за счет снижения налогов и получения социальных выплат.
Слабая ловушка бедности отличается от сильной лишь тем, что при наличии первой прирост эксплицитного и имплицитного налогообложения примерно равен приросту заработной платы, так что с точки зрения чистого денежного дохода активизация трудовых усилий не ведет ни к очевидным потерям, ни к существенным приобретениям. В этом случае, как и при слабой ловушке безработицы, решающее значение приобретает тягость труда как такового.
Итак, мы убедились, что принудительное перераспределение, нацеленное на достижение большего равенства, чаше всего ослабляет трудовую и предпринимательскую активность. Впрочем, встречаются исключения. Допустим, что в исходном состоянии распределение доходов в большой степени определялось сохранением феодальных привилегий, которыми пользовался узкий круг лиц. Ликвидация этих привилегий влечет за собой большее равенство доходов и имеете с тем способствует стимулированию трудовых усилий и инвестированию капиталов, поскольку более значительная часть результатов достается производителям.
Однако для современной рыночной экономики, в которой привилегии отдельных лиц, искусственно поддерживаемые государством, в целом не играют значительной роли, характерен конфликт между равенством и эффективностью. Ослабление экономического неравенства в масштабах, при которых предельные доходы существенно отклоняются от предельных продуктов соответствующих факторов производства, ведет к замедлению экономического роста. И наоборот, стимулируя повышение эффективности, обычно приходится до некоторой степени жертвовать равенством доходов.
После Великой Депрессии общество стран Запада на практике убедилось, что стихийный рыночный механизм может привести к сильнейшим спадам, хронической безработице и огромным зонам нищеты. Поэтому, хотя теоретические споры о допустимых размерах дифференциации доходов и социальной справедливости ничуть не были завершены, начались вводиться практические мероприятия, направленные на предотвращение и смягчение социальных последствий кризисов. С конца 40-х – начала 50-х гг. XX века официальной доктриной правительств многих стран становится концепция «государства благосостояния» (Welfare state), которая провозгласила необходимость широких мер социальной защиты для бедных. Но можно сказать, что политика социальной поддержки начала проводиться в странах Запада значительно раньше мероприятий «Welfare State», еще с конца XIX - начала XX века (см. таблицу 24.1.): социальные реформы Бисмарка в Германии, Дизраэли в Великобритании, «Новый курс» Рузвельта в США. Государство провозглашалось ответственным за поддержание минимального жизненного стандарта граждан страны.
Годы принятия законов в области социального страхования (XIX-начало XX вв.):
| по болезни | по безработице | по старости | |
| Германия | 1883 | 1927 | 1889 |
| Англия | 1911 | 1911 | 1908 |
| США | 1935 | 1935 | 1934 |
Программы «государства благосостояния» включают в себя как программы социального страхования, относящиеся ко всем слоям населения, так и систему мероприятий для поддержки доходов наименее обеспеченных семей: страхование по старости, от болезней, пособия по безработице дополнительные программы государственной помощи для неполных семей с детьми, слепых, нетрудоспособных и т. п., включающие продовольственные талоны, обеспечение жильем, другие социальные услуги.
Особая роль в программах «государства благосостояния» отводится трансфертам. Трансферт – это безвозмездная передача части дохода или имущества индивида или организации в распоряжение других лиц. Следует отметить, что при помощи трансфертов могут перераспределяться не только денежные доходы, но и экономические возможности. Например, бедные семьи в результате получают больше возможностей для того, чтобы дать хорошее образование своим детям.
В последние годы правительства многих стран столкнулись, во-первых, с растущей социальной нагрузкой на государственный бюджет и, следовательно, его растущим дефицитом, и, во-вторых, проблемой стимулов поиска работы бедными гражданами. Дело в том, что развитая система социальной помощи в странах с рыночной экономикой все чаще делала невыгодным для малоимущих граждан поиск работы. Продовольственные талоны, пособия для матерей с детьми и т. п. составляли такую величину, что оказывалось невыгодным искать работу:
получаемый в таком случае заработок оказывался ненамного выше, а то и ниже суммарных социальных выплат, получаемых прежде. В связи с этим многие экономисты предложили ввести систему негативного (отрицательного) подоходного налога (НПН), которая заменила бы собой многочисленные денежные и натуральные выплаты единой системой денежной поддержки бедных семей.
Идея НПН состоит в следующем: платить гарантированный минимум тем, чей доход равен нулю. Но, если человек нашел работу, и его доход начинает расти, то НПН будет сокращаться с определенным коэффициентом. Например, коэффициент равен 50%. Тогда, при получении заработка мы должны уменьшить его на 50% и данную величину вычесть из гарантированного дохода. Так, если гарантированный доход составляет 8000 долл., то при заработке 4000 долл. мы должны уменьшить его на 50% (4000 х 0,5) и эти 2000 долл. вычесть из 8000 долл. Полученный общий доход составит 4000 + (8000 – 2000) = 10000 долл.
В связи с программой перераспределения доходов экономисты рассматривают так называемую дилемму справедливости и эффективности.
Суть её заключается в том, что стремление к большему равенству может обернуться для общества потерями в экономической эффективности. Ведь растущее финансирование социальных программ требует повышения налогов и их перераспределения. Так, если в виде налога часть дохода Иванова перейдет в виде пособия Петрову, то это снизит стимулы к труду у обоих. Иванов вправе спросить: «Зачем много работать, если значительную долю заработанного придется отдать в виде налога?». А Петров будет рассуждать по-своему: «Зачем много работать, если и так получаю пособие?»
Кроме того, существуют потери в ходе процесса перераспределения доходов. Американский экономист А.Оукен назвал эту проблему «дырявым ведром» социальной помощи. Утечки связаны с дорогостоящей, зачастую неповоротливой, бюрократической системой управленческого аппарата. Следовательно, часть пособий уходит в карманы высокооплачиваемых администраторов, консультантов и сотрудников различных налоговых и социальных служб. По подсчётам Оукена, утечка из «дырявого ведра» такова:
из 350 долларов, взятых у состоятельных граждан, 250 долларов теряются в процессе передачи бедным.
Поскольку стремление к большему экономическому равенству диктуется пониманием справедливости, преобладающим в том или ином конкретном обществе, не существует универсальных рецептов разрешения конфликта между эффективностью и равенством. Как уже отмечалось выше, инструментарий экономической науки непригоден для того, чтобы выносить решающие суждения по проблемам, которые касаются справедливости. Зато именно эта наука призвана обосновывать критерии эффективности.
2.5 Критерий компенсации (критерий Калдора–Хикса)
Осмысление конфликта между равенством и эффективностью побуждает уточнить смысл последней. Базовым критерием эффективности для рыночной экономики является, как известно, критерий Парето. Согласно этому критерию улучшение (повышение эффективности) имеет место в тех и только тех случаях, когда переход от одной аллокации к другой, во-первых, влечет за собой позитивное изменение значения функции полезности хотя бы одного индивида и, во-вторых, не вызывает негативных изменений значений функций полезности ни одного из прочих индивидов. Ухудшение же (снижение эффективности) происходит, когда значения функций полезности одного или нескольких индивидов понижаются, а для остальных индивидов эти значения остаются неизменными.
Добровольный обмен ведет к Парето-улучшениям. Однако, если в поле зрения экономиста попадает принудительное перераспределение, которое осуществляет государство, одного только критерия Парето оказывается недостаточно.
Обратимся к рис. 3.1.
На нем по осям координат откладываются значения функций полезности двух индивидов: U1 и U2 (соизмеримость значений двух функций не предполагается). 
Рисунок 3.1.
Прочерченная на рисунке кривая называется линией достижимых полезностей. Она обладает следующими свойствами. Каждая линия достижимых полезностей соответствует какому-либо набору ресурсов и технологий, которыми может располагать общество. Любая из точек данной линии фиксирует некоторое соотношение значений индивидуальных функций полезности (например, U A 1 U A 2 ), которые достижимы при данном наборе ресурсов и технологий при условии их максимального использования. Под максимальным использованием подразумевается отсутствие возможностей Парето-улучшений. Имеется в виду, что если уровень благосостояния первого индивида соответствует UA 1 , то уровень благосостояния второго в данных условиях не может быть увеличен сверх U A 2 . Поэтому линию достижимых полезностей называют также границей достижимых полезностей. Разным точкам линии достижимых полезностей соответствуют различные распределения благ (ресурсов). Например, в точке В значение функции полезности второго индивида выше, чем в точке А. В то же время значение функции полезности первого индивида в точке В меньше, чем в А. Есть основания для вывода, что движение из A в В соответствует некоторому перераспределению. Чистое перераспределение отображается перемещением по одной и той же границе достижимых полезностей. Однако ранее мы убедились, что на практике перераспределение, как правило, не бывает чистым. Оно сопряжено с потерями. Какие-то блага (ресурсы) в процессе перераспределения утрачиваются или остаются непроизведенными.
Следовательно, надо исходить из того, что на практике не удастся остаться на прежней кривой достижимых полезностей. Чтобы обеспечить второму потребителю уровень полезности UB 2 , придется переместиться, например, в точку С. В ней значение функции полезности первого индивида (UC 1 ) ниже не только по сравнению с первоначальным (UA1), но и по сравнению с тем, которое имело бы место в результате чистого трансферта (UB1). Перемещение из В в С представляет собой Парето-ухудшение (благосостояние первого индивида снижается, тогда как благосостояние второго остается неизменным). В то же время ситуации А и С несопоставимы по критерию Парето, хотя интуитивно экономика, находящаяся в состоянии А, воспринимается как более результативная, чем находящаяся в состоянии С. Что стоит за таким восприятием?
Перемещение из С в А представляет собой потенциальное Парето-улучшение. Если такое перемещение происходит, то первый индивид существенно выигрывает, а второй проигрывает. Однако в принципе возможно, что первый индивид полностью возместит второму его потери и все равно останется в положении, преимущественном по сравнению с состоянием С. Такая потенциальная (мыслимая, теоретически возможная) компенсация привела бы экономику в состояние В. Следует подчеркнуть, что вовсе не предполагается, будто компенсация происходит на самом деле. Если бы она имела место, то налицо было бы фактическое, а не потенциальное Парето-улучшение. Последнее означает на деле переход в такое состояние, в котором для участников экономической жизни доступно больше ресурсов, чем первоначально, либо эти ресурсы используются с большей совокупной отдачей.
Потенциальное Парето-улучшение можно представить как возрастание национального дохода. Допустим, что в результате каких-либо мероприятий национальный доход увеличивается на 1 млн. денежных единиц, причем доход одной группы населения увеличивается на 1,5 млн. единиц, а доход другой уменьшается на 500 тыс. единиц. Тогда в распоряжении первой группы находятся средства, достаточные для того, чтобы, в принципе, можно было компенсировать второй группе ее потери, пожертвовав полумиллионом денежных единиц, и тем не менее остаться в выигрыше, удержав дополнительный миллион денежных единиц.
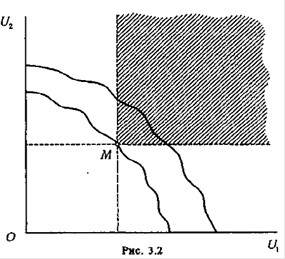
Теперь можно сформулировать критерий компенсации, называемый также критерием Калдора–Хикса в честь предложивших его британских экономистов Н. Калдора и Дж. Хикса. Повышение экономической эффективности имеет место в тех и только тех случаях, когда в новой ситуации индивиды, которые получили дополнительные выгоды, способны компенсировать проигравшим их потери и при этом остаться в выигрыше по сравнению с первоначальной ситуацией. Улучшением по Калдору–Хиксу является перемещение из любой точки линии (в общем случае – многомерной поверхности) достижимых полезностей, проходящей ближе к началу координат, в любую точку линии (поверхности) достижимых полезностей, отстоящей от начала координат на большее расстояние (см. рис. 3.2: заштрихована область Парето-улучшений для ситуации, соответствующей точке М). 
Критерий компенсации позволяет четко разделить изменения в уровне экономической эффективности и процессы перераспределения. Практические последствия действий государства можно представить как совокупность этих двух компонентов. В связи с тем, что такие последствия включают перераспределение, к ним далеко не всегда непосредственно приложим критерий эффективности по Парето. В то же время, фиксируя сдвиги в эффективности по Калдору–Хиксу, можно находить ответ на вопрос, выигрывает или проигрывает от изменений общество в целом, а фиксируя моменты перераспределения, выявлять, каким именно группам достается выигрыш.
К сожалению, применение критерия компенсации может приводить к противоречивым результатам. Это показано на рис. 3.3. На нем прочерчены две границы достижимых полезностей Т1Т2 и S1S2. Они пересекаются, что, вообще говоря, не исключено.

Рисунок 3.3
Причиной может быть различие во вкусах двух индивидов. Допустим, что все блага (ресурсы) сосредоточиваются в распоряжении первого из них, причем этот индивид субъективно оценивает набор благ, соответствующий линии S1S2, выше, чем набор, соответствующий границе достижимых полезностей Т1Т2. Тогда точка Т, находится ближе к началу координат, чем точка S1. Теперь пусть все блага (ресурсы) сконцентрированы в руках второго индивида. Отнюдь не исключено, что для него набор, соответствующий линии Т1Т2, более привлекателен, чем альтернативный, так что точка Т2 дальше от начала координат, чем S2. В подобном случае, по критерию Парето, состояние Р более эффективно, чем S, а состояние R предпочтительнее, чем Т. В то же время, по критерию компенсации, Р равноценно Т, a S равноценно R. Получается, что, например, перемещение из Р в R является одновременно потенциальным Парето-улучшением (принимая во внимание равноценность Р и T) и потенциальным Парето-ухудшением (принимая во внимание равноценность S и R). Однако на практике противоречивость оценок по критерию Калдора–Хикса обычно не возникает, и этот критерий широко используется для определения сравнительной эффективности различных вариантов действий государства. Вместе с тем следует отметить, что варианты, предпочтительные по критерию компенсации, не обязательно реализуются. Дело в том, что, если, например, в соответствии с таким вариантом выгоды концентрируются у сравнительно узких слоев общества и в то же время многие несут потери, решение, эффективное по Калдору–Хиксу, может оказаться политически неприемлемым. Здесь уместно вспомнить о конфликте между эффективностью и равенством. Политика развития общественного сектора неизбежно отражает не только возможности максимизации экономической эффективности, но и требования справедливости.
Контрольные вопросы
1. Почему перераспределение, проводимое государством, бывает как целенаправленным, так и ненамеренным?
2. Что может выступать в роли непосредственных объектов перераспределения?
3. Какие факторы определяют неравенство доходов?
4. В чем состоит специфика дифференциации доходов в период перехода к рынку?
5. Почему перераспределение связано с издержками?
6. Что представляют собой сильная и слабая ловушки безработицы?
7. Что такое сильная и слабая ловушки бедности?
Информация в лекции "Фетальный период" поможет Вам.
8. В чем заключается конфликт между равенством и эффективностью?
9. В чем состоит смысл критерия компенсации?
10. Почему применение критерия компенсации иногда приводит к противоречивым результатам?
11. Что представляет собой функция общественного благосостояния?
12. В чем состоит различие между утилитаристским, роулсианским и либертаристским истолкованиями общественного благосостояния?
[1] Рассматривая данный изъян рынка в более широком контексте, следует сказать, что добровольное взаимодействие, вообще говоря, не обеспечивает максимальной эффективности, если некоторые из участников рынка обладают рыночной властью.





















