Средства инженерной разведки и разминирования
ТЕМА: Средства инженерной разведки и разминирования
ВРЕМЯ: 2 часа
МЕСТО ПРОВЕДЕНИЯ:__________________________________________
УЧЕБНЫЕ ЦЕЛИ:
1. Дать понятия о средствах инженерной разведки и разминирования
2. Научить личный состав порядку развертывания и работе со средствами инженерной разведки.
УЧЕБНЫЕ ВОПРОСЫ:
1. Миноискатель ИМП. Назначение, ТТХ, состав, порядок работы с миноискателем.
Рекомендуемые материалы
2. Миноискатель ИМП-2. Назначение, ТТХ, состав, порядок работы с миноискателем.
3. Миноискатель ММП. Назначение, ТТХ, состав, порядок работы с миноискателем.
4. Миноискатель ММП. Назначение, ТТХ, состав, порядок работы с миноискателем.
Ход занатия:
ВВОДНАЯ ЧАСТЬ-5мин
Согласно проведенным оценкам, ежегодно в мире производится от 5 до 10 млн. мин. К настоящему времени в 64 странах их установлено и сохраняется в боевом положении примерно 110 млн. Только в Афганистане установлено до 10 млн. мин. На территории Боснии их установлено около 2 млн. штук, а с учетом территории Хорватии и Сербии это количество возрастает до 3,7 млн. штук. По заявлению Международного Красного Креста, в Мозамбике все главные дороги представляют опасность для передвижения, поскольку в течение 18-легней гражданской войны на них было установлено 2 млн. мин.
В соответствии с докладом ООН ежегодно в мире на минах гибнет 26000 человек и приблизительно столько же получают ранения. Жертвами в основном становится гражданское население, до половины которых составляют дети.
Разминирование является весьма медленным и трудоемким процессом. Снятие противопехотной мины, стоимость производства которой составляет 3доллара США, обходится в 300-1000 долларов США. В течение года во всем мире снимается не более 200-300 тысяч мин, а заново устанавливается более миллиона новых мин. В среднем при разминировании каждых 5 тысяч мин погибнет 1 сапер и 2 получают ранения. Даже если считать, что мины устанавливаться не будут, расходы на сплошное разминирование во всех странах составят 33 млрд. долларов США, и на него при нынешних темпах работ потребуется 500 лет.
Опыт боевых действий в Афганистане, Чечне показывает, что успех выполнения задач по поиску мин и фугасов, а также складов оружия в полной мере зависит от того, есть ли в подразделении инженерных войск специалисты, до тонкости изучившие демаскирующие признаки объектов поиска и умело применяющие средства разведки. Так, например, при обеспечении боевых действий в зеленой зоне провинции Парван в феврале 1984 года составом группы поиска с помощью искателя ИМБ был обнаружен склад с оружием и боеприпасами на глубине 2 м. Склад обнаружил младший сержант Р. Кумурзин, в совершенстве владевшый этим прибором. На территории Чечни по состоянию на 05.09.96 года силами частей и подразделений инженерных войск выполнены следующие объемы задач:
1. Разведано и разминировано:
- местности - 54 тысячи га,
- зданий и сооружений - 1060 тысяч га,
в том числе жилых домов — 317,
школ - 47,
больниц - 32,
детсадов - 10,
объектов - 793,
трасс ЛЭП - 780 км,
дорог - 775 км.
2. Всего обнаружено и уничтожено 470 тысяч взрывоопасных предметов. В том числе:
- инженерных мин - 11600,
- артиллерийских снарядов - 99200,
минометных мин - 75400,
-ПТУР-1280,
- гранат - 86560,
- авиабомб - 195,
- прочих ВОП-195925.
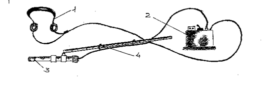
I.МИНОИСКАТЕЛЬ ИМП.НАЗНАЧЕНИЕ, ТТХ, СОСТАВ, ПОРЯДОКРАБОТЫ- 25 мин
Миноискатель ИМП.
Индукционный миноискатель полупроводниковый (ИМП) служит для поиска металлических предметов, находящихся в грунте.
Принцип работы
В поисковом элементе расположены две приемные катушки и одна генераторная катушка. Генераторная катушка излучает электромагнитные волны, принимаемые приемными катушками – суммарная ЭДС в них ровна нулю. При внесении металлических предметов в поле волны отражаются от них – появляется сигнал разбалансирования, прослушиваемый в телефонах.
Основные тактико-технические характеристики
| Глубина обнаружения не менее (см): - ПТМ - ППМ | ……………………80 ……………………...8 |
| Ширина поиска, зона (см): - ПТМ - ППМ | …………………….30 …………………….20 |
| Источник питания (Э 373) (шт) | ……………………4 |
| Время непрерывной работы (час) | …………………100 |
| Масса поисковой системы (кг) | ……………………2.4 |
| Масса миноискателя (кг) | ……………………6.6 |

Рис. 1 Миноискатель ИМП. 1-головные телефоны; 2-усилительный блок; 3-поисковый элемент; 4-штанга.
Порядок работы
1. Собирать штангу из алюминиевых колен;
2. Подключить к усилительному блоку штекера головных телефонов и соединительный кабель поискового элемента;
3. Надеть телефоны, при этом одна из раковин не должна закрывать ухо, чтобы слушать приказания;
4. Перевести тумблер в положение «ВКЛ» и проверить работоспо-собность (писк, установка тональности и чувствительности);
5. Непрерывно перемещая перед собой вправо и влево, двигаться вперед, держа элемент 5 – 7 сантиметров от земли.
При возрастании сигнала – больше металла.
Изделие ПР – 507 предназначен для поиска и обнаружения в грунте, воде и снегу металлических и металлосодержащих объектов.
II.МИНОИСКАТЕЛЬ ИМП-2.НАЗНАЧЕНИЕ, ТТХ, СОСТАВ, ПОРЯДОКРАБОТЫ- 25 мин
Миноискатель ИМП – 2
Основные тактико-технические характеристики
| Глубина обнаружения в грунте не более (см): типа ТМ – 62М типа ПМН – 2 | 40 8 |
| Минимальное расстояние между двумя миноискателями (м)... | 8 |
| Источник питания (8РЦ83) (шт)…………………………………. | 1 |
| Время непрерывной работы (час)………………………………... | 10 |
| Масса изделий в укладочном чемодане (кг)…………………….. | 8 |

Рис. 2. Миноискатель ИМП – 2. 1-упоковочный переносной ящик; 2-сборный алюминиевой щуп; 3-поисковый элемент; 4-телескопическая штанга; 5-блок питания; 6-блок обработки сигнала; 7-головные телефоны.
Принцип действия индукционного миноискателя основан на фиксации вторичного поля вихревых токов, возникающих в металлических предметах под воздействием первичного импульсного электромагнитного поля.
III.МИНОИСКАТЕЛЬ MМП.НАЗНАЧЕНИЕ, ТТХ, СОСТАВ, ПОРЯДОКРАБОТЫ- 20 мин
Миноискатель ММП.
Основные тактико-технические характеристики
| Глубина обнаружения мин (см): - ПТМ в металлическом корпусе -ПТМ в не металлических корпусах………………………………. -ППМ в корпусах из любого материала…………………………… | До 50 До 15 До 7 |
| Время непрерывной работы (час)………………………………….. | 10 |
Многоканальный (радиоволновой, индукционный, совмещенный) миноискатель полупроводниковый переносной предназначен для поиска противотанковых и противопехотных мин в корпусах из любых металлов и материалов.

Рис. 3. Миноискатель ММП: 1-поисковый элемент; 2-щуп; 3-штанга; 4-блок обработки сигналов; 5-головные телефоны
.
Принцип действия ММП основан на совмещении двух способов:
1. Радиоволнового – зондирующие сигналы излучаются передающими антеннами, отражаются от поверхности грунта, принимаются приемными антеннами и детектируются.
2. Индукционного - улавливается отраженная электромагнитная волна с характерными для Ме характеристиками (амплитуда, фаза).
Порядок работы
При разведке местности поисковый элемент миноискателя перемещают взмахами влево – вправо параллельно поверхности грунта на высоте 10 сантиметров со скоростью 0,6 – 0,9 м/с (2 – 3 км/ч). После каждого взмаха, поисковый элемент перемещают вперед на 1/3 его длинны. Появление короткого сигнала указывает на наличие постороннего предмета.
IV.МИНОИСКАТЕЛЬ РВМ-2.НАЗНАЧЕНИЕ, ТТХ, СОСТАВ, ПОРЯДОКРАБОТЫ- 20 мин
Миноискатель РВМ – 2.
Основные тактико-технические характеристики
| Глубина обнаружения мин (см): - ПТМ………………. - ППМ……………… | до 10 до 5 |
| Ширина зоны обнаружения (см): - ПТМ……………… - ППМ……………… | до 20 до 15 |
| Масса миноискателя (кг)………………………………... | 3,2 |
| Масса поисковой части (кг)…………………………….. | 1,7 |
| Время непрерывной работы (час)………………………. | 10 |
| Температурный диапазон применения (ОС)…………… | от +50 до –50 |
| Расчет (чел)………………………………………………. | 1 |
Миноискатель РВМ – 2 предназначен для поиска противотанковых и противопехотных мин с корпусами из любых материалов.

Рис. 4. Миноискатель РВМ – 2: 1-поиисковый элемент; 2-держатель; 3-телескопическая штанга; 4-цанговый зажим; 5-блок обработки сигналов; 6-головные телефоны.
Принцип действия основан на фиксации различия диэлектрических проницаемости ВВ, материала корпуса мины и среды, в которой установлена мина. Зондирующие сигналы излучаются передающими антеннами, отражаются от поверхности грунта, принимаются приемными антеннами и детектируются. При перемещении поискового элемента над миной в телефонах появляется звуковой сигнал.
Подготовка к работе
1. Собрать миноискатель;
2. Подключить головные телефоны к блоку обработки сигналов;
3. Вставить источники питания;
4. Проверить работоспособность.
Порядок работы
Поиск мин в зависимости от состояния грунта производится на одном из двух режимов поиска: «I» или «П». Режим «I» применяется для поиска мин, в снег, а так же под слоем воды, а режим «П» в остальных случаях.
Продвигаясь в заданном направлении, перемещать поисковый элемент параллельно земле на высоте 3 – 7 сантиметров плавными взмахами, следя за тем, чтобы не осталось необследованных участков. При появлении в телефонах сигнала остановиться и уточнить местонахождение объекта
ЗАКЛЮЧИТЕЛЬНАЯ ЧАСТЬ-5 мин
Подвожу итог занятиям, отвечаю на поставленные вопросы, даю задание на самоподготовку.
Конспект – Средства инженерной разведки и разминирования
Лекция "4 - Основы технологии микробиологии" также может быть Вам полезна.
Россия, 2000 — 7 с.
Дисциплина – Инженерная подготовка
Миноискатель ИМП. Назначение, ТТХ, состав, порядок работы с миноискателем.
Миноискатель ИМП-2. Назначение, ТТХ, состав, порядок работы с миноискателем.
Миноискатель ММП. Назначение, ТТХ, состав, порядок работы с миноискателем.
Миноискатель ММП. Назначение, ТТХ, состав, порядок работы с миноискателем.























