Ремонт и эксплуатация нефтепромыслового оборудования
Тема 7. Ремонт и эксплуатация нефтепромыслового оборудования. Ремонт узлов талевой системы, вертлюгов
Талевая система любой буровой установки включает в себя кронблок, талевый канат, талевый блок и крюк.
Кронблок является неподвижным узлом талевой системы и предназначен для поддержания на весу талевого блока, крюка и под- вешенного на нем груза.
Талевый блок (рис. 5) является подвижной частью талевой сис- темы и состоит из двух щек 1 и 10, соединенных между собой верх-
ним щитом 9 и нижним щитом 14. В щеках закреплена ось 4, на кото- рой установлены канатные блоки 8, посаженные на роликоподшипни-
ки 5, разделенные кольцами 6, 3 и 11. Смазка к подшипникам подает- ся через масленки 12 по каналам в оси. Ось 4 с одной стороны упира- ется выступом в щеку, а с другой закреплена гайкой 13, которая сто- порится шайбой. От проворота ось удерживается штифтом 2. На серь- гу 15 подвешивается крюк. Она соединена со щеками при помощи пальцев 16, а щеки между собой скрепляются болтами 17. Канатные ролики закрываются откидными кожухами 7, которые предназначены для исключения соскакивания каната.

Рис. 5. Талевый блок:
1, 10 – щеки; 2 – штифт; 3, 6, 11 – кольца; 4 – ось; 5 – роликоподшипники; 7 – откидные кожухи; 8 – канатный блок; 9 – верхний щит; 12 – масленки; 13 – гайка; 14 – нижний щит; 15 – серьга; 16 – палец; 17 – болт
Рекомендуемые материалы
При их эксплуатации следят за надежностью крепления деталей и своевременной смазкой, которая осуществляется согласно карте смазки один раз в неделю. Состояние подшипников контролируется вращением канатных блоков, которые должны вращаться свободно, без заедания и шума, не задевая кожухи. Если подшипники при рабо-
те нагреваются свыше 70
°C , необходимо промыть их при помощи
ручного насоса керосином, дизельным топливом или бензином, а за-
тем веретенным маслом, подогретым до 80–100
°C . После этого под-
шипник набивают универсальной среднеплавкой смазкой. Шум в подшипниках при вращении свидетельствует об износе подшипни-
ков, а заедание канатных блоков вызвано поломкой подшипников. В обоих случаях подшипники подлежат замене.
Канатные блоки обычно отливаются из стали 35Л. Поверхности канавок закаливаются и шлифуются. Трение каната вызывает износ
канавок, причем более интенсивно изнашиваются блоки, располо- женные ближе к ходовому концу. Для равномерного распределения износа и увеличения срока службы всего узла неразрезную ось или
ось секции блоков поворачивают на 180
°C . Можно менять секции
местами при трехопорной конструкции. Для этого талевый блок кла- дут на пол буровой, снимают канат, изменяют положение осей с бло-
ками, после чего вновь производят оснастку. Износ ручья вызывает углубление и уменьшение диаметра канавки блока и контролируется
проходным и непроходным калибрами. Блоки, в канавки которых проходит непроходной калибр, или имеющие забоины и вмятины на поверхности ручья, подлежат замене и восстановлению в ремонтной
мастерской.
Ремонт таких кронблоков и талевых блоков производится в мас- терских.
Кронблок разбирают в следующем порядке: открепляют и сни- мают кожух, расшплинтовывают и отвинчивают гайки опор, снимают крышки опор и ось с роликами, отвинчивают стопорные винты за- порной втулки и снимают канатные блоки с подшипниками, затем
выпрессовывают подшипники из ступиц. Отремонтированный кронб-
лок собирают в обратном порядке. Выработка в щеках талевых бло- ков восстанавливается наплавкой.
Вмятины в кожухах кронблоков и талевых блоков выправляют- ся после нагрева газовой горелкой, а надрывы заваривают. Места сварки зачищают абразивным кругом и закрашивают.
Буровые крюки и крюкоблоки служат для поддержания на весу бурильной колонны с вертлюгом во время бурения, для подвешива- ния с помощью штропов и элеватора обсадных и бурильных колонн при СПО, а также для выполнения вспомогательных работ в процессе бурения и монтажно-демонтажных работ. По конструкции крюки бы- вают однорогими, двурогими и трехрогими. По способу изготовления крюки делятся на литые, кованные и составные. Последние (рис. 6) наиболее просты в изготовлении. Крюк 1 выполнен из стальных пла- стин, вырезанных из листового проката высоколегированной стали и соединенных между собой заклепками. В расточенное в пластинах крюка отверстие запрессована ось 22, образующая со скобами 21 и осью крепления скоб 20 боковые рога для подвески штропов. Скобы предохраняют штропы от соскакивания во время работы. Пластинча- тый крюк шарнирно соединен со стволом 11 пальцем 19. Ствол через гайку 12, стакан 14 и подшипник 15 опирается на траверсу 18. Стакан снабжен легкоуправляемым стопором проворота 6 с пружиной 7. Ша- ровой упорный подшипник состоит из верхнего 10 и нижнего коль- ца 8. Элементами качения являются шарики 9. Защелка зева крюка, снабженного подушкой 2, выполняется достаточно длинной для об- легчения захвата хомута вертлюга и исключения его выпадения при работе. Защелка состоит из корпуса 4, стопора 5 и пружины 3. При полной нагрузке ствол своим фланцем садится на площадку стакана, сжимая пружину 13. Усилие пружины достаточно для подъема свечи с элеватором и штропами на высоту, несколько большую, чем длина замковой резьбы, что значительно ускоряет операцию подъема, так как при этом после отвинчивания не требуется поднимать лебедкой свечу для установки ее в магазин. Крюк подвешивается к талевому блоку при помощи штропа 16, который соединен с траверсой крюка осями 17. В крюкоблоках крюк присоединяется непосредственно к талевому блоку, образуя с ним одно целое. Ствол и гайка крюка за- крыты сверху колпаком для защиты полости стана от грязи и влаги. Защелка зева крюка закрывается автоматически давлением штропа вертлюга. Для открытия защелки необходимо ослабить стопор в зеве и потянуть за кольцо. При свинчивании и развинчивании ствол крюка должен вращаться. Для освобождения стопора 6 надо потянуть за петлю и повернуть ее на 90º.

Рис. 6. Буровой крюк:
1 – крюк; 2 – подушка защелки; 3 – пружина защелки; 4 – корпус защелки;
5 – стопор защелки; 6 – стопор стакана; 7 – пружина стакана; 8 – нижнее кольцо упорного шарового подшипника; 9 – шарики подшипника; 10 – верхнее кольцо подшипника; 11 – ствол; 12 – гайка; 13 – пружина; 14 – стакан; 15 – подшип- ник; 16 – штропы; 17 – ось; 18 – траверса; 19 – палец; 20 – ось крепления скоб; 21 – скобы; 22 – ось.
Во время эксплуатации периодически смазывают упорный под- шипник, оси штропа и палец крюка согласно карте смазки. Проверка технического состояния заключается в контроле легкости вращения крюка вокруг вертикальной оси и легкости качения штропа. Неис- правным крюком работать запрещается. Наиболее частыми неполад- ками являются ослабление или поломка пружины ствола крюка, за- щелки и стопора, что требует их замены. Погнутые или поломанные стопоры тоже заменяются новыми. Продолжительность ремонтного
цикла для крюков составляет 36 месяцев, а межремонтных периодов 9 месяцев при сроке службы равным 9 годам.
При среднем ремонте крюки разбирают и подвергают тщатель- ному контролю детали.
Для определения состояния пружины замеряют ее длину. Ос- лабленные пружины заменяют новыми. Изношенные поверхности бе-
говых дорожек радиально-упорного подшипника шлифуют и прове-
ряют шаблоном. Шары с дефектами на поверхности заменяют, а ос- тальные комплектуются так, чтобы их диаметры не отличались более чем на 0,02 мм. Особое внимание уделяют контролю ствола крюка, резьба которого должна быть в исправном состоянии, а тело без уста- лостных трещин. Последние могут быть обнаружены с помощью маг- нитной порошковой дефектоскопии. Метод основан на способности ферромагнитных частиц, находящихся в магнитном поле, ориентиро- ваться в направление поля и скапливаться в местах наибольшей плотности магнитного потока. Стволы крюка и резьбовой конец на- магничивается с помощью электромагнита и поливают раствором магнитной суспензии (25–30 г магнитной окиси железа на 1 л кероси- на или трансформаторного масла). В трещине, где имеется поток рас- сеяния, образуется хорошо видимая линия скопления частиц порош- ка. Такой ствол заменяют новым. При капитальном ремонте крюков штроп снимается с осей для проверки износа сопряженных поверхно- стей. В случае ослабления крепления пластин крюка они могут быть переклепаны. Подушка с выработкой глубже 3 мм заменяется или восстанавливается наплавкой.
Ремонт вертлюгов
Вертлюг соединяет невращающуюся талевую систему с вра-
щающейся колонной бурильных труб, обеспечивая свободное ее вра- щение и подачу в нее под давлением промывочной жидкости через шланговое соединение.
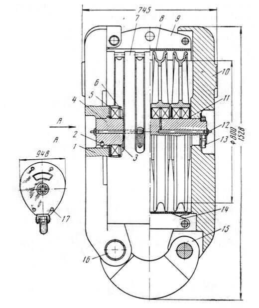
Вертлюг (рис. 7) подвешивается на крюке штропом 2, который соединяется с корпусом 16 при помощи пальцев 17. Глинистый рас- твор из нагнетательного рукава через подвод 1 и грязевую трубу 6 попадает в ствол 19, к которому в нижней части через переводник 31 присоединяется на резьбе ведущая штанга. Через ведущую штангу и ствол вес бурильной колонны передается на основную опору 20, пли- ту опоры 21 и корпус вертлюга.

Рис. 7. Вертлюг:
1 – подвод; 2 – штроп; 3 – болты; 4 – гайка; 5 – крышка; 6 – грязевая труба;
7 – нажимная гайка; 8 – масленка грязевого сальника; 9 – втулка грязевого
сальника; 10 – самоуплотняющиеся манжеты грязевого сальника; 11 – корпус
масляного сальника; 12 – самоуплотняющиеся манжеты масляного сальника;
13 – втулка масляного сальника; 14, 15 – шпильки; 16 – корпус; 17 – палец;
18 – роликовый подшипник; 19 – ствол; 20 – основная опора; 21 – плита опоры;
22 – шариковый упорный подшипник; 23 – опора шарикового подшипника;
24 – установочная гайка; 25 – установочные винты; 26 – втулка; 27 – болты;
28 – сальник; 29 – специальные винты; 30 – пробка для слива масла;
31 – переводник; 32 – грундбукса грязевого сальника; 33 – пробка для залива
масла; 34 – пружина грязевого сальника; 35 – поджимное кольцо
Над опорным подшипником и ниже на стволе вертлюга уста- новлены два роликовых подшипника 18, обеспечивающих центровку ствола при вращении. Между опорой основного конического ролико- подшипника и нижним центрирующим роликоподшипником установ- лен упорный шариковый подшипник 22 с опорой 23, который в отли- чие от главной опоры воспринимает осевые нагрузки, действующие вверх.
Внутренняя полость корпуса вертлюга является масляной ван- ной для всех подшипников, что обеспечивает их работоспособность. Упорный шариковый подшипник и внутреннее кольцо нижнего цен- трирующего подшипника укреплены специальной установочной гай- кой 24, выполненной в виде втулки, навинчивающейся на ствол верт- люга, и предохраняемой от проворота установочными винтами 25. В целях устранения течи масла ствол в корпусе уплотняется втулкой 26 и сальником 28, который крепится болтами 27. Между неподвиж- ной грязевой трубой 6 и вращающейся верхней частью ствола верт- люга установлены самоуплотняющиеся манжеты 10 грязевого саль- ника, который состоит из грундбуксы 32, пружины 34, кольца под- жимного 35, нажимной гайки 7, втулки 9 и масленки 8. Масло, нахо- дящееся в корпусе вертлюга, предохраняется от загрязнения верхним масляным сальником, который состоит из корпуса 11, самоуплот- няющихся манжет 12 и втулки 13. Крышка 5 соединяется с корпусом вертлюга шпильками 15. На ней расположен верхний масляный саль- ник. Крышка служит для крепления грязевой трубы 6 и отвода 1 бол- тами 3 и гайками 4. Плита основой опоры стопорится в корпусе спе- циальными винтами 29. Пробка 33 служит для залива и замера уровня масла, а пробка 30 – для слива масла из корпуса.
Надежность и долговечность работы узлов и деталей вертлюга во многом зависит от смазки. Полная утечка масла из ванны корпуса может привести к выходу из строя основного упорного роликопод- шипника. Смазка всех точек вертлюга, а также заливка и смена масла в ванне, должны производиться в полном соответствии с указаниями в карте смазки.
Смазку меняют в среднем через 3 месяца. Уровень масла прове- ряют с помощью пробки со стрежнем, конец которого окрашен белой краской на определенной длине. Уровень масла должен находиться в пределах крашенной части указателя. Когда стержень не достает до масла, его доливают. Если замечено, что масло загрязнено, его необ- ходимо слить, а ванну промыть керосином, затем еще раз веретенным
маслом, нагретым до 80–100
°C . Необходимо следить, чтобы темпе-
ратура корпуса вертлюга не поднималась выше 70
°C , так как при бо-
лее высокой температуре масло теряет свои смазывающие свойства.
Вертлюг меняют, если резьба переводника забита, резьбовое со- единение переводника и ствола пропускает раствор, а в стволе обна- ружены трещины или ствол не проворачивается. Заедание ствола мо- жет быть вызвано разрушением одной из опор вертлюга. Ствол ис- правного вертлюга должен свободно проворачиваться от усилия од- ного рабочего, приложенного к ключу с плечом в 1 м.
Если Вам понравилась эта лекция, то понравится и эта - 2 Свойства определённого интеграла.
Если происходит утечка, меняют манжеты и одновременно кон-
тролируют состояние грязевой трубы. В случае значительного износа она должна быть заменена. Надежность крепления отвода к крышке, крышки и нижнего фланца к корпусу должна периодически прове- ряться. В случае проявления утечки между грязевой трубой и отводом подтягивают гайки, а если это не дает результата, меняют прокладку. При смене прокладок необходимо одновременно проверять состояние отвода.
Контроль за состоянием смазки и вертлюга должен произво- диться не реже 1 раза в смену.
Средний и капитальный ремонты осуществляются в мастерских. Разборка вертлюга ведется в такой последовательности: отвинчивают переводник, очищают, обмывают снаружи корпус вертлюга и спус- кают в шурф; сливают масло; отвинчивают гайки и снимают горлови- ну; отвинчивают и снимают нажимную гайку грязевого сальника; вы- нимают грязевую трубу манжеты, распорную пружину, кольцо и грундбуксу; отвинчивают контргайки, гайки и снимают крышку кор- пуса; вывинчивают нажимную гайку и снимают верхний масляный сальник; вынимают из корпуса ствол, предварительно отвинтив винты плиты основной опоры; поднимают вертлюг из шурфа, кладут на бок, отвинчивают и снимают нижний сальник; выпрессовывают нижнюю втулку корпуса. Следующей операцией будет демонтаж подшипников со ствола вертлюга.
Изношенные роликоподшипники заменяют новыми. Перед их запрессовкой необходимо проверить диаметры посадочных отверстий в расточках корпуса вертлюга и крышки, а также диаметры посадоч- ных шеек на стволе вертлюга. Замеренные диаметры должны соот- ветствовать размерам, указанным в чертежах. Перед посадкой на ствол подшипников с коническими роликами и шарового подшипни-
ка необходимо проверить опорные поверхности на грибовидном фланце ствола вертлюга в плите основной опоры. Неровности и зади- ры должны быть зашабрены. Торцовая вибрация опорной поверхно- сти ствола относительно посадочной поверхности под конусную шайбу основной опоры должна быть не более 0,05 мм. Конусные ро- лики комплектуются по размерам.





















