Манифольд фонтанных скважин
Лекция 35
Тема:
План: 1. Манифольд фонтанных скважин.
2. Состав оборудования при газлифтной эксплуатации скважин.
1. Манифольд фонтанных скважин.
Манифольд - система труб и отводов с задвижками или кранами - служит для соединения фонтанной арматуры с трубопроводом, но которому продукция скважины поступает иа групповую замерную установку (ГЗУ). Простейшая схема маиифольда крестовой фонтанной арматуры показана на рис. 7.24. Она предусматривает наличие двух практически идентичных обвязок (рабочая и резервная), в каждой из которых есть регулируемый штуцер 1, вентили 2 для отбора проб жидкости и газа, запорное устройство 3 для сброса продукции на факел или в земляной амбар и предохранительный клапан 6. Элементы схемы собираются в одно целое с помощью фланцевых соединений 7. Узлы, очерченные четырехугольниками ( №№ 1, 2,3), собираются иа заводе.

Рис. 7.24. Схема обвязки крестовой фонтанной арматуры:
I - регулируемый штуцер; 2 - вентили; 3 - запорное устройство для сброса продукции на факел или в земляной амбар; 4 -тройник; 5 - крестовина; 6 - предохранительный клапан; 7 - фланцевое соединение; ПЗУ - групповая замерная установка
Рекомендуемые материалы
2. Состав оборудования при газлифтной эксплуатации скважин.
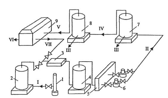
Принципиальпая схема газлифтного цикла приведена па рис. 7.15.
При наличии газовой скважины высокого давления реализуется бескомпрессорный лифт. Газ из скважины 1 через газовый сепаратор 2 подастся в теплообменник 3. Нагретый газ после дополнительной очистки в сепараторе 4 проходит через газораспределительную батарею 5 и направляется к газлифтным скважинам 6. Продукция скважин направляется в газонефтяиой сепаратор 7, после которого нефть поступает в коллектор, а газ, содержащий капельки нефти проходит дополнительную очистку в сепараторе 8 и после сжатия в компрессорной станции 9 поступает в систему промыслового сбора.
Если газовой скважины высокого давления нет, то для газлифта используется попутный нефтяной газ. После компримирования газ из компрессорной станции 9 последовательно проходит теплообменник 3, газовый сепаратор 4 и так далее, пока вновь не поступит на станцию 9. В данном случае используется замкнутый газлифтный цикл, при котором нагнетаемый в скважины газ многократно используется для подъема жидкости.
При насосном способе эксплуатации подъем нефти из скважин на поверхность осуществляется штанговыми и бесштаиговыми насосами.

Рис. 7.15. Схема газлифтного цикла при добыче нефти:
1 - газовая скважина высокого давления; 2,4,8 - газовый сепаратор; 3 - теплообменник; 5 - газораспределительная батарея; 6 – газлифтная скважина; 7 - газонефтяной сепаратор; 9 - компрессорная станция
I - газ высокого давления из газовой скважины; II - продукция газлифтной скважины; Ш - нефть; IV - газ низкого давления, содержащий капельную нефть; V - газ низкого давления, очищенный от нефти; VI - сжатый газ в систему промыслового сбора; VII - газ высокого давления после
компрессорной станции
Контрольные вопросы:
1.Для чего предназначен манифольд?
2.Расскажите схему обвязки крестовой фонтанной арматуры
3.Что представляет собой газлифтная схема?
Литература
1. Аскеров М.М., Сулейманов А.Б. Ремонт скважин: Справ, пособие. — : Недра, 1993.
2. Ангелопуло O.K., Подгорнов В.М., Аваков Б.Э. Буровые растворы для осложненных условий. — М.: Недра, 1988.
Обратите внимание на лекцию "8 - Геологическая деятельность морей, озёр".
3. Броун СИ. Нефть, газ и эргономика. — М: Недра, 1988.
4. Броун СИ. Охрана труда в бурении. — М: Недра, 1981.
5. Булатов А.И., Аветисов А.Г. Справочник инженера по бурению: В 3 т.: 2-е изд., перераб. и доп. - М: Недра, 1993-1995. - Т. 1-3.
6.Булатов А.И. Формирование и работа цементного камня в скважина, Недра, 1990.
7.Варламов П.С Испытатели пластов многоциклового действия. — М: Недра, 1982.
8.Городнов В.Д. Физико-химические методы предупреждения осложнений в бурении. 2-е изд., перераб. и доп. — М: Недра, 1984.





















