Эксплуатация нефтяных и газовых скважин
4. Эксплуатация нефтяных и газовых скважин
Все известные способы эксплуатации скважин подразделяются на следующие группы:
v фонтанный, когда нефть извлекается из скважин самоизливом;
v газлифтный — с помощью энергии сжатого газа, вводимого в скважину извне;
v насосный — извлечение нефти с помощью насосов различных типов.
Выбор способа эксплуатации нефтяных скважин зависит от величины пластового давления и глубины залегания пласта.
4.1 ФОНТАННЫЙ СПОСОБ ЭКСПЛУАТАЦИИ СКВАЖИН
Фонтанный способ эксплуатации скважин применяется, если пластовое давление в залежи велико. В этом случае нефть фонтанирует, поднимаясь на поверхность по насосно-компрессорным трубам за счет пластовой энергии. Фонтанирование скважин может происходить под действием гидростатического напора, а также энергии расширяющегося газа.
Практически фонтанирование только под действием гидростатического напора встречается очень редко. В большинстве случаев вместе с нефтью в пласте находится газ, и он играет главную роль в фонтанировании скважин.
Рекомендуемые материалы
В нефтяных залежах, где давление насыщения нефти газом равно пластовому давлению газ делает двойную работу: выделяясь в пласте он выталкивает нефть, а в трубах поднимает ее на поверхность.
Для некоторых режимов характерно содержание в нефти газа, находящегося в растворенном состоянии и не выделяющегося из нефти в пределах пласта. В этом случае по мере подъема жидкости в скважине давление снижается и на некотором расстоянии от забоя достигает величины, равной давлению насыщения, и из жидкости начинает выделяться газ, который способствует дальнейшему подъему жидкости на поверхность.
Оборудование любой скважины, в том числе фонтанной, должно обеспечивать отбор продукции в заданном режиме и возможность проведения необходимых технологических операций с учетом охраны недр, окружающей среды и предотвращения аварийных ситуаций. Оно подразделяется на скважинное (подземное) и устьевое (земное).
4.1.1 Скважинное (подземное) оборудование
При одном и том же количестве газа не в каждой скважине можно получить фонтанирование. Если количество газа достаточно для фонтанирования в 150 миллиметровой скважине, то его может не хватить для 200 миллиметровой скважины.
Смесь нефти и газа, движущаяся в скважине, представляет собой чередование прослоев нефти с прослоями газа: чем больше диаметр подъемных труб, тем больше надо газа для подъема нефти.
В практике известны случаи, когда скважины больших диаметров (150 ¸ 300 мм), пробуренные на высокопродуктивные пласты с большим давлением, отличались высокой производительностью, но фонтанирование их в большинстве случаев было весьма непродолжительным. Иногда встречаются скважины, которые при обычных условиях не фонтанируют, хотя давление в пласте высокое.
После спуска в такие скважины лифтовых труб малого диаметра удается достигнуть фонтанирования. Поэтому с целью рационального использования энергии расширяющего газа все скважины, где ожидается фонтанирование, перед освоением оборудуют насосно-компрессорными трубами (НКТ) с условными размерами (по внешнему диаметру): 27, 33, 42, 48, 60, 73, 89, 102 и 114 мм с толщиной стенок от 3 до 7 мм. Длина труб 5 ÷ 10 м.
Диаметр подъемных труб подбирают опытным путем в зависимости от ожидаемого дебита, пластового давления, глубины скважины и условий эксплуатации. Трубы опускают до фильтра эксплуатационной колонны.
4.1.2 Устьевое (земное) оборудование
Условия эксплуатации фонтанных скважин требуют герметизации их устья, разобщения межтрубного пространства, направления продукции скважин в пункты сбора нефти и газа, а также при необходимости полного закрытия скважины под давлением. Эти требования выполняются при установке на устье фонтанирующей скважины колонной головки и фонтанной арматуры с манифольдом.
Колонная головка предназначена для соединения верхних концов обсадных колонн (кондуктора, технических и обсадных труб), герметизации межтрубных пространств и служит опорой для фонтанной арматуры.
Фонтанная арматура, состоит в свою очередь из трубной головки и фонтанной елки.
Трубная головка служит для обвязки одного или двух рядов фонтанных труб, герметизации межтрубного пространства между эксплуатационной колонной и фонтанными трубами, а также для проведения технологических операций при освоении, эксплуатации и ремонте скважины. Обычно трубная головка представляет собой крестовину с двумя боковыми отводами и трубной подвеской. Боковые отводы позволяют закачивать в межтрубное пространство воду и глинистый раствор при глушении скважины, ингибиторы гидратообразования и коррозии, измерять затрубное давление (манометром), а также отбирать газ из него. Трубная головка монтируется непосредственно на колонной головке.
Фонтанная елка предназначена для управления потоком продукции скважины и регулирования его параметров, а также для установки манометров, термометров и приспособлений, служащих для спуска и подъема глубинных приборов. Елка состоит из вертикального ствола и боковых отводов-выкидов (струн). На каждом отводе устанавливают по две задвижки: рабочую и резервную (ближайшую к стволу). На стволе установлены коренная (главная, центральная) и буферная задвижки. На отводах имеются «карманы» для термометров и штуцеры для манометров, а также для регулирования расхода. Ствол заканчивается буфером с манометром.
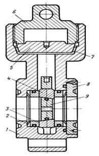
Фонтанные елки по конструкции делятся на крестовые и тройниковые. В состав ствола крестовой елки входит крестовина, к которой и крепятся отводы-выкиды (Рисунок 4.1) Каждый из них может быть рабочим. Тогда второй является резервным. В конструкцию ствола тройниковой елки входят тройники, к которым присоединяются выкидные линии — верхняя, которая является рабочей и нижняя, являющаяся резервной (Рисунок 4.2). Такое распределение «ролей» связано с тем, что тройниковая арматура, как правило, применяется в скважинах, в продукции которых содержится песок или ил.

Рисунок 4.1 — Фонтанная крестовая арматура (4АФК-50-700) высокого давления (70 МПа)
для однорядного подъемника: 1 — вентиль, 2 — задвижка, 3 — крестовина, 4 — катушка для подвески НКТ, 5 — штуцер, 6 — крестовины ёлки, 7 — буфер, 8 — патрубок для подвески НКТ, 9 — катушка

Рисунок 4.2 — Фонтанная тройниковая арматура кранового типа для подвески двух рядов НКТ (2АФТ-60x40хКрЛ-125): 1 — тройник; 2 — патрубок для подвески второго ряда НКТ; 3 — патрубок для подвески первого ряда НКТ
Для обеспечения длительной и бесперебойной работы скважин в фонтанном режиме эксплуатации большое значение имеет регулирование пластовой энергии за счет изменения объема нефти, поступающего из скважины и называемого дебитом скважин. Для ограничения дебита скважин в боковом отводе фонтанной елки устанавливается сменный штуцер-вставка из износостойкого материала с калиброванным отверстием строго определенного диаметра (Рисунок 4.3). Диаметр штуцера определяет количество поступающей из скважины нефти в зависимости от принятого режима работы скважины. Обычно диаметр штуцера равен 3 ¸ 15 мм и больше.

Рисунок 4.3 — Штуцер быстросменный для фонтанной арматуры высокого давления (ЩБА-50-700)
1 — корпус, 2 — тарельчатая пружина, 3 — боковое седло, 4 — обойма, 5 — крышка, 6 — нажимная гайка, 7 — прокладка, 8 — гайка боковая, 9 — штуцерная металлокерамическая втулка
Могут применяться быстро сменяемые и быстро регулируемые забойные штуцеры, которые устанавливаются в фонтанных трубах на любой глубине и удерживаются пакерами. Спуск и подъем забойных штуцеров осуществляется на стальном канате при помощи лебедки.
Манифольд — система труб и отводов с задвижками или кранами — служит для соединения фонтанной арматуры с трубопроводом, по которому продукция скважины поступает на групповую замерную установку (ГЗУ). Он предусматривает наличие двух практически идентичных обвязок (рабочая и резервная), в каждой из которых есть регулируемый штуцер, вентили для отбора проб жидкости и газа, запорное устройство для сброса продукции на факел или в земляной амбар и предохранительный клапан.
4.1.3 Особенности эксплуатации фонтанных скважин
Освоение и пуск в работу фонтанной скважины осуществляется снижением давления на пласт путем:
¨ последовательной замены глинистого раствора в скважине жидкостью и газожидкостной смесью меньшей плотности (глинистый раствор à вода à нефть);
¨ использования азота инертного или газа (вытеснением части жидкости из скважины, ее аэрацией);
¨ свабирования.
Одним из факторов, осложняющих процесс эксплуатации скважин, является отложение парафина на стенках подъемных труб, устьевой арматуры и выкидных линий.
Для борьбы с отложениями парафина применяют следующие основные способы:
1. Механический, при котором парафин со стенок труб периодически удаляется специальными скребками и выносится струей на поверхность.
2. Тепловой, при котором скважина промывается теплоносителем (паром, горячей водой или нефтепродуктами).
3. Использование подъемных труб с гладкой внутренней поверхностью (остеклованных или покрытых специальным лаком или эмалями).
4. Химический, при котором парафин удаляется с помощью растворителей.
Неполадки в работе фонтанных скважин — нарушение режимов:
Ø Парафино- и гидратообразование в трубах.
Вместе с этой лекцией читают "ЭРНСТ Макс".
Ø Образование песчаных пробок на забоях.
Ø Разъедание штуцера.
Ø Забивание песком, парафином штуцера или выкидной линии.
Ø Появление воды в скважине.
Фонтанный способ эксплуатации нефтяных скважин применяется на начальном этапе разработки месторождений.
Все газовые скважины эксплуатируются фонтанным способом. Газ поступает на поверхность за счет пластового давления.





















