Легкосплавные бурильные трубы
2.5.2.3 Легкосплавные бурильные трубы
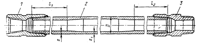
Легкосплавные бурильные трубы сборной конструкции (ЛБТ, Рисунок 2.24) применяют при бурении с использованием забойных гидравлических двигателей. Низкая плотность материала – 2.78 г/см3. (стали — 7.85 г/см3) позволяет значительно облегчить бурильную колонну без потери необходимой прочности. Для изготовления трубных заготовок ЛБТ используется дюраль Д16 (сплав из системы «Алюминий-Медь-Магний»), для повышения износостойкости упрочняемая термообработкой. Предел текучести составляет 330 МПа.

Рисунок 2.24 — Легкосплавные бурильные трубы сборной конструкции
Кроме пониженной массы у ЛБТ есть еще ряд достоинств. Во-первых, наличие гладкой внутренней поверхности, что снижает гидравлические сопротивления примерно на 20 % по сравнению со стальными бурильными трубами одинакового сечения. Чистота внутренней поверхности ЛБТ достигается прессованием при изготовлении. Во-вторых, диамагнитность, что позволяет зенитный угол и азимут скважины замерять инклинометрами, спускаемыми в бурильную колонну.
Однако ЛБТ имеют и ряд недостатков: нельзя эксплуатировать БК при температурах выше 150 градусов Цельсия, так как прочностные свойства Д16Т начинают снижаться. Недопустимо их эксплуатировать также в агрессивной (кислотной или щелочной среде).
2.5.2.4 Утяжеленные бурильные трубы
Для увеличения веса и жесткости БК в ее нижней части устанавливают УБТ, позволяющие при относительно небольшой длине создавать частью их веса необходимую нагрузку на долото.
В настоящее время наиболее широко используются следующие типы УБТ:
¨ горячекатанные (УБТ)
¨ сбалансированные (УБТС),
Рекомендуемые материалы
УБТ этих типов имеют аналогичную беззамковую (отсутствуют отдельные присоединительные концы) толстостенную конструкцию Горячекатанные УБТ выполняются гладкими по всей длине. На верхнем конце УБТС выполняется конусная проточка для лучшего захвата клиньями при спуско-подъемных работах.
Горячекатанные УБТ используются преимущественно при бурении с забойными гидравлическими двигателями.
Основные параметры УБТ, наиболее распространенные в Западной Сибири:
Ø номинальные наружные диаметры труб 146, 178, 203 мм;
Ø номинальный диаметр промывочного канала 74, 90, 100 мм;
Ø длина труб, соответственно 8.0, 12.0, 12.0 м.
Сбалансированные УБТ (Рисунок 2.25) используют преимущественно при роторном способе бурения.
Если Вам понравилась эта лекция, то понравится и эта - Жилище и одежда.

Рисунок 2.25 — Сбалансированные УБТ
Основные параметры УБТС, наиболее распространенные в Западной Сибири:
Ø номинальные наружные диаметры труб 178, 203, 229 мм;
Ø номинальный диаметр промывочного канала 80, 80, 90 мм;
Ø длина труб 6.5 м.























