Показатели работы аппаратов
Показатели работы аппаратов.
Два показателя:
1. Степень разгазовывания нефти или ее усадки

- Gн1,2 - массовые расходы до и после сепаратора
- Gг1,2 - массовые расходы газа до и после сепаратора
2. Величины, характеризующие эффективность работы сепаратора по степени уноса капельной жидкости Кж и пузырьков газа Кг

- qж , qг - объемные расходы капельной жидкости см31000м3 газа и пузырьков лм3 жидкости, уносимой за пределы сепаратора
Рекомендуемые материалы
- Vг ,qж - объемные расходы газа и жидкости
Степень технологического совершенства сепаратора характеризуется 3-мя положениями:
1) минимальный диаметр капель жидкости, задерживаемой в сепараторе
2) максимально допустимая величина средней скорости газового потока в свободном сечении или капле уловительной секции
3) время пребывания жидкости в сепараторе
Самым эффективным и технологически совершенным сепаратором является такой, из которого не выносятся капельная жидкость и пузырьки газа, при этом время задержки в сепараторе и расход металла на его изготовление минимальными, кроме того, в таком сепараторе должно устанавливаться фазовое равновесие между газом и нефтью.
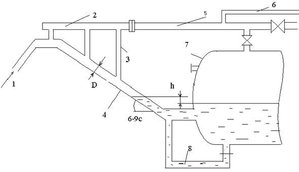
Для снижения пульсации перед входом в сепаратор устанавливается депульсатор.

1 – газоводонефтяная смесь от подводящего коллектора
2 – газосборный коллектор
3 – газоотводящие патрубки
Если Вам понравилась эта лекция, то понравится и эта - 7. Специальные реляционные операторы.
4 – разделительный трубопровод
5 – газопровод
6 – отвод газа
7 – нефтегазовый сепаратор
8 - патрубок сброса воды
Схема узла предварительного отбора газа (депульсатор)




















