Сортамент
РАЗДЕЛ 3. Сортамент
3.1. Характеристика основных профилей сортамента
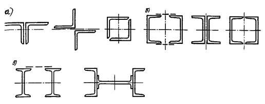
Первичным элементом стальных конструкций является прокатная сталь, которая выплавляется на металлургических заводах. Прокатная сталь, применяемая в стальных конструкциях, делится на две группы: сталь прокатная листовая (рис.3.1,а) - тонколистовая, толстолистовая, широкополосная, универсальная и просечно-вытяжная; сталь профильная (рис.3.1,б) – уголки, швеллеры, двутавры, тавры, трубы и т.п. Наличие сортаментов готовых прокатных профилей на заводах обеспечивает индустриальное изготовление конструкций.
Перечень прокатных профилей с указанием формы, геометрических характеристик, веса единицы длины, допусков и условий поставки называется сортаментом.
![]() |
Рис.3.1.Основные виды профилей
Поставляется прокат (листовой, фасонный) партиями. Партия состоит из проката одного размера, одной плавки-ковша и одного режима термообработки. При проверке качества металла от партии отбирают любые две пробы. Прокат поставляется как в горячекатаном, так и в термообработанном состоянии.
Разнообразие видов профилей, входящих в сортамент, частая градация размеров одного вида профиля обеспечивает экономическое проектирование конструкций при возможности создания разнообразных конструктивных форм.
Рекомендуемые материалы
Стоимость разных профилей различна. Наиболее дешевыми являются листовая сталь, прокатные двутавры и швеллеры, что стимулирует их широкое применение. Применение при проектировании большого разнообразия профилей увеличивает объем работы на заводах металлоконструкций по сортировке, складированию, транспортировке, правке профилей и т.п. С целью уменьшения объема работ при изготовлении конструкций введены сокращенные сортаменты, составленные для проектирования строительных конструкций из наиболее употребляемых и экономичных профилей.
Изготовленные на заводах металлические элементы конструкций (балки, колонны, фермы и т.п.) собираются на строительных площадках в конструктивные комплексы – сооружения.
Рассмотрение различных критериев эффективности профиля при работе на изгиб и сжатие показало, что решающую роль имеет “тонкостенность” профиля – отношение его высоты к его толщине
, чем оно больше, тем профиль экономичнее. Для прокатных профилей технология прокатки ограничивает толщину стенки 4-6 мм, поэтому применение тонкостенных сварных балок для изгибаемых элементов, а также гнутосварочных коробчатых профилей для сжатых элементов более эффективны, чем применение прокатных профилей, так как толщина стенки в них не ограничена прокатом.
3.2. Листовая сталь
Листовая сталь широко применяется в строительстве, поставляется в пакетах, рулонах и классифицируется следующим образом.
Сталь толстолистовая (ГОСТ 19903- 74). Сортамент этой стали включает листы толщиной от 4 мм до 160 мм, шириной от 600 мм до 3800 мм. Наиболее ходовой является ширина до 2400 мм. Листовая горячекатаная сталь поставляется в листах длиной от 6-12 м и толщиной до 160 мм или в рулонах толщиной от 1,2 до 12 мм, шириной от 500…2200 мм. Листы толщиной от 6 до 12 мм имеют градацию по толщине через 1 мм, далее через 2; 3 и 5 мм. Толстолистовая сталь широко используется в листовых конструкциях, в элементах сплошных систем (балок, колонн, рамах и т.д.).
Сталь тонколистовая до 4 мм прокатывается холодным и горячим способами. Холоднокатаная сталь (ГОСТ 19904-90) значительно дороже горячекатаной (ГОСТ 19903-74).Тонкая листовая сталь применятся при изготовлении гнутых и штампованных тонкостенных профилей, для кровельных покрытий и т.п. Из холоднокатаной, оцинкованной, рулонированной стали изготавливают профилированные настилы.
Сталь широкополосная универсальная (ГОСТ 82-70) благодаря прокату между четырьмя валками имеет ровные края. Толщина стали от 6 до 60 мм, ширина от 200 до 1050 мм и длина от 5 до 12 м. Применение универсальной стали уменьшает трудоемкость изготовления конструкций, так как не требуется резка и выравнивание кромок строжкой.
Сталь рифленая (ГОСТ 8568-77) и просечно-вытяжная (ГОСТ 8706-58) применяется для ходовых площадок.
3.3. Уголковые профили
Уголковые профили прокатывают в виде равнополочных (ГОСТ 8509-86) и неравнополочных (ГОСТ 8510-86) уголков (см. рис. 3.1, б). Сортамент уголков весьма разнообразен: от очень малых профилей с площадью сечения 1-1,5 см² до мощных профилей с площадью сечения 140 см². Полки уголков имеют параллельные грани, что облегчает конструирование. Уголки широко используются в легких сквозных конструкциях. Рабочие стержни из уголков обычно компонуются в симметричные сечения из двух или четырех уголков (рис.3.2.). Более экономичны уголки с меньшими толщинами полок. Сжатые стержни сечения обладают большей устойчивостью, особенно составленные из тонких уголков. В стержнях с отверстиями для болтов ослабление сечения отверстиями тем меньше, чем тоньше полки.
3.4. Швеллеры
Геометрические характеристики сечения швеллеров (см. рис. 3.1,в,ж) определяются его номером, который соответствует высоте стенки швеллера
![]() |
Рис.3.2.Компановка сечений стержней из прокатных профилей
(в см). Сортамент (ГОСТ 8240-89) включает швеллеры от № 5 до № 40 с уклоном внутренних граней полок (см. прил. 16, табл. 5). Однако, уклон внутренних граней полок затрудняет конструирование. В ГОСТ входят и
швеллеры с параллельными гранями полок, сечения которых имеют лучшие расчетные характеристики относительно осей x и y, так как упрощают болтовые крепления к полкам. Швеллеры применяются в мощных стержневых конструкциях (мостах, большепролетных фермах и т.п.), а также в колоннах, связях и кровельных прогонах.
Стержни из швеллеров, работающие на осевую силу, компонуются в жесткие относительно осей x и y симметричные сечения (рис. 3.2,б).
3.5. Двутавры
Двутавры – основной балочный профиль – имеют наибольшее разнообразие по типам (см. рис. 3.1,г-ж), которые соответствуют определенным областям применения.
Балки двутавровые обыкновенные (ГОСТ 8239-89) как и швеллеры, имеют уклон внутренних граней полок и обозначаются номером, соответствующим их высоте в см (рис.3.1, г). В сортамент входят профили от № 10 до № 60 (см. прил.1, табл.3). Стенки у крупных двутавров имеют минимальную толщину и по условиям устойчивости достигают 1/55 высоты двутавра. Чем тоньше стенка, тем выгоднее сечение балки при работе ее на изгиб. Однако по условиям технологии прокатки у большинства двутавров стенки получаются значительно толще, чем это требуется по условию их устойчивости. Благодаря сосредоточению материала в полках двутавры имеют большую жесткость относительно оси x, но небольшая ширина полок делает их малоустойчивыми относительно оси y. Двутавры применяются в изгибаемых элементах (балках), а также в ветвях решетчатых колонн и различных опор, где для их устойчивости применяются составные сечения (рис.3.2, в).
Балки двутавровые широкополочные (ГОСТ 26020-81) имеют параллельные грани полок (см. рис.3.1, д). Широкополочные двутавры прокатываются трех типов: нормальные двутавры (Б), широкополочные двутавры (Ш), колонные двутавры (К). Высота балочных профилей (Б) достигает 1000 мм, (Ш) – 700 и (К) – 400 мм при отношении ширины полок к высоте от
(при малых высотах) до
(при больших высотах). Колонные профили (К) имеют отношение ширины полок к высоте, близкое 1:1, что придает им устойчивость относительно оси y.
Конструктивные преимущества (параллельность граней полок и мощность сечений) позволяют применять широкополочные двутавры в виде самостоятельного элемента (балки, колонны, стержни тяжелых ферм), не требующего почти никакой обработки, что снижает трудоемкость изготовления конструкций в 2-3 раза.
Из широкополочных двутавров путем разрезки стенки в продольном направлении получают тавровые профили (БТ), (ШТ) и (КТ) (см. рис.3.1,д) удобные для применения в решетчатых конструкциях. По мере расширения производства широкополочных двутавров применение обыкновенных двутавров сокращается.
Развитие автоматической сварки создает благоприятные условия для производства сварных двутавров из универсальной стали по определенному сортаменту, что дает возможность пользоваться ими так же, как и прокатными (рис. 3.1,е).
3.6. Тонкостенные профили
Тонкостенные двутавры (ТУ 14-2-205-76) и швеллеры (ТН 14-2-204-76) (см. рис.3.1,ж) прокатываются на непрерывном стане с особо тонкими стенками и полками, что делает их экономичнее обычных прокатных профилей на 14-20%. Тонкостенные профили имеют высоту от 120 до 300 мм и полки с параллельными гранями. Применяются тонкостенные профили в балках площадок, фахверках, легких перекрытиях и покрытиях.
3.7. Трубы
Стальные трубы, применяемые в строительстве, бывают круглые – горячекатаные (ГОСТ 8732-78 с изм.) и электросварные (ГОСТ 10704-76) (см. рис.3.1,з). Трубчатые профили особенно экономичны при применении в сжатых элементах благодаря наибольшему значению радиуса инерции при заданной площади сечения.
Горячекатаные бесшовные трубы имеют диаметр от 25 до 550 мм с толщиной стенок от 2,5 до 75 мм. Эти трубы применяются главным образом в конструкциях радио и телевизионных опор.
Круглые электросварные трубы имеют диаметр от 8 до 1420 мм с толщиной стенок от 1 до 16 мм. Эти трубы применяются в трубопроводах, элементах радио и телевизионных опор и конструкциях покрытий, особенно в зданиях с агрессивной средой.
3.8. Холодногнутые профили
Гнутые профили изготовляются из листа, ленты или полосы толщиной от 1 до 8 мм и могут иметь самую разнообразную форму (рис. 3.3). Наиболее употребительны уголки равнополочные (ГОСТ 19771-74), неравнополочные (ГОСТ 19772-74), швеллеры (ГОСТ 8278-83), гнуто-сварные профили замкнутые квадратного (ТУ 36-2287-80) и прямоугольного (ТУ 36-2286-80
с изм.) сечений и оцинкованные профилированные настилы (ГОСТ 24045-86). Основная область применения этих профилей – легкие конструкции покрытий зданий, где они, заменяя прокатные профили, могут дать экономию металла до 10%.
![]() |
Рис. 3 3. Типы гнутых профилей
3.9. Различные профили и изделия из металла, применяемые в строительстве
В сравнительно меньшем объеме применяются в металлических конструкциях профили других конфигураций и стальные материалы разного назначения (стальные канаты и высокопрочная проволока): двутавровые профили для подвесного транспорта (ГОСТ 19425-74), крановые рельсы (ГОСТ 4121-76 с изм.), канаты стальные спиральные (ГОСТ 3062-80; 3063-80; 3064-80), канаты двойной свивки (ГОСТ 3066-80; 3067-74 с изм.; 3068-74 с изм.; 3081-80; 7669-80 с изм.; 14254-80), пучки и пряди из канатной проволоки (ГОСТ 7372-79 с изм.), профили для оконных и фонарных переплетов (ГОСТ 7511-73), сталь листовая волнистая (ГОСТ 3685-71), сталь квадратная а = 5-100 мм (ГОСТ 2591-88), сталь круглая d = 6-200 мм (ГОСТ 2590-88), сталь полосовая b = 12-200 мм, t = 4-60 мм (ГОСТ 103-76), сталь рифленая (ГОСТ 8568-77), сталь просечно-вытяжная (ГОСТ 8706-58).
Кроме того, изготавливаются также трубы специального назначения из стали класса К 52 17Г1С-У:
для магистральных газонефтепроводов по ГОСТ 20295-85, d = 720 и 820 мм;
для трубопроводов высокого давления по ТУ 14-3-620-77, d = 1000мм и 1220 мм;
для газонефтепроводов по ТУ 14-3-1138-82, d = 1020 и 1120 мм и другие виды специальных профилей.
3.10. Профили из алюминиевых сплавов
Строительные профили из алюминиевых сплавов (рис.3.4), получают прокаткой, прессованием или литьем. Листы, ленты и плиты прокатываются в горячем или холодном состояниях. Листы прокатывают толщиной до 10,5 мм, шириной до 2000 мм и длиной до 7 м. Фасонные профили, в том числе и полые (трубчатые), изготовляют горячим прессованием на гидравлических прессах.
Продавливая слитки через матрицы различных типов, можно получить профили разнообразных поперечных сечений. Это существенное преимущество позволяет конструктору использовать наиболее эффективные формы сечений. Возможность получить профили более выгодных сечений в некоторой степени компенсирует меньшую устойчивость стержней из алюминиевых сплавов из-за их низкого модуля упругости материала. Однако габариты поперечного сечения профиля ограничиваются поперечными размерами матрицы и усилием, развиваемым прессом.
Наиболее распространенное на заводах оборудование требует, чтобы профили вписывались в круг диаметром 320 мм (в отдельных случаях 530 мм). На современном прессовом оборудовании можно изготовлять профили площадью сечения от 0,5 до 300 см². Гнутые профили изготовляют из листов и
![]() |
Рис.3.4. Типы профилей из алюминиевых сплавов без бульб (
) и с бульбами (
)
лент толщиной до 4 мм гнутьем их в холодном состоянии. Из-за низкого модуля упругости алюминиевых сплавов и соответственно ухудшения местной устойчивости ширина свободного свеса полос и высота стенок профилей по отношению к их толщинам принимаются более ограниченными, чем в стальных профилях. Для большего развития сечения и повышения устойчивости стержня профили изготовляются с бульбами на концах полок (рис. 3.4,б), которые позволяют доводить отношение ширины полки к ее толщине от 9,5 до 21 (см. гл. 2).
Круглые тянутые трубы поставляются с наружным диаметром до 150 мм при толщине стенки 1,5-6 мм. Кроме круглых труб поставляются квадратные, прямоугольные и каплевидные (рис.3.4,в).
Большое число разнообразных профилей применяется для ограждающих конструкций.
3.11. Правила использования профилей в строительных
конструкциях
Обратите внимание на лекцию "3.3. Регистры МП".
1. При проектировании строительных стальных конструкций следует компоновать каждый элемент и весь объект в целом из минимально необходимого числа различных профилей.
2. Применяемые в одном отправочном элементе уголки, тавры, полосы одного номинального размера, но разной толщины должны иметь разность толщин одноименных профилей не менее 2 мм.
3. Не допускается применять в одном отправочном элементе одинаковые профилеразмеры из разных марок сталей.
4. Применение в одном объекте профилированных листов одной номинальной высоты, но разной толщины не допускается.

























