Звукоизоляция в квартире
Звукоизоляция в квартире: полы и потолки
Наверное, каждый из нас сталкивался с проблемой недостаточной звукоизоляции своего жилища. Посторонние шумы, проникающие в квартиру, могут служить помехой сосредоточенной работе, спокойному отдыху, чтению книг или сну. Будь то слишком громкая музыка у соседей за стенкой, работающий телевизор в другой комнате, шум городского транспорта, звуки лифтовых механизмов – все это источники нарушения тишины, мешающие восприятию музыки, речи, приводящие к напряженности и иногда даже к нарушению здоровья.
В последнее время застройщики стали все больше беспокоиться об уровне акустического комфорта в жилых помещениях. При устройстве стен и перекрытий используются многослойные конструкции с прокладкой из тепло- и звукоизолирующих материалов, более тщательно заделываются стыки бетонных панелей и технологические отверстия в них. Но что делать в том случае, если все же возникает необходимость в повышении степени изоляции квартиры от проникновения посторонних шумов?
Ответ на этот вопрос может быть получен при более подробном рассмотрении способов звукоизоляции каждого конструктивного элемента помещения. К таким конструктивным элементам относятся полы, потолки, а также наружные и межквартирные стены и внутриквартирные перегородки. В данной статье речь пойдет о звукоизоляции полов и потолков.
Звукоизоляция пола
Необходимость повышения звукоизоляции пола связана чаще всего с желанием сократить передачу шума в квартиру, расположенную ниже этажом. Также к данному варианту изоляции прибегают в случае расположения квартиры над шумными общественными помещениями – такими как кафе, ночной клуб или магазин.
Эффективная изоляция пола может быть выполнена в двух вариантах: устройство плавающего пола, либо устройство пола по лагам.
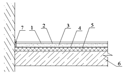
Плавающий пол представляет собой конструкцию, состоящую из изоляционной плиты, укладываемой поверх перекрытия, выравнивающей стяжки и финишного отделочного материала (линолеум, ковролин, ламинат и т.п.).
|
| 1. Покрытие пола (линолеум, ламинат и т.п.) |
Рис. 1. Схема устройства плавающего пола с использованием плит
URSA GLASSWOOL П-60
Рекомендуемые материалы
Компания «УРСА Евразия», крупнейший производитель стекловолокнистых изоляционных материалов в России, рекомендует в качестве изоляционной плиты в конструкции плавающего пола использовать продукт URSA GLASSWOOL П-60. Данный материал обладает высокими звукоизоляционными показателями и достаточной прочностью для восприятия нагрузок от веса мебели и оборудования, установленных в квартире.
Плиты URSA GLASSWOOL П-60 выпускаются толщиной 20 и 25 мм, для того, чтобы максимально сохранить высоту помещения. Общая толщина конструкции плавающего пола, таким образом, составит не более 70 мм.
Для сокращения трудозатрат и ухода от «мокрых» строительных процессов возможно вместо выравнивающей стяжки использовать настил из цементно-стружечных плит (ЦСП) или ориентированно-стружечных панелей (OSB), укладывая их в два слоя с перехлестом. Толщина такой конструкции при использовании панелей OSB 9 мм составит не более 60 мм. Однако, при этом необходимо учесть, что стыки панелей будут образовывать небольшие неровности поверхности. Для финишного покрытия пола в таком случае можно рекомендовать использовать линолеум. Если же есть необходимость покрыть пол кафельной плиткой или ламинатом, то в таком случае лучше использовать выравнивающую стяжку, так как она дает более ровное основание.
Технология работ при устройстве плавающего пола будет выглядеть примерно следующим образом:
1. удаление старого покрытия;
2. в случае необходимости, выравнивание и обеспыливание поверхности бетонной плиты;
3. укладка изоляционных плит URSA GLASSWOOL П-60;
4. укладка полиэтиленовой пленки;
5. установка «опалубки» толщиной в 1 см по периметру помещения;
6. заливка выравнивающей стяжки/настил панелей OSB;
7. устройство финишного покрытия;
8. демонтаж опалубки, установка кромочной изоляционной прокладки;
9. установка плинтуса.
При устройстве такой конструкции очень важно не допустить примыкания стяжки непосредственно к ограждающим помещение стенам и перегородкам. В противном случае возникшие «акустические мостики» приведут к значительному снижению шумоизоляционного эффекта. Достигается это за счет прокладки по периметру помещения тонких досок либо обрезков фанеры толщиной 1 см непосредственно перед монтажом стяжки. После ее высыхания доски убирают, а образовавшиеся зазоры заполняют кромочным изоляционным материалом и закрывают плинтусом.
В качестве кромочной изоляционной прокладки можно использовать полосы, нарезанные из легкого изоляционного материала – URSA GLASSWOOL М-11.
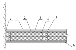
Часто встречается конструкция пола, уложенного по лагам. Это могут быть деревянные дома, здания т.н. старого фонда («сталинки»), реже – «брежневки» и «хрущевки». В последнем случае пол по лагам дополнительно укладывался на бетонную плиту.
Если возникает необходимость в звукоизоляции указанной конструкции, то можно предложить следующую технологию работ:
1. демонтаж существующего настила;
2. демонтаж старого изоляционного заполнения;
3. укладка матов URSA GLASSWOOL М-11 между лагами;
4. монтаж настила и финишного покрытия;
5. установка плинтуса.
Перекрытие будет выглядеть следующим образом:
| а) | 1. Покрытие пола (линолеум, ламинат и т.п.) |
| б) | 1. Покрытие пола (линолеум, ламинат и т.п.) |
Рис. 2. Схема устройства звукоизоляции пола, с использованием матов
URSA GLASSWOOL М-11:
а) лаги, уложенные по бетонному перекрытию;
б) полностью деревянное перекрытие.
При укладке матов URSA GLASSWOOL М-11 следует особое внимание уделить их плотному прилеганию к поверхности лаг. Не должно оставаться пустых участков, иначе они будут ослаблять шумопоглощающий эффект конструкции. Стандартная толщина матов – 50 мм. Для улучшения звукоизоляции рекомендуется максимально заполнить пространство между лагами – насколько это возможно – с укладкой матов в несколько слоев по высоте.
Звукоизоляция потолка
Для устройства звукоизоляции потолка необходимо смонтировать дополнительную потолочную систему. Такими системами могут быть:
- подвесной потолок – металлический каркас, прикрепленный на подвесах к перекрытию, с вложенными декоративными плитками;
- подшивной потолок – металлический каркас, обшитый снизу листовыми материалами (ГКЛ), обычно под покраску;
- натяжной потолок – пленочный или тканевый декоративный материал, натянутый расположенными по периметру специальными натяжными кронштейнами.
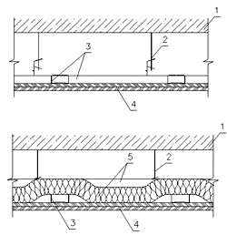
В качестве изоляционного материала в данных конструкциях лучше всего использовать плиты URSA GLASSWOOL П-15. В процессе монтажа потолочных конструкций их укладывают плотным слоем поверх потолочных направляющих, либо поверх натяжного материала. При этом необходимо уделить особое внимание тщательности заделки стыков потолочной системы со стеновыми конструкциями и отсутствию незаполненных участков.
|
| 1. Плита перекрытия |
Рис. 3. Схема устройства звукоизоляции потолка, с использованием плит
URSA GLASSWOOL П-15
При монтаже следует предусмотреть наличие необходимых зазоров между плитой перекрытия и потолочной конструкцией. Толщина каркаса потолочной системы составит около 5 см, толщина слоя звукоизоляционного материала – еще 5 см, плюс монтажный зазор для укладки потолочных плит, устройства и обслуживания светильников (еще как минимум 10 см). В итоге высота помещения при устройстве данной конструкции сократится на 20 см.
Если выше жилого помещения расположен неотапливаемый холодный чердак, то при устройстве звукоизоляции потолка (например, от шумов работающих лифтовых механизмов), для предотвращения конденсации влаги необходимо между изоляционным материалом и обшивочным материалом предусмотреть наличие слоя пароизоляции.
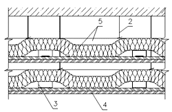
Если высота помещений достаточна, можно устроить двухслойную изоляционную конструкцию.
|
| 1. Плита перекрытия |
Рекомендация для Вас - 4 Привод многопозиционных установок.
Рис. 4. Схема устройства двухслойной звукоизоляции потолка, с использованием плит
URSA GLASSWOOL П-15
При этом в качестве первого слоя используют обычные черновые листы ГКЛ, без отделки, на металлическом каркасе с прокладкой изоляционных плит. Шумоизоляционный эффект улучшается в том числе благодаря возникновению дополнительного воздушного зазора между слоями.
Для большего усиления звукоизоляции потолка, возможно использовать специальные шумопоглощающие конструкции в сочетании с изоляционными плитами – т.н. акустические потолки. Однако все они ориентированы на изоляцию шума, передаваемого в верхнее помещение снизу, и часто применяются, например, в таких общественных местах как боулинг и бильярд.
Справедливости ради стоит отметить, что подобные изоляционные конструкции эффективно работают только на уменьшение высокочастотного шума (крика), поступающего из вышерасположенного помещения. Для изоляции от низкочастотного воздействия и, в особенности от ударного шума, лучшим решением будет являться устройство плавающего пола на верхнем перекрытии. Очень часто низкочастотное шумовое воздействие передается в помещение не только через перекрытие, но и через несущие ограждающие конструкции – стены и перегородки. В таком случае изоляции одного только перекрытия недостаточно, необходимо позаботиться и о звукоизоляции стен.
Александр Керник,
технический консультант компании «УРСА Евразия»
(812) 324-44-88 (доб. 1-166)
alexander.kernik@uralita.com



























