Технология и инфраструктура инновационного инжиниринга
Тема 7. Технология и инфраструктура инновационного инжиниринга
7.1. Инновационный инжиниринг
Инновационный инжиниринг – это комплексная технология реализации инноваций, охватывающая все этапы инновационного цикла: маркетинг; предпроектное обследование; аванпроектирование; технико-экномическое и экологическое обоснование и бизнес-проектирование; эскизное, техническое и рабочее проектирование; технологическую подготовку производства; изготовление и комплектную поставку оборудования, технологий и программного продукта для созданной системы; подготовку кадров и кадровое сопровождение; пусконаладочные работы созданной системы; сдачу системы «под ключ» заказчику; авторское сопровождение и сервисное обслуживание системы у заказчика.
Инновационный инжиниринг – это технология решения научно-технических проблем заказчика, основанная на широком использовании интегрирующих инноваций путем организации совместной целенаправленной работы групп специалистов различных научных школ. Эта технология в наибольшей степени реализует принцип максимального удовлетворения потребностей заказчика за счет использования самых передовых научно-технических достижения. В отличие от технологий «от научно-технических достижений» инновационный инжиниринг не ограничивается «своими» научно-техническими достижениями, а привлекает для решения проблемы исполнителя «чужие» научно-технические достижения научных школ всего мира.
Основные принципы инновационного инжиниринга следующие.
1. Профессионализм, базирующийся на следующих положениях:
· добросовестное и качественное обслуживание заказчика, являющегося для руководителя инновационного проекта центральной фигурой;
· объективное и заинтересованное отношение к «чужим» знаниям, наукоемким технологиям, оборудованию и системам. (Эти два положения дополняют друг друга, обеспечивая наилучшее удовлетворение потребностей заказчика за счет оптимального выбора и системной интеграции уже проверенных решений, технологий, оборудования и систем.
2. Заинтересованность исполнителей, базирующаяся на ориентации исполнителей всех этапов инновационного цикла на конечный результат: ответственная сдача объекта инновации «под ключ» и участие в реализации товаров и услуг созданного объекта. Такая заинтересованная ориентация на конечный результат позволяет использовать инновационный инжиниринг как основу для построения замкнутых (с обратной связью по конечному результату) систем управления инновациями.
Рекомендуемые материалы
3. Организация работы на основе социо-технического подхода, когда главным является постоянный творческий труд людей, определяющих поведение системы в целом. Главное движущее и доверительное начало в инновационном инжиниринге принадлежит руководителям проектов (учеными-организаторами) с именем. Именно им полностью доверяется весь инновационно-инвестиционный процесс по конкретным проектам, они распоряжаются (без промедлений и задержек) инвестициями, они же отвечают за конечный результат, успешность которого определяет благосостояние руководителей и их команд.
Основные этапы технологии инновационного инжиниринга приведены на рис. 54.
![]() |
Рис. 54. Основные этапы инновационного инжиниринга
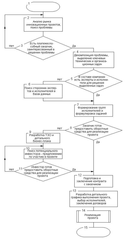
Алгоритм работы предприятия по технологии инновационного инжиниринга приведен на рис. 55.


Контрольные вопросы по главе:
· Перечислите основные этапы инновационного инжиниринга.
· Что такое социо-технический подход?
· В чем состоят отличия инновационного инжиниринга от консалтинга?
7.2. Международные программы поддержки инновационной деятельности
Среди зарубежных организационных структур поддержки инновационной деятельности особого внимания заслуживает Шестая Рамочная программа (The Sixth Framework Programme – FP6), реализуемая в 2002 – 2006 гг. Европейским Сообществом. Согласно декларации ее создателей (www.cordis.lu/fr6), Шестая Рамочная программа является основным механизмом и первым практическим этапом создания единого европейского научного пространства. Бюджет программы на период 2003–2006 гг. составляет 17.5млрд. евро.
Цели программы:
- создание единого европейского научного пространства;
- достижение европейского научного превосходства;
- повышение конкурентоспособности и инновационной активности;
- интеграция европейской науки на всех уровнях – локальном, региональном, национальном и международном.
Как следует из целей программы, ее механизмы могут использоваться для научно-технической, организационной и финансовой поддержки наукоемких инновационных проектов, тематическая область которых соответствует приоритетам Европейской комиссии.
Идеологически связанными c Шестой Рамочной программой, но относительно самостоятельными механизмами поддержки международной инновационной деятельности являются программы Интас (INTAS) и Тасис (Tacis), также финансируемые Европейской комиссией и направленные на развитие научно-технического сотрудничества ученых стран СНГ с европейскими научными и инновационными организациями. При этом программа Интас ориентирована в основном на сотрудничество в области фундаментальных наук, т.е. на получение новых научно-технических достижений, которые могут служить научной основой инновационной деятельности (www.intas.be), а программа Тасис – на развитие человеческого потенциала стран бывшего СССР, т.е. на формирование в этих странах среды восприятия основных приоритетов и ценностей объединенной Европы, в том числе – интеграционных процессов и инновационных путей развития общества (www.eur.ru). Одна из подпрограмм программы Тасис – Темпус (Tempus) - направлена на развитие университетской системы образования стран СНГ и активно используется российской высшей школой для использования европейского опыта в организации преподавания предметов, появление которых обусловлено процессами интеграции России в мировой рынок.
Сотрудничество в рамках международных программ осуществляется в виде проектов и представляет собой особого рода инновационную деятельность. Для успешного осуществления этой деятельности необходимо владеть технологией формирования и подачи заявок и четко следовать требованиям, предъявляемым к проектам в рамках той или иной программы. Несмотря на существенные различия в правилах формирования заявок на проекты, существует ряд общих положений, которые являются обязательными для любых проектов в рамках международных программ.
Поскольку европейские программы нацелены на углубление интеграционных процессов и формирование единого научного и инновационного пространства, финансовой поддержкой в рамках этих программ могут пользоваться только проекты, реализуемые не одним исполнителем, будь то физическое или юридическое лицо, а консорциумом проекта, т.е. объединением исполнителей, которое формируется на время реализации проекта. Как правило, членами консорциума должны быть не менее двух-трех исполнителей из разных стран Европейского союза, а если в проекте участвуют исполнители из стран СНГ – не менее двух представителей этих стран, причем желательно – разных.
Контрольные вопросы по главе
Перечислите основные международные программы поддержки сотрудничества стран бывшего СССР с европейскими организациями
Тема 8. РЕИНЖИНИРИНГ БИЗНЕС-ПРОЦЕССОВ
8.1. Основные понятия и этапы реинжиниринга бизнес-процессов
Под бизнес-процессами понимаются логически взаимосвязанные серии действий подразделений предприятия, которые используют материальные, финансовые, информационные и другие виды ресурсов предприятия для создания в настоящее время или получения в измеримо предсказуемом будущем продукта или услуги, удовлетворяющих потребности заказчика.
Реинжиниринг бизнес-процессов (Business Process Reengineering) – это технология фундаментального переосмысления и радикальной реконструкции всех процессов деятельности предприятия с целью достижения радикальных улучшений показателей эффективности. Следует подчеркнуть, что речь идет не о каких-либо частных усовершенствованиях отдельных бизнес-процессов, а о кардинальном повышении их эффективности. Таким образом, реинжиниринг бизнес процессов – это один из методов управления изменениями в организации.
Для того, чтобы управлять изменениями какого-либо объекта, необходимо выполнить следующую последовательность действий (рис. 80).
![]() |
Рис. 80. Основные этапы реинжиниринга бизнес-процессов
Соответственно, основным содержанием работ по реинжинирингу бизнес-процессов предприятия является:
· построение модели бизнес-процесса с целью получения его объективного описания;
· анализ модели с позиций эффективности использования ресурсов с целью выявления основных источников затрат по видам ресурсов;
11 Аксиомы здравомыслия - лекция, которая пользуется популярностью у тех, кто читал эту лекцию.
· построение альтернативной модели бизнес-процесса с целью поиска путей повышения эффективности бизнес-процесса;
· разработка и осуществления комплекса организационно-технических мероприятий по реализации альтернативной модели бизнес-процесса с целью повышения его эффективности.
Реинжиниринг бизнес-процессов предполагает системное моделирование и анализ материальных, финансовых и информационных потоков предприятия для кардинальной реорганизации и упрощения организационной структуры, перераспределения и оптимизации использования ресурсов, сокращения сроков и повышения качества выполнения заказов клиентов. Наиболее эффективным данный подход является при развитии «длинных» бизнес-процессов, которые представляют собой последовательность бизнес-процедур, выполняемых в течение длительного времени. В таких бизнес-процессах до 80% времени может тратиться на передачу объектов (включая документацию) между процедурами и задержку в очередях, и только 20% тратится собственно на выполнение технологических операций.
Контрольные вопросы по главе
· Что такое бизнес-процесс?
· Что такое реинжиниринг бизнес-процессов и каковы его основные этапы?
























