Кинематика и динамика кшм двигателя
Лекция 7
Тема 6 кинематика и динамика кшм двигателя
6.1 Основные понятия и определения
Кривошипно-шатунный механизм (КМШ) служит для преобразования поступательного движения поршня во вращательное движение коленного вала.
В зависимости от конструктивной схемы различают следующие КМШ:
1. Центральный (нормальный), у которого ось цилиндра совпадает с осью коленного вала (наиболее распространен).
2. Смещенный (дезаксиальный), у которого ось цилиндра смещена относительно оси коленного вала на величину е (дезаксиал) в сторону вращения. Величина этого смещения не превышает 10% хода поршня.
Относительный дезаксиал 
где R – радиус кривошипа.
3. С прицепными шатунами – у которого два и более шатунов передают усилия на одну шатунную шейку.



Рекомендуемые материалы
Введение дезаксиала способствует:
Уменьшению давления поршня на стенку цилиндра во время рабочего хода и увеличение этого давления во время хода скольжения, что способствует равномерному износу.
Небольшое увеличение хода поршня, в результате чего может быть увеличен рабочий объем двигателя, а следовательно его мощность.
Уменьшение скорости поршня около ВМТ и др.
Этими же преимуществами обладают двигателями с КШМ, в котором поршневой палец смещен относительно оси поршня (при этом оси цилиндра и коленчатого вала совпадают). Дезансаж у этих двигателей составляет
0,02 R мм.
Вследствие малой величины дезансажа кинематический расчет дезансажа механизма можно производить по формулам центрального КМШ.
Для характеристики механизма используют безразмерный и кинематический параметр КМШ

где R – радиус кривошипа; 
Lш – длина шатуна;
Чем меньше
, тем меньше сила нормального давления поршня на гильзу, но при этом возрастают масса и высота двигателя.
Для современных двигателей
|
| СМД-14 СМД-60 | СМД–62 | ЯМЗ –338, 240 | ЯМЗ –740, | Д –240 | А–41 А–01 | ЗИЛ–130 | ВАЗ–2100 | Д–37, Д-144 |
| 0,280 | 0,274 | 0,264 | 0,267 | 0,272 | 0,264 | 0,257 | 0,295 | 0,279 |
Основная задача кинематического расчета состоит в определении закона движения поршня и шатуна.
При рассмотрении КМШ считают, что угловая скорость вращения КВД постоянна, т.е. W = const, т.е. угол его поворота пропорционален скорости
, 
Угловое перемещение кривошипа при ω = const определяется

Окружная скорость оси шатунной шейки

где R – радиус кривошипа, в м;
Центростремительное ускорение

Поршень совершает возвратно-поступательное движение, для характеристики которого определяют: перемещение SX, скорость Vп и ускорение jп.
6.2 Определение перемещения поршня
SX = АВ = АО – ОВ = АО – (ОD+ ВD);
АО = R + LШ ;
Из ∆СDВ и ∆ODC
OD = R cosφ; BD = LШ cosβ,
Тогда
Sx = R + LШ – (R cosφ + LШ cosβ) = R [1 +
- (cosφ +
cosβ)]
принемая 
Sx = R [1 +
- (cosφ +
cosβ)]
Выразим соsβ через функцию угла φ на основании теоремы синусов

т.к. 
то
.
Полученное уравнение дает точную зависимость перемещения поршня от угла поворота кривошипа φ. Однако, двойное диффирицирование этого выражения для получения ускорения, дает очень громоздкое выражение. Поэтому это выражение обычно упрощают, заменяя приближенным, но практически достаточно точным выражением.
Выражение
разлагают в ряд по биному Ньютона


Наличие двух (слагаемых) членов дает ошибку 0,02%. Поэтому ограничиваются только двумя членами

Поэтому 
Из полученной зависимости видно, что перемещение поршня можно представить в виде 2-х перемещений: первого и второго порядков:
(Перемещение I и II -го порядков – математический прием, упрощающий анализ.)
I порядка
II порядка
При


Вследствие совпадения направляющий шатуна и поршня кривошипа по I четверти окружности (0 – 90°) поршень проходит больше половины своего пути. При движении кривошипа по II четверти окружности (90 – 180°) направления перемещений шатуна не совпадают и поршень проходит меньший путь, чем за первую четверть.
– поправка Брикса.
Физическая сущность поправки Ф. Брикса в том, что она учитывает, насколько больше перемещение поршня при повороте кривошипа в I четверти (0…90°), в котором поршень пролходит больше половины своего полного хода, по сравнению с перемещением при повороте кривошипа во второй четверти окружности (φ = 90° …180°), в которой поршень проходит меньше половины полного хода.
Построение SХ можно осуществить:
а) аналитическим способом, при этом
– справочная для заданной λ
б) Методом Брикса.
в) методом сложения перемещений I и II порядков.



Способы построения кривых перемещения поршня.
Перемещение поршня для дезаксиального механизма
6.3 Определение скорости поршня


т. к.

Для дезаксиального механизма.

Построение vx может быть осуществлено:
1) аналитическим способом; при этом
– справочная для заданного 
2) методом сложения скоростей I и II порядка

Чтобы определить φ при котором v=vmax, нужно первую производную по v приравнять к 0, т.е. 
, т.е.
(
)


– критическое значение угла, при котором v = vMAX
Так при

при

Численное значение максимальной скорости 

Вывод:
1) Скорость поршня (vП) в м.т. (φ=0°, φ=180°) равна нулю;
2) При φ=90° vП=ωR; φ=270° vП= - ωR; т.е. в этих точках абсолютное значение скорости поршня равны окружной скорости оси шатунной шейки К.В. – и не являются максимальной.
3) Максимальные скорости смещены в сторону верхней м.т. и больше окружной скорости ωR на величину 
6.4 Определение ускорения поршня
Уравнение ускорения поршня может быть получено дифференцированием уравнения скорости по t.

При

Вывод:
а) При φ=180°; и λ<0,25 кривая ускорения выпуклая и ускорение имеет одно наименьшее значение 
б) При λ>0,25 в точке
кривая ускорения имеет вогнутость в сторону оси и ускорение дважды достигает наименьшего значения

Построение кривой ускорения поршня произведено:
а) аналитически. При этом значение множителя Aj в скобках справочная величина в зависимости от λ и φ.
б) графически. Путем сложения ускорения первого jП I=ω2Rcosφ и второго jП II=ω2Rλcos2φ


Для дезаксиального механизма jП

6.5 Динамика КШМ
Динамический расчет КШМа заключается в определении суммарных сил и моментов, возникающих от давления газов и сил инерции. По этим силам рассчитывают основные детали на прочность и износ, а также определяют неравномерность кр. Момента и степень неравномерности хода двигателя.
Во время работы двигателя на детали КШМ действуют:
а) силы давления газов в цилиндре;
б) силы инерции возвратно-поступательно движущихся масс;
в) центробежные силы;
г) давление на поршень со стороны картера (P0 = 0,1 МПа) – допущение;
д) силы трения пары цилиндр-поршень (их действие учитывается механическим кпд ηм);
е) силы тяжести (в динамическом расчете не учитывается).
6.5.1 Определение сил давления газов
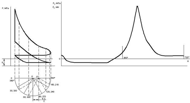
Силы давления газов зависят от протекания рабочего цикла, который изменяется по сложному закону и не поддается точному математическому описанию. Поэтому силы давления газов, действующие на площадь поршня, заменяют одной силой, направленной по оси цилиндра и приложенной к оси поршневого пальца. Определяется эта сила для каждого момента времени (угла φ) по действительной индикаторной полученной расчетным или экспериментальными методами.
Построение индикаторной диаграммы, в развернутую по углу поворота К.В.Д. обычно осуществляют по методу проф. Ф.А. Брикса.
Под индикаторной диаграммой строят вспомогательную полуокружность радиусом
. От центра О в (в масштабе) сторону Н.М.Т. откладывают поправку Брикса (
).
Из полюса О/ проводят лучи под соответствующими углами 300, 600 900, 1200, 1500, 1800.
Из центра О полуокружность делят лучами на несколько частей (чаще 300), а из центра Брикса (0/)проводят линии, параллельные этим лучам. Точки, полученные на полуокружности, соответствуют определенным углам φ.
}
Из этих точек проводят вертикальные линии до (х) с линиями индикаторной диаграммы и полученные величины давлений откладывают на вертикали соответствующих углов φ.
Следует учесть, что свернутой индикаторной диаграмме давление отсчетов от абсолютного нуля, а на развернутой показывают избыточное давление над поршнем PГ = Pr – P0


Знак силы PГ

Силы давления газов на поршень
PГ = (РM – Р0) FП , МН.
где Р, Р0 – давление газов в любой момент времени и атмосферное давление, МПа;
FП – площадь поршня, м2
Шкала PГ может являться шкалой сил PГ.
Если давление PГ построена в масштабе μP,
, то масштаб этой же кривой для PГ будет
,
или
,
.
6.5.2 Приведение масс частей КШМ
По характеру движений массы деталей КШМ можно разделить на:
а) движущиеся возвратно-поступательно (поршневая группа, верхняя головка шатуна);
б) совершающие вращательное движение (коленчатый вал и нижняя головка шатуна);
в) совершающие сложное плоско-параллельное движение (стержень шатуна).
Массы этих деталей при движении образуют силы инерции, которые создают дополнительную нагрузку и их необходимо учитывать при расчетах.
Для упрощения расчета действительный КШМ заменяют динамической моделью. В ней массы сосредоточены в определенных точках механизма, законы движения которых известны.
mП – масса поршневой группы, считают сосредоточенной на оси поршневого пальца в точке А.
mШ – масса шатунной группы. Ее массу заменяют двумя массами: mШ = mШП+ mШК
mШП – сосредоточена на поршне (шатуна -- поршне)

Приведенная система: (динамическая модель)
а) КШМ; б) кривошипа
mШК – масса шатуна на кривошипе.
; 
LШ – длина шатуна;
LШК, LШП – расстояние от центра тяжести шатуна до кривошипа и поршневого пальца.
В расчетах можно принимать среднее значение.
mШП =0,275 mШ; mШК= 0,725 mШК
Массу кривошипа, заменяют двумя массами, сосредоточенными: на оси кривошипа mK и на оси коренной шейки m0,


где mК – масса сосредоточенная на оси кривошипа;
m0 – масса сосредоточенная на оси коренной шейки;
mШШ – масса шатунной шейки;
mЩ – масса средней части щеки;
ρ – расстояние центра тяжести массы щеки.
У современных двигателей mЩ мала по сравнению с mШШ и ею можно пренебречь.
Таким образом получаем систему сосредоточенных масс, динамически эквивалентной КШМ двигателя:
m j – масса, совершающая возвратно-поступательное движение (точка А);
m j = mП + mШП
mR – масса, совершающая вращательное движение (точка В)

Для V образного двигателя со сдвоенным КШМ

6.5.3 Силы инерции в КШМ

Рисунок - Схема сил давления газов и инерции
Силы инерции, действующие в КШМ подразделяются:
Рj – силы инерции, поступательно-движущихся масс
;
Аналогично ускорению Рj раскладывают на 2 силы
;
где Рj1 – сила инерции первого порядка;
;
Рj2 – сила инерции второго порядка;
;
Изменяются силы:
Рj1 – по закону косинусоиды, с периодом 360°
Рj2 – по закону косинусоиды, с периодом 180°
КR – центробежная сила инерции вращающихся масс

Сила КR состоит из сил инерции вращающихся масс шатуна и кривошипа.
КR – постоянна по величине (т.к. ω = const) и направлена всегда от центра кривошипа (от оси коленчатого вала).
6.5.4 Суммарная и составляющие силы, действующие в КШМ

Суммарную силу Р, действующую на поршень определяют, алгебраическим сложением сил давления газов РГ и сил возвратно-поступательно движущихся масс Рj
P = РГ + Рj , кН
где РГ – сила давления газов; кН
Рj – сила инерции; кН
Силу Р разложим на две составляющие;
1. N – нормальная сила, сила действующая перпендикулярно оси цилиндра
, кН
2. S – сила, действующая вдоль шатуна.
, кН
От действия силы S шатунную шейку возникают две составляющие силы:
1) К – сила, направленная по радиусу кривошипа;
, кН 
2) Т – тангенциальная сила, направленная по касательной к окружности
, кН 
Численные значения тригонометрических функций, входящих в уравнения сил (N, S, K, T) для различных λ и φ приведены в таблицах [1].
По данным уравнениям строят кривые изменения сил N, S, K, T, для углов φ = 0…720°

6.5.5 Крутящий и опрокидывающий моменты двигателя

Рис. Суммарные силы, действующие в КШМ (знаки сил показаны на схеме)
Если радиальную силу К перенести в центр О, и приложить две силы Т/ = Т// = Т, то получим пару сил Т и Т/, которая приводит во вращение коленчатый вал. Момент этой пары называют крутящим моментом Мкр ц одного цилиндра двигателя.
;
Сложим силы 
Разложим S/ на две силы N/ и P/ 
; 


Силы N и N/ образуют пару сил, момент который называют опрокидывающим (обратным) моментом МОПР
МОПР всегда равен МКР т.е.

где Н – расстояние между осями поршневого кольца и коренной шейки

где: 

Вынесем R

Так как из теоремы синусов:
; 



}
Кривая изменения силы Т=f(φ) является также кривой MКР.Ц=f(φ), но в масштабе
,
;
где МТ – масштаб силы Т, 
R – радиус кривошипа, м.
Определение крутящего момента для многоцилиндрового двигателя.
Для построения кривой суммарного крутящего момента МКР многоцилиндрового двигателя производят графическое (или табличное) суммирование кривых МКР.Ц каждого цилиндра, сдвигая кривую относительно другой на угол (
) поворота кривошипа между вспышками.
для 4-х тактного;
для 2-х тактного.
где
– число цилиндров двигателя.
– угол поворота кривошипа между вспышками (период изменения суммарного момента)– МКР. СР

Рис. Кривая суммарного крутящего момента (МКР) МКР=f(φ)
Среднее значение суммарного крутящего момента МКР. СР (МНм) определяется
, 
Если Вам понравилась эта лекция, то понравится и эта - Педагогические конфликты и способы их разрешения.
где F1, F2 – положительная и отрицательная площади, заключенные между кривой МКР и линией ОА; мм2;
– масштаб моментов;
;
ОА – длина интервала периода, изменение суммарного момента.
МКР.СР – представляет собой средний индикаторный момент двигателя. Действительный эффективный крутящий момент, снимаемый с вала двигателя
,
где
– механический к.п.д. двигателя.
























