Цепные передачи
Лекция 22. Цепные передачи
Общие сведения. Цепная передача (рис. 67,а) относится к механическим передачам с гибкой связью. На ведущем и ведомом валах передачи устанавливаются звездочки, которые входят в зацепление с
охватывающей цепью. Цепь в отличие от ремней изгибается только в одной плоскости, поэтому звездочки устанавливаются на строго параллельных валах. Принцип зацепления, а не трение, устраняет проскальзывание и буксование при работе передачи.
Достоинства: возможность передачи мощности на большие расстояния (до 8 м); по сравнению с ременными передачами: могут передавать большие мощности; меньшая нагрузка на валы, так как напряженной под действием окружного усилия является только ведущая ветвь; позволяют реализовывать большее передаточное отношение при малом расстоянии между валами; более высокий к.п.д.; более компактны, возможность передачи движения одной цепью нескольким звездочкам с разным направлением их вращения.
Недостатки: сравнительно высокая стоимость цепей; вытягивание цепей вследствие износа в шарнирах; необходимость тщательного монтажа передачи и тщательного ухода за ней; неравномерность хода; повышенный шум вследствие удара звена цепи при входе в зацепление и дополнительные динамические нагрузки; непригодность передачи при периодическом реверсировании без пауз; чувствительность к ударам и резким изменениям нагрузки; сложность подвода смазки к шарнирам цепи; сравнительно небольшой срок службы цепей.
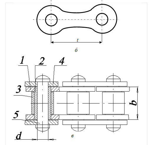
Конструкция цепи. Наиболее широко применяют роликовые цепи (рис. 67,в), которые образуются из последовательно чередующихся внутренних и наружных звеньев, имеющих форму, изображенную на рис. 67,б). Внутренние звенья состоят из внутренних пластин 1 и запрессованных в их отверстия гладких втулок 2, на которых свободно вращаются ролики 3. Наружные звенья состоят из наружных пластин 4 и запрессованных в их отверстия валиков 5. Концы валиков после сборки расклепывают. Благодаря натягу в соединениях наружных пластин с валиками и внутренних пластин с втулками и зазору между валиком и втулкой образуется шарнирное соединение.
Основные параметры цепной передаче. Мощность, которую можно передать с помощью цепной передачи, обычно не превышает 100 кВт. Межосевое расстояние может достигать 8 м. Частоты вращения звездочек и скорость цепи ограничиваются величиной силы удара в зацеплении, износом шарниров и шумом передачи. Скорость цепи обычно не должна превышать 15 м/с.
Средняя скорость цепи рассчитывается по зависимости:

Рекомендуемые материалы
где
число зубьев ведущей звездочки;
частота вращения ведущей звездочки, об/мин;
шаг цепи, мм.
Передаточное число цепной передачи 

а

Рис.67
Передаточное отношение ограничивается габаритами передачи, диаметром большой звездочки, малостью угла охвата цепью малой звездочки и не превышает обычно 7.
Минимальные числа зубьев звездочек ограничиваются износом шарниров, динамическими нагрузками и шумом передачи. Чем меньше число зубьев звездочки, тем больше износ. Минимальное число зубьев ведущей звездочки для силовых передач общего назначения выбирают по эмпирической зависимости

Максимальное число зубьев ведомой звездочки ограничивается предельно допустимое увеличение шага цепи и обычно не превышает
Число зубьев ведущей звездочки предпочтительно принимать нечетное, что в сочетании с четным числом звеньев цепи способствует равномерному износу шарниров цепи и зубьев звездочек.
Делительные диаметры звездочек определяют по зависимости:

Минимальное межосевое расстояние определяют из условий размещения звездочек и минимального угла охвата цепью ведущей звездочки. Оптимальное межосевое расстояние
При
наблюдается ускоренный износ шарниров цепи в связи с повышенной частотой входа каждого шарнира в зацепление. При
даже небольшой износ каждого шарнира цепи вызывает значительное удлинение цепи, что приводит к нарушению зацепления цепи с зубьями звездочек.
Число звеньев цепи
зависит от межосевого расстояния
, шага
и чисел зубьев звездочек
и
и определяется по формуле:

Полученное значение
округляют до большего ближайшего четного числа. Четное число звеньев цепи позволяет избежать применения переходных звеньев при соединении концов цепи. Затем уточняют значение межосевого расстояния.
Цепь должна иметь некоторое провисание во избежание повышенной нагрузки на цепь и валы от силы натяжения и радиального биения звездочек. Для этого межосевое расстояние уменьшают на (0,002 … 0,004)
Окружная сила на звездочках

Расчет цепных передач. Цепные передачи рассчитывают по тяговой способности и на износостойкость шарнира.
Расчет по тяговой способности заключается в сравнении максимальной окружной силы
, которая возникает в момент пуска передачи с силой
разрывающей цепь.

где
коэффициент безопасности.
Расчет передачи по условию износостойкости шарниров цепи заключается в сравнении давления в шарнирах, которое не должно превышать допустимого в данных условиях эксплуатации.

где
площадь проекции шарнира на диаметральное сечение;
коэффициент эксплуатации.
Коэффициент эксплуатации
представляют в виде частных коэффициентов

где
динамический коэффициент;
коэффициент, учитывающий влияние длины цепи;
коэффициент, учитывающий влияние наклона линии межосевого расстояния к горизонту;
коэффициент, учитывающий влияние способа регулирования натяжения цепи;
коэффициент, учитывающий влияние способа смазки;
коэффициент, учитывающий влияния режима работы передачи;
коэффициент, учитывающий влияние температуры окружающей среды.
Лекция 23. Валы и оси
Общие сведения. Для поддержания вращающихся деталей в конструкциях используют валы и оси. Отличие вала от оси заключается в том, что вал всегда вращается и кроме изгибающей нагрузки передает вращающий момент, а также может воспринимать осевую нагрузку.
Валы по форме оси подразделяются на прямые, коленчатые и гибкие валы. Прямые валы бывают гладкими (рис. 68,а) и ступенчатыми (рис. 68, б). Коленчатые валы (рис. 68,в) имеют ломаную линию.

Рис. 68
Гибкие валы имеют криволинейную геометрическую ось при работе. Такие валы обладают высокой жесткостью при кручении и малой жесткостью при изгибе.
Участки валов и осей, которыми они опираются на подшипники, называют цапфами, если они воспринимают радиальную нагрузку, и пятами – если осевую. Если цапфа расположена на конце вала, то ее называют шипом, а если на удалении – то шейкой.
Поверхность плавного перехода от одного диаметра вала к другому называется галтелью. При шлифовании поверхности вала с меньшим диаметром галтель выполняется в виде скругленной канавки для обеспечения выхода шлифовального круга.
Оси и вала в основном изготавливаются из среднеуглеродистых и легированных сталей. Для изготовления тяжелонагруженных коленчатых валов применяют модифицированный или высокопрочный чугун.
В зависимости от расположения вала в приводе различают быстроходные, промежуточные и тихоходные валы.

Рис. 69
Расчетные схемы валов и осей. При переходе от конструкции к расчетной схеме производят схематизацию нагрузок, опор и формы вала. Валы и вращающиеся оси рассматривают как балку на шарнирных опорах. Подшипники, одновременно воспринимающие радиальную и осевую нагрузку заменяют шарнирно-неподвижной опорой, а подшипники, которые воспринимают только радиальную нагрузку – шарнирно-подвижной опорой.
Нагрузки, которые действуют на вал со стороны установленных на них деталей, в действительности не являются сосредоточенными. Расчетные нагрузки рассматривают обычно как сосредоточенные и приложенные по середине ступицы. Большинство муфт, вследствие несоосности соединяемых валов, нагружают вал дополнительной силой
. Направление силы
по отношении к силе
может быть любым, которое зависит от случайных неточностей монтажа. В расчетной схеме силу
направляют таким образом, чтобы деформация вала была максимальной.
На рис. 69 вал нагружен силами: окружной силой
, радиальной силой
, осевой силой
, силой от муфты
.
Эти силы действуют в двух взаимно перпендикулярных плоскостях. Изобразим их в вертикальной и горизонтальной плоскости и приведем к оси вала.
После приведения сил к оси вала возникают изгибающий момент
и крутящий момент
Здесь
делительный диаметр колеса.
Строим эпюры изгибающих моментов в вертикальной
и горизонтальной плоскости
, эпюру суммарных изгибающих моментов
и эпюру крутящих моментов 
Суммарный изгибающий момент определяется по зависимости

Этапы проектирования вала. При проектирование вала различают три этапа: предварительный, конструкторский и проверочный.
На первом этапе (предварительный) при отсутствии данных об изгибающих моментах определяют диаметр вала по известному крутящему моменту из условия прочности по заниженным касательным напряжениям

где
МПа – допускаемое напряжение на кручение.
На втором этапе (конструкторский) разрабатывается конструкция вала, обеспечивающая условия изготовления и сборки. Определяются длины участков валов и назначаются диаметры валов на различных участках.
На третьем этапе (проверочный) производят оценку статической прочности и сопротивления усталости.
Расчет на статическую прочность. Так как валы работают в основном в условиях кручения и изгиба, а напряжения от осевых сил малы, то эквивалентное напряжение можно рассчитать, используя энергетическую теорию прочности

где
напряжение изгиба в сечении вала;
касательное напряжение в сечении вала.
Напряжения от действия изгибающего и крутящего момента в рассматриваемом сечении вала определяют по формулам:

где
соответственно осевой и полярный момент сопротивления сечения вала.
Моменты сопротивления для круглого сечения равны

Для круглого сечения со шпоночной канавкой моменты сопротивления рассчитывают по зависимостям:


где
ширина шпоночной канавки;
глубина шпоночной канавки.
Запас прочности по пределу текучести
,
где
допустимый коэффициент запаса прочности.
Расчет на сопротивление усталости. Постоянные по направлению и величине силы вызывают во вращающемся валу переменные напряжения изгиба, изменяющиеся по симметричному циклу, с амплитудой и средним напряжением

При расчете валов условно принимают, что напряжения кручения изменяются по отнулевому циклу, в котором амплитуда и среднее напряжение определяются по зависимости:

Коэффициент запаса прочности на сопротивление усталости определяют по формуле:

где
соответственно коэффициенты запаса прочности на сопротивление усталости по нормальным и касательным напряжениям.
Эти коэффициенты рассчитывают по формулам:

Информация в лекции "77 Производная функций комплексного переменного" поможет Вам.
где
пределы выносливости соответственно при изгибе и кручении;
эффективные коэффициенты концентрации напряжений соответственно при изгибе и кручении;
коэффициенты, учитывающие влияния размеров сечения соответственно при изгибе и кручении;
коэффициенты, учитывающие влияние упрочнения и шероховатости соответственно при изгибе и кручении;
коэффициенты, учитывающие чувствительность материала к ассиметрии цикла напряжений соответственно при изгибе и кручении.
Условие запаса прочности на сопротивление усталости выполняется, если 





















