Контроль оправ и тубусов
Контроль оправ и тубусов.
Контроль точности обработки посадочных внутренних и наружных цилиндрических поверхностей оправ и тубусов осуществляется общепринятыми методами с помощью предельных калибров (проходных и непроходных скоб и пробок) или с использованием универсальных микрометрических инструментов (микрометров, микрометрических нутрометров и т.д.). Аналогичными методами контролируют и наружные (охватывающие) линейные размеры.
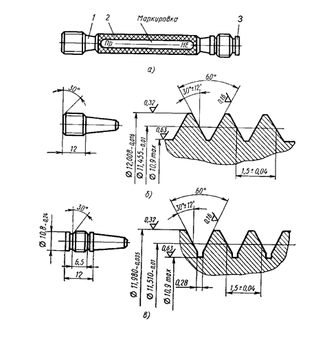
Для контроля линейных размеров внутренних поверхностей (охватываемых) оправ часто используют специальные или переналаживаемые контрольные приспособления. На рис.6.1.,а показано переналаживаемое приспособление, настроенное на контроль размера 15,5+0,019 (длины цилиндрической поверхности диаметром Æ20+0,045) детали, изображенной на рис.6.1.,б.
![]() |
Рис. 6.1. Переналаживаемое приспособление (а) для контроля линейных
размеров оправы (б).
В корпусе с помощью винта и пружины установлена сменная вставка. Индикатор, укрепленный в корпусе, настраивается по набору концевых мер или эталонной детали на контролируемый размер. Для контроля детали приспособление вводят в отверстие оправы. Опорная поверхность корпуса и вставки упирается в торцы оправы. При этом показания индикатора у годной детали не должны отличаться от настроенного значения на величину большую допуска контролируемого размера.
![]() |
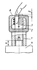
Калибр для контроля размера Н оправы 4 (рис.6.2) состоит из корпуса 1, подвижного упора 2 и пружины 3. На верхнем торце подвижного упора 2 обработаны две перпендикулярные оси упора площадки, расстояние между которыми равно допуску d на контролируемый размер. Калибр устанавливают на деталь, подвижный упор пальцем прижимают к контролируемой поверхности оправы. Деталь считается годной, если нижняя площадка подвижного упора 2 располагается ниже торца А корпуса, а верхняя – выше. Положение площадок упора относительно торца корпуса оценивают на ощупь пальцем. Такой метод на заводах получили наименование «контроль методом осязания».
Рис. 6.2. Приспособление для контроля линейных размеров.
Рекомендуемые материалы
Для контроля охватываемых осевых размеров оправ на заводах часто применяют калибры с рисками. Принцип контроля остается прежним, только вместо площадок на поджимном упоре наносят риски, расстояние между которыми равно допуску на контролируемый размер. Контрольная риска на неподвижном корпусе калибра для годных деталей должна располагаться между рисками на подвижном упоре.
Основным методом контроля резьбовых поверхностей оправ в производственных условиях является комплексный метод с помощью резьбовых калибров. Рабочие калибры применяют для контроля резьб в процессе их изготовления. Приемные калибры предназначены для проверки резьбы работниками ОТК. Для проверки и установки рабочих калибров используют контрольные калибры (контркалибры).
Контроль внутренней резьбы осуществляют следующими калибрами: проходная резьбовая пробка, непроходная резьбовая пробка и предельные гладкие пробки для проверки внутреннего диаметра резьбы.
Для проверки наружной резьбы используют проходное резьбовое кольцо (или скобу), непроходное резьбовое кольцо (или скобу) и предельные гладкие скобы для наружного диаметра резьбы.
Предельная резьбовая пробка для контроля однозаходной окулярной резьбы ОК 12´1,5, показанная на рис.6.3.,а состоит из рукоятки 2 и двух вставок: проходной 1 и непроходной 3.
Проходная сторона (вставка) резьбовой пробки (рис.6.3.,б) имеет полный профиль резьбы и длину, примерно равную диаметру, для выявления прогрессивной ошибки шага. Проходной пробкой осуществляется комплексный контроль параметров внутренней резьбы, кроме внутреннего диаметра, который проверяется гладкой предельной пробкой.
Непроходная сторона (рис.6.3.,в) резьбовой пробки служит для проверки только среднего диаметра гайки по наибольшему предельному размеру. Эта сторона пробки не должна ввинчиваться в гайку. На несвинчиваемость непроходной резьбовой пробки с гайкой, кроме среднего диаметра, могут оказывать влияние ошибки шага резьбы и половины угла профиля (a/2). Для уменьшения влияния ошибок a/2 непроходную резьбовую пробку делают с укороченным профилем резьбы, получаемым уменьшением высоты витка. Для уменьшения влияния погрешности шага длину резьбовой части пробки сокращают до 2-2,5 витков.

Рис. 6.3. Проходная (б) и непроходная (в) вставки предельной резьбовой
пробки (а) для контроля окулярной резьбы.
Хотя благодаря укороченному профилю и сокращенной длине резьбовой части намного снижается влияние ошибок угла и шага, однако отклонение от цилиндричности еще не выявляется. Поэтому в тех случаях, когда требуется проконтролировать некруглость резьбы, применяют вместо непроходного резьбового калибра-пробки шкальный прибор с укороченными измерительными элементами (ребристые ролики, резьбовая гребенка и др.).
Проверку размеров наружной резьбы осуществляют предельными резьбовыми кольцами – проходными и непроходными.
Проходное резьбовое кольцо имеет полный профиль резьбы и число витков, равное числу витков контролируемой резьбы. Проходное резьбовое кольцо предназначено для комплексной проверки параметров наружной резьбы. Наружный диаметр резьбы проходным кольцом не проверяют. Для этой цели применяют гладкую предельную скобу.
Непроходное резьбовое кольцо служит для проверки только среднего диаметра резьбы болта по наименьшему предельному размеру. Это кольцо, как и проходная пробка, имеет укороченный профиль резьбы и всего 2-3,5 витка резьбовой части. Непроходное кольцо по наружному виду отличается от проходного тем, что по окружности непроходного кольца делается кольцевая выточка. Кроме того, ширина непроходного кольца должна быть меньше ширины проходного.
Наряду с кольцами все более широкое распространение получили резьбовые регулируемые скобы с измерительными губками в виде гребенок и роликов. Преимущество резьбовых скоб состоит в большем сроке службы, в возможности более точного изготовления и измерения самих гребенок и роликов, в возможности измерения изделия в центрах станка и в снижении времени контроля.
Ранее указывалось, что для резьбовых соединений пар оправ, сопрягаемых по окулярной резьбе, устанавливают допуски на осевую и радиальную качку (см. рис. 5.1.,б). Приспособление для проверки качки в окулярной резьбе показано на рис. 6.4. Скомплектованную пару оправ закрепляют в сменной втулке 1. Индикатор 2, имеющий возможность перемещаться в вертикальном и вместе с колонкой 3 в горизонтальном направлении, выставляют до соприкосновения с торцом контролируемой пары. Покачивая рукой оправу, по индикатору определяют величину осевой и радиальной качки. При необходимости контроль осуществляют при различной длине свинчивания оправ.

Рис. 6.4. Приспособления для контроля «качки» в окулярной резьбе.
Для контроля качки окулярной резьбы также используют индикаторные приспособления, в которых оправы устанавливают в призмах или на жестких цанговых оправах, а величину качки измеряют с помощью индикаторов. Контроль окулярных резьб с жесткими допусками на радиальную качку (величины которых соизмеримы с погрешностями измерения применяемых индикаторов, и, следовательно, достоверность результатов такого контроля мала) можно вести на приспособлении с автоколлиматором. Для этого одну оправу, как и прежде, закрепляют в приспособлении, а к торцу другой оправы прикрепляют плоское зеркало. При качании второй оправы по автоколлиматору, предварительно выставленному перпендикулярно плоскому зеркалу, измеряют углы наклона зеркала, обусловленные радиальной качкой резьбы, и сравнивают их с допустимыми.
Контроль расположения посадочных цилиндрических поверхностей, оправ, тубусов, резьбовых поверхностей, торцов осуществляется различными способами в зависимости от конструкции деталей и требований, предъявляемых к расположению поверхностей.
![]() |
На рис. 6.5. показана схема контроля параллельности торцов А и Б оправы, которая торцом А устанавливается на поверочную плиту, а торец Б «ощупывается» индикатором, закрепленным в стойке. Разность показаний индикатора при ощупывании торца Б должна быть меньше допуска на непараллельность. Аналогичным образом можно проверить параллельность торцов В и Г торцу А.
Рис. 6.5. Схема контроля параллель- Рис. 6.6. Схема контроля биения
ности торцов оправы. поверхностей оправы.
Контроль биения наружных цилиндрических поверхностей и торцов относительно оси сквозного отверстия удобно вести по схеме, показанной на рис. 6.6. Оправу 1 устанавливают по отверстию на точной оправке 2, которую закрепляют в соосных центрах 3. При вращении оправки с деталью индикаторы показывают величины радиального и торцового биения поверхностей А и Б относительно оси отверстия В.
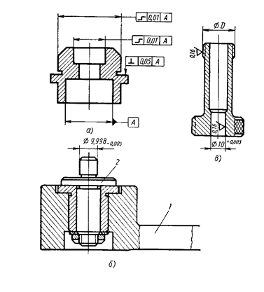
Точность расположения поверхностей оправ, подобных оправе, изображенной на рис. 6.7.,а, на заводах контролируют на приспособлениях (рис.6.7.,б), состоящих из плиты 1, в которой закреплен постоянный палец 2. Контроль проводят с помощью комплекта вкладышей (рис. 6.7.,в) и стойки с индикатором. Из комплекта подбирают вкладыш, который плотно с минимальным зазором входит по диаметру Æ D в базовое отверстие А оправы. Вкладыш вместе с оправой по диаметру Æ10+0,003 надевают на палец. Стойку с индикатором устанавливают на плите так, чтобы измерительный стержень индикатора касался контролируемой поверхности. При вращении вкладыша измеряют соосность и торцевое биение.
![]() |
Рис. 6.7. Приспособление (б) для контроля соосности и торцового биения
оправы (а); в – сменный вкладыш.
Подставку с пальцем можно использовать при контроле различных по размерам и конструкции оправ. Комплект вкладышей изготовляют для каждого типоразмера детали. Число вкладышей в комплекте определяют в зависимости от длины отверстия оправы и величины допуска на диаметр оправы таким образом, чтобы обеспечить минимальный возможный наклон оси оправы относительно оси пальца за счет зазора между пальцем и отверстием оправы. На таком приспособлении можно контролировать оправы, у которых отношение L : D < (1¸1,5), где L – длина детали, D – диаметр контролируемой поверхности оправы. Для длинных оправ и тубусов биение контролируемой поверхности, обусловленное возможным наклоном оправы при ее установке на палец, становится соизмеримым с допуском на контролируемую несоосность и даже превышает его, поэтому контролировать указанные детали рассмотренным способом невозможно.
Для контроля несоосности с соотношением L : D > 1,5 деталей можно рекомендовать “дифференциальный” метод контроля, рзработанный Уразаевым З.Ф.
Следует отметить, что на точность рассмотренных выше способов контроля несоосности влияет погрешность формы контролируемых поверхностей, что снижает достоверность результатов.
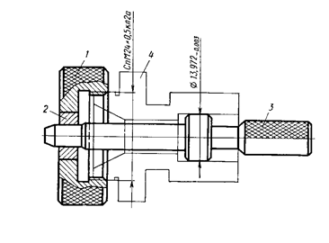
На рис. 6.8. показан калибр для контроля биения (0,03 мм) резьбы Сп
Рекомендуем посмотреть лекцию "2 - Функции информационных систем".
-0,002
М24´0,5 кл. 2а относительно отверстия Æ14-0,006 оправы 4. Гайку 1 с втулкой 2 навинчивают на контролируемую резьбу оправы 4, пробку 3 вводят в контролируемое отверстие. Деталь считают годной, если пробка входит в отверстие втулки 2. Втулку и пробку притирают с зазором 2-3 мкм.

Рис. 6.8. Калибр положения для контроля биения поверхностей оправы.
Калибр не измеряет действительную величину биения поверхностей, с его помощью ведут лишь отбраковку оправ.
Конец главы


























