Расчёт газовыделения из кинематических пар
Лекция 28.
Расчёт газовыделения из кинематических пар.
В общем виде поток газовыделения из кинематической пары определяется зависимостью:
QК≈F∙qК , QК≈
Fi∙qКi
Где Fi—площадь поверхности контакта i-й кинематической пары;
qКi—удельное газовыделение из кинематической пары в контакте;
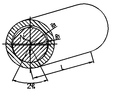
1. Вал-втулка
Рекомендуемые материалы
![]() |
рис.1 Схема кинематической пары ‘вал-втулка’
Удельное газовыделение для кинематической пары вал/втулка определяется по
формуле:

Площадь контакта:
В диапазоне варьирования параметров:
Vск=0,2-0,9 м/с, σк=10-50 МПа
Скорость скольжения определяется следующим соотношением:
Vск=πR2n/30,
где n-частота вращения, об/мин.

где 


Здесь: μ1,μ2—коэффициенты Пуассона для материалов вала и втулки;
Е1,Е2—модули упругости материалов вала и втулки;
N—нормальная нагрузка;
L—длина контакта;
Po— удельная нагрузка;
VСК—скорость скольжения;
σК—контактное напряжение;
Пример 1
Расчёт газовыделения из пары ‘вал-втулка’ со следующими геометрическими размерами и параметрами:


N=12 H (=1 кг)
L=10-2 м
Определяем скорость скольжения:
Qк=?

Определяем контактные напряжения:


Площадь контакта:

Тогда газовыделение пары ‘вал-втулка’:


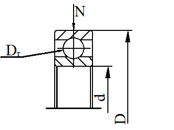
2. Шарикоподшипники:
![]() |
рис.2 Схема шарикоподшипника
![]() |
Удельное газовыделение для кинематической пары кольцо подшипника-тела качения выражается соотношением:
Пример 2: рассчитать газовыделение QК из шарикоподшипника серии 100 в вакууме при следующих параметрах:
N=80H; n=2000об/мин; радиус желоба: ρж=2,56•10-3м; диаметр шариков DТ=4,74•10-3м;
D=2,6•10-2м; d=10-2м; Е=2•1011Н/м2 (для стали ШХ15); μ=0,3;

Расчет:

Пример 3: тот же подшипник (серии 100) вращается при той же нагрузке N=80H, но с частотой n=20об/мин. В этом случае поток газовыделения составит:
![]() |
VСК=1,6•10-4м/с;
![]() |
3. Зубчатая волновая передача.
Рис. 3 Схема контактного взаимодействия в зоне зацепления волновой зубчатой передачи:
1—жесткое колесо (ведомое);
2—двухкулачковый генератор волн (закрепление на ведущем валу);
3-гибкое герметичное колесо;
Удельное газовыделение из зубчатого зацепления для волновой передачи определяется по формуле:


Пример 4: Рассчитать поток газовыделения из волновой зубчатой передачи ГВЗП-42 при следущих параметрах:
Dдж=4,385•10-2м; Zж=144; αw=20˚; φ=30˚
Мвых=5,3Н•м; СZ=0.15; m=3•10-4м
Нд=0,562•10-3м; hд=Нд/m=1.88

wo=4•10-4м; n1=10•c-1; В=8•10-3м
Вам также может быть полезна лекция "5 Учение Аристотеля о праве и государстве".
4. Планетарно-винтовая передача.
Рис. 4 Схема контактного взаимодействия в планетарно-винтовой передаче





























