Перемещение жидкостей
Перемещение жидкостей
Для перемещения жидкостей по горизонтальным трубопроводам и для их подъема применяют насосы.
Насосы – гидравлические машины, преобразующие механическую энергию в энергию движения жидкости.
Разность давлений в насосе и трубопроводе вызывает перемещение жидкости.
Перемещение жидкости может осуществляться также самотеком, который достигается соответствующей компоновкой оборудования по высоте.
Классификация насосов осуществляется по принципу их действия:
1) Лопастные (центробежные) – разность давлений создается центробежной силой, действующей на жидкость при вращении лопастных колес; движение жидкости перпендикулярно оси вращения колеса.
2) Объемные – разность давлений создается при вытеснении жидкости из замкнутого пространства телами, движущимися:
a) Возвратно-поступательно;
Рекомендуемые материалы
b) Вращательно;
3) Вихревые – разность давлений создается за счет энергии вихрей, образующихся в жидкости при вращении рабочего колеса;
4) Осевые – разность давлений создается за счет вращения гребного винта; жидкость движется вдоль оси вращения.
К насосам относятся также устройства, преобразующие в давление энергию пара, воды и сжатого газа:
· Струйные насосы;
· Газлифты – за счет разности плотностей жидкости и газожидкостной смеси, образующейся при вводе газа;
· Монтежю – перемещение жидкости происходит за счет давления воздуха, газа или пара на поверхность жидкости.
Основные параметры насосов
Производительность (подача)
- объем жидкости, подаваемой насосом в нагнетательный трубопровод в единицу времени.
Напор
- это удельная энергия, которая сообщается насосом единице веса перекачиваемой жидкости; или высота, на которую может быть поднят 1 кг перекачиваемой жидкости (не зависит от плотности или удельного веса жидкости)
Полезная мощность
- мощность, затрачиваемая насосом на сообщение жидкости энергии.
;
Мощность на валу
- учитывает потери в самом насосе.
;
Коэффициент полезного действия
- отражает потери мощности в самом насосе.
;
;
где:
- объемный К.П.Д. (коэффициент подачи);
- отношение действительной производительности насоса к теоретической.
учитывает потери жидкости через сальники, зазоры, клапаны, запаздывание в закрывании и открывании клапанов, скопление воздуха в цилиндре.
- гидравлический К.П.Д. – отношение действительного напора к теоретическому (учитывает потери напора при движении жидкости через сам насос).
- механический К.П.Д. (учитывает потери мощности на механическое трение в насосе).
Номинальная мощность, потребляемая двигателем
;
- К.П.Д. передачи (учитывает механические потери в передаче).
- К.П.Д. двигателя (учитывает механические потери в двигателе).
Полный К.П.Д. насосной установки:
;
;
Установочная мощность двигателя:
;
где:
- коэффициент запаса мощности (учитывает перегрузки в момент пуска в связи с преодолением инерции жидкости, находящейся в насосе).
.
Напор насоса

- давление в емкости 1 (расходная);
- давление в емкости 2 (напорная);
- давление на входе в насос;
- давление на выходе из насоса;
- высота всасывания;
- высота нагнетания;
- геометрическая высота подачи жидкости;
- расстояние по вертикали между уровнями манометра и вакуумметра.
Запишем уравнение Бернулли для сечений
при всасывании:
;
Для сечений
при нагнетании:
;
где:
- скорости жидкости в емкостях 1 и 2;
- скорости жидкости во всасывающем и нагнетающем патрубках насоса.
Считаем, что
и
.
Тогда, напор, развиваемый насосом:
;
;
Это выражение для расчета полного напора насоса.
Обычно:
(патрубки одинаковых размеров);
;
- общее сопротивление трубопровода.
Тогда:
;
Полный напор насоса затрачивается на:
· Подъем жидкости на полную геометрическую высоту
;
· Преодоление разности давлений в напорной и приемной емкостях;
· Преодоление гидравлического сопротивления во всасывающем и нагнетающем трубопроводах;
1. При одинаковом давлении в приемной и нагнетающей емкостях
:
;
2. Для горизонтального трубопровода
:
;
3. Для горизонтального трубопровода при одинаковых давлениях:
;
Полный напор действующего насоса может быть определен по показаниям вакуумметра и манометра:
;
;
;
- давление столба жидкости между уровнями установки манометра и вакуумметра.
Следовательно, для расчета напора действующего насоса используется выражение:
;
Напор действующего насоса определяется суммой показаний манометра и вакуумметра (в метрах столба перекачиваемой жидкости) и расстояния по вертикали между точками установки этих приборов.
Высота всасывания
Всасывание жидкости происходит под действием разности давлений в приемной емкости
и в насосе
.
Из уравнения Бернулли:
;
Скорость
и тогда:
;
Давление на входе в насос должно быть больше давления насыщенного пара перекачиваемой жидкости при температуре всасывания
, иначе жидкость в насосе начнет кипеть, что вызовет разрыв потока:
;
Если
, то:
:
Высота всасывания зависит от величины атмосферного давления, температуры, плотности и скорости жидкости и гидравлического сопротивления всасывающего трубопровода.
При перекачивании из открытых резервуаров высота всасывания не может быть более высоты столба жидкости, соответствующего атмосферному давлению (20 м вод.ст. на уровне моря и 9 м. на высоте 1000 м.)
Для жидкостей, температура которых близка к температуре кипения, высота всасывания может оказаться равной нулю:
;
Следовательно, при увеличении температуры всасываемой жидкости высота всасывания насоса уменьшается.
Поэтому для горячих жидкостей насос устанавливают ниже уровня приемной емкости или создают в ней давление.
При учете потерь напора кроме того, необходимо учитывать инерционные потери (в поршневых насосах) – вследствие неравномерности подачи и кавитационную поправку (для ц/б насосов) – в справочных пособиях.
Кавитация – резкое парообразование жидкости на всасывании насоса с последующей быстрой конденсацией на выхлопе. Возникают гидравлические удары, что влечет разрушение и увеличение коррозии насоса.
Практически высота всасывания уменьшается за счет подсосов воздуха и выделения газов из жидкости.
При перекачивании воды практическая высота всасывания не превышает следующие значения:
| Температура, | 10 | 20 | 30 | 40 | 50 | 60 | 65 |
| Высота всасывания, м | 6 | 5 | 4 | 3 | 2 | 1 | 0 |
Центробежные насосы
Центробежные насосы (ц/б) бывают одно- и многоступенчатыми. Всасывание и нагнетание происходит непрерывно и равномерно.

Центробежный насос
1 – всасывающий трубопровод; 2 – рабочее колесо; 3 – корпус; 4 – лопатки; 5 – нагнетательный трубопровод.
Жидкость из всасывающего трубопровода поступает вдоль оси рабочего колеса в корпус и, попадаяна лопатки, приобретает вращательное движение.
Центробежная сила отбрасывает жидкость в канал переменного сечения между корпусом и рабочим колесом, в котором скорость жидкости уменьшается до скорости в нагнетательном трубопроводе, а давление возрастает.
При этом кинетическая энергия преобразуется в энергию давления. На входе создается разряжение.
Перед пуском ц/б насос обязательно заливают жидкостью, так как иначе разряжение на входе недостаточно для подъема жидкости по всасывающему трубопроводу (из-за зазоров). На конце всасывающего трубопровода устанавливают обратный клапан.
Для создания значительных напоров (более 50-70 м.вод.ст.) применяют многоступенчатые насосы – несколько колес, расположенных последовательно на валу (не более 5). Жидкость поступает из колеса в колесо по обводному каналу.
;
Основное уравнение центробежных машин – уравнение Эйлера
Это уравнение определяет полный напор, развиваемый рабочим колесом при перекачке идеальной жидкости.

Допустим, что колесо неподвижно, а жидкость движется между лопатками с той же скоростью, что и во вращающемся колесе.
Скорость жидкости (на входе в колесо -
; на выходе из колеса -
;
) является геометрической суммой относительной
, которые направлены вдоль лопаток и окружной
, которые направлены по касательной к окружности вращения составляющей.
Составим баланс энергии для плоскости рабочего колеса
:
;
При вращении колеса жидкость на выход приобретает дополнительную энергию
, равную работе центробежной силы на пути
:
;
Центробежная сила, действующая на частицу массы
:
;
где:
- вес частицы;
- текущий радиус вращения.
Работа на пути
:
;
Поскольку окружная скорость
, то:
;
Удельная работа, отнесенная к единице веса жидкости:
;
Уравнение Бернулли запишется следующим образом:
;
Откуда:
;
По уравнению Бернулли напор жидкости на входе в колесо:
;
На выходе:
;
Теоретический напор насоса есть разность напоров на входе и на выходе из него:
;
Из параллелограммов скоростей следует:
;
;
Основное уравнение ц/б машин всех типов:
;
Обычно жидкость из всасывающего трубопровода движется по колесу в радиальном направлении:
(безударный ввод жидкости). Тогда:
;
Поскольку окружная скорость
, то напор пропорционален квадрату числа оборотов и зависит также от формы лопаток.
Действительный напор меньше теоретического:
;
где:
- гидравлический К.П.Д.
- коэффициент (0,6 – 0,8), учитывающий, что частицы в насосе не движутся по подобным траекториям.
Законы пропорциональности (при
)
Производительность и напор ц/б насоса зависят от числа оборотов колеса.
Соответствующие уравнения называются законами пропорциональности: изменение числа оборотов насоса от
до
вызывает:
;
;
;
Эти зависимости соблюдаются при изменении n не более, чем в 2 раза и справедливы при турбулентном движении по горизонтальным трубопроводам, когда
.
Характеристики центробежных насосов
Характеристики насосов – это графики зависимостей: 

Эти зависимости получают опытным путём и содержатся в каталогах на насосы.

Преобразование уравнения напора:

Из графика следует, что наиболее благоприятный режим эксплуатации насоса – max
(при данном значении n).
Пользуясь законами пропорциональности, можно пересчитать характеристику на другое число оборотов, однако это неточный метод (поскольку при изменении n изменяется КПД (
).
Универсальная характеристика насоса
Получается при различных числах оборотов:
. На график наносят линии одинакового КПД. 

Линия p-p соответствует max КПД при данном числе оборотов.
Пользуясь универсальной характеристикой, можно установить пределы работы насоса, соответствующие max КПД и выбрать наиболее благоприятные режимы работы.
Работа насосов на сеть
При выборе насоса необходимо учитывать характеристику сети (трубопроводов, аппаратов).
Характеристики сети: 


=> парабола

Точка A соответствует наибольшей производительности насоса при работе на данную сеть и называется рабочей точкой.
Саморегулирование:
а) Для I сети насос даёт меньший напор, но большую производительность;
б) Для II сети насос даёт больший напор, но меньшую производительность.
Центробежный насос обладает свойством саморегулирования, т.е. изменять свою производительность и напор в зависимости от характеристики сети.
Для получения больших производительности (Q) надо:
1) Увеличить n;
2) Заменить насос;
3) Уменьшить потери напора в сети.
Конструктивные особенности центробежных насосов
Центробежные насосы могут перекачивать сильно загрязнённые жидкости – пульпы, шламы => шламовые насосы, так как в них отсутствуют точно пригнанные детали.
Если обычные центробежные насосы имеют число лопаток 9-12, то у шламовых 6-8.
Центробежные насосы перекачивают агрессивные жидкости, так как могут быть изготовлены из кислотоупорных материалов или покрыты резиной и другими материалами.
Уплотнение вращающихся частей насоса осуществляется сальником. Это наиболее уязвимое место в насосе.

1 – грундбукса; 2 – сальниковая набивка; 3 – шпильки
Мягкая сальниковая набивка (асбестовые шнуры, пропитанные маслом с тальком или графитом и др.) поджимается грундбуксой при помощи шпилек.
Для получения высоких напоров требуется большая окружная скорость вращения рабочего колеса, вызывающая большие напряжения в материале колеса. Чтобы получить напор более 50-70 м вод. ст. насосы изготавливают многоступенчатыми – несколько колёс, расположенных последовательно на валу (но не более 5). Жидкость поступает из колеса в колесо по обводному каналу.
Центробежные насосы отличаются от других саморегулированием => самостоятельно изменяют режим работы в зависимости от сопротивления сети.
Принудительное регулирование осуществляется:
1) Изменением числа оборотов рабочего колеса; - наиболее современный
2) Установкой задвижки (вызывает перерасход энергии)
Задвижка устанавливается на нагнетательной линии. Если установить на всасывающей, то насос будет работать под увеличивающимся вакуумом, который может вызвать подсос воздуха через сальник и образование газовых пузырей в жидкости. Это приводит к кавитации – вибрации, гидравлическим микроударам, разрушающим насос.
Особенность (недостаток) работы центробежного насоса – необходимость пред пуском заливать жидкостью насос и всасывающий трубопровод. Иначе разрежение на входе недостаточно для подъёма жидкости по всасывающему трубопроводу (вращающийся в рабочем колесе воздух создаёт ничтожно малое разрежение). На конце всасывающего трубопровода устанавливают обратный клапан.
Центробежный насос целесообразно устанавливать «под залив» ниже того бака, из которого должно перекачиваться жидкость.
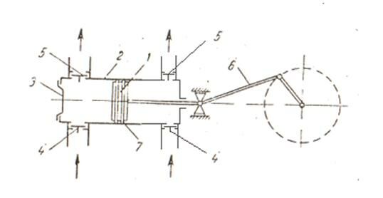
Поршневые насосы
Классификация:
I. Насос простого действия – всасывание и нагнетание жидкости происходит неравномерно: за 1 оборот кривошипа или 2 хода поршня.

Поршневой насос простого действия
1 – поршень; 2 – цилиндр; 3 – крышка цилиндра; 4 – всасывающий клапан; 5 – нагнетательный клапан; 6 – кривошипно-шатунный механизм; 7 – уплотнительные кольца
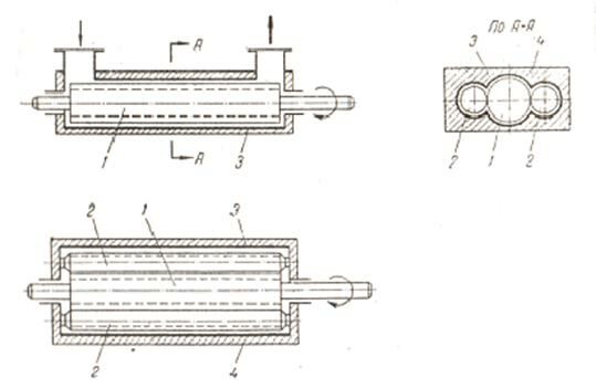
Насос двойного действия – слева от поршня происходит всасывание, справа – нагнетание. Эти насосы отличаются большей производительностью и более равномерной подачей.

Поршневой насос двойного действия
1 – поршень; 2 – цилиндр; 3 – крышка цилиндра; 4 – всасывающий клапан; 5 – нагнетательный клапан; 6 – кривошипно-шатунный механизм; 7 – уплотнительные кольца
II. По числу оборотов кривошипа (двойных ходов поршня) различают:
- Тихоходные насосы => 45-60 об/мин
- Нормальные насосы => 60-120 об/мин
- Быстроходные насосы => 120-180 об/мин
III. Различают поршневые и плунжерные насосы

Плунжерный насос двойного действия
1 – плунжер; 2 – цилиндры; 3,4 – всасывающие клапаны; 5,6 – нагнетательные клапаны.
Плунжерный насос – это металлический стакан – скалка, который не требует тщательной подгонки плунжера и цилиндра.
Существуют также триплекс-насосы, т.е. строенные. За 1 оборот коленчатого вала жидкость 3 раза всасывается и 3 раза нагнетается.
Производительность поршневых насосов
1. В насосах простого действия:
, где:
F – площадь сечения поршня объём
l – ход поршня
n – число оборотов кривошипно-шатунного механизма (число двойных ходов).
2. В насосах двойного действия:
Ход вправо: засасывается Fl; f – площадь поперечного сечения штока
нагнетается (F-l)l;
Ход влево: засасывается (F-f)l;
нагнетается Fl;
За n оборотов или двойных ходов поршня теоретическая производительность насоса двойного действия:
;
Таким образом, производительность примерно вдвое больше, чем у насоса простого действия.
Действительная подача всегда меньше, чем теоретическая из-за:
1) Запаздывания в закрывании и открывании клапанов;
2) Неплотностей в клапанах и поршне;
3) Попадания воздуха в цилиндр – уменьшается всасываемый объём жидкости.

- объёмный КПД насоса
Производительность поршневого насоса практически на зависит от напора

Отклонение от прямой происходит из-за утечек через неплотности, которые возрастают при увеличении давления.
Конструктивные особенности поршневых насосов
Поршневые кольца – из мягкого чугуна, бронзы, кожаные манжеты;
Сальник
Клапаны – тарельчатые, шаровые.
Воздушные колпаки
Возвратно-поступательное движение поршня вызывает большие инерционные усилия массы жидкости, даже при небольших числах оборотов (вследствие смены направления движения).
Для уменьшения инерционных сил и неравномерности подачи устанавливают буферы – воздушные колпаки.
а) на всасывающей линии
б) на нагнетательной линии
Верхняя часть колпака заполнена воздухом, который легко сжимается и расширяется. Объём поступающей жидкости меньше объёма воздуха.
Привод и регулирование подачи
Привод может быть: паровая машина (утилизация тепла) или электрический. Подача жидкости поршневым насосом – геометрически жёсткая, т.е. поршень должен вытолкнуть всю вытесняемую жидкость, иначе насос разорвётся. Регулирование осуществляется:
1) Изменением хода поршня:
а) отсечкой пара (раннее перекрытие);
б) изменением длины кривошипа;
2) Изменением числа оборотов:
а) подача пара
б) число оборотов электродвигателя
Специальные типы поршневых и центробежных насосов
Специальные типы насосов используются для перекачки агрессивных и загрязненных жидкостей
1. Диафрагменные (мембранные)

Эти насосы относятся в поршневым насосам простого действия и применяются для перекачивания суспензий и химически агрессивных жидкостей. Цилиндр 1 и плунжер 2 насоса отделены от перекачиваемой, жидкости эластичной перегородкой 3 — диафрагмой (мембраной) из мягкой резины или специальной стали, вследствие чего плунжер не соприкасается с перекачиваемой жидкостью и не подвергается воздействию химически активных сред или эрозии. При движении плунжера вверх диафрагма под действием разности давлений по обе ее стороны прогибается вправо, и жидкость всасывается в насос через шаровой клапан 4. При движении плунжера вниз диафрагма прогибается влево и жидкость через нагнетательный клапан 5 вытесняется в напорный трубопровод. Все части насоса, соприкасающиеся с перекачиваемой жидкостью — корпус, клапанные коробки, шаровые клапаны, изготавливают из кислотостойких материалов или защищают кислотостойкими покрытиями.
2. Бессальниковые

1 – корпус; 2 – рабочее колесо; 3 – добавочное колесо; 4 – пружина; 5 – втулка.
В насосах данного типа достигается устранение утечки перекачиваемой жидкости. На рабочем колесе укреплено добавочное колесо с радиальными лопатками, которое обеспечивает откачивание протекшей за него жидкости.
Герметические

1 – рабочее колесо; 2- ротор электродвигателя; 3 – статор электродвигателя; 4 – экран; 5 – подшипники; 6 – корпус.
Эти насосы применяют для перекачивания химически агрессивных и токсичных жидкостей. Они надёжны в эксплуатации и находят всё более широкое применение в химической промышленности.
3. Погружные

1 – рабочее колесо; 2 – вал; 3 – всасывающий патрубок; 4 – напорные трубы; 5 – подшипник.
Они являются разновидностью бессальниковых насосов. Рабочее колесо погружено в перекачиваемую жидкость. Привод насоса размещён выше уровня жидкости. Нагнетание происходит по напорной трубе.
Насосы других типов
1. Осевые (пропеллерные) насосы

Пропеллерный насос
Эти насосы применяют для перекачивания больших количеств жидкостей при небольших напорах. Пропеллерные насосы используют главным образом для создания циркуляции жидкостей в различных аппаратах, например при выпаривании.
2. Вихревые насосы


Вихревой насос
А – входное окно; В – уплотняющий участок; 1 – корпус; 2 – рабочее колесо; 3 – кольцевой канал; 4 – нагнетательный канал.
Жидкость поступает через входное окно к основаниям лопастей, отбрасывается центробежной силой в кольцевой канал, где приобретает вихревое движение. При перемещении по каналу к выходному патрубку жидкость неоднократно попадает между лопастями, где ей дополнительно сообщается механическая энергия.
3. Шестерёнчатые насосы

Шестерёнчатый насос
1 – корпус; 2 – шестерни.
Одна из шестерён (ведущая) имеет привод от электродвигателя. Когда зубья выходят из зацепления, образуется разрежение и происходит всасывание. Жидкость перемещается вдоль стенки в направлении вращения. В области, где зубья вновь входят в зацепление, жидкость вытесняется и поступает в нагнетательный трубопровод.
4. Винтовые насосы (объёмные)

Винтовой насос
1 – ведущий винт; 2 – ведомый винт; 3 – обойма; 4 – корпус.
Жидкость за 1 оборот перемещается на величину шага винта. Ведомый винт ( с другой нарезкой) играет роль уплотнителя.
5. Пластинчатые ротационные насосы

Пластинчатый ротационный насос
1 – ротор; 2 – корпус; 3 – пластины; 4 – рабочее пространство; 5 – всасывающий патрубок; 6 – нагнетательный патрубок.
В роторе имеются прорези, в которые вставляются прямоугольные пластины. При вращении они прижимаются к поверхности цилиндра, разделяя объём на камеры. Благодаря эксцентриситету сначала происходит всасывание, п затем нагнетание.
6. Струйные насосы

Струйный насос
I – рабочая жидкость; II – перекачиваемая жидкость; III – смесь; 1 – корпус насоса; 2 – диффузор
Эти насосы используют для создания напора энергию рабочей жидкости. Происходит всасывание, так как в узкой части скорость велика, а в диффузоре меньше (увеличивается потенциальная энергия давления – создаётся напор). Кроме того, подсос происходит за счёт трения струи.
Струйные насосы используют, когда можно смешивать жидкости.
, т.к. велики потери энергии на завихрение жидкостей.
7. Эрлифт (газлифт) – воздушные подъёмники.

Эрлифт
1 – труба для подачи сжатого воздуха; 2 – смеситель; 3 – подъёмная труба; 4 – отбойник; 5 –сборник.
Имеют низкий КПД, но не требуются уплотнения.
8. Монтежю

Монтежю
1 – корпус; 2-6 – краны; 7 – труба для передавливания
Периодический аппарат, используется для перекачки агрессивных, радиоактивных, загрязнённых жидкостей. КПД 10-20%.
Сравнение различных типов насосов
Выбор производится по характеристике сети:
а) Насоса – рабочая точка – производительность, напор, число оборотов
б) Двигателя – по установочной мощности и числу оборотов.
1. Наибольшее распространение получили центробежные насосы.
Достоинства:
1) Высокая производительность и равномерная подача;
2) Компактность и быстроходность (непосредственное присоединение к электродвигателю);
3) Простота устройства – применение химически стойких материалов;
4) Возможность перекачки загрязнённых и агрессивных жидкостей;
5) Возможность установки на лёгких фундаментах.
Недостатки:
1) Невозможность перекачки вязких жидкостей;
2) Относительно низкие напоры;
3) Уменьшение производительности и КПД при увеличении сопротивления сети;
4) Малая величина КПД у насосов малой и средней производительности (0,5-0,8). Т.к. высокие затраты на завихрение жидкости в самом насосе.
Применение: при высоких производительностях и для загрязнённых, агрессивных жидкостей.
2. Применение поршневых насосов:
Они используются при небольших подачах и высоких давления (50-100 атм.), а также при дозировании жидкостей и для перекачивания высоковязких огне- и взрывоопасных жидкостей.
Достоинства:
1) Высокие напоры;
2) Высокий КПД.
Недостатки:
1) Тихоходность и громоздкость (т.к. большие инерционные силы => мощный фундамент);
2) Много точно пригнанных движущихся частей, которые изнашиваются загрязнёнными и агрессивными жидкостями.
3. Пропеллерные насосы – большие подачи (до 1500 м3/мин) при небольших напорах (10-15 мин).
Достоинства:
а) Высокий КПД;
б) Быстроходность;
в) Компактность;
г) Пригодность для кристаллизующихся и загрязнённых жидкостей.
4. Винтовые насосы – используются для высоковязких жидкостей (300 м3/час, 150 атм).
Достоинства:
а) Быстроходность;
б) Компактность;
в) Бесшумность.
5. Пластинчатые насосы используются для чистых незагрязнённых жидкостей при умеренных производительностях и напорах.
6. Шестерёнчатые насосы используются для вязких незагрязнённых жидкостей при небольших подачах (5-6 м3/мин) и высоких давлениях (100-150 атм).
Достоинства:
а) Компактность;
б) Отсутствие клапанов;
в) Пригодность для вязких жидкостей.
Недостатки:
а) Большой износ;
б) Обратный ток жидкости при больших давлениях.
7. Вихревые насосы – используются для чистых маловязких жидкостей при небольших подачах (до 40 м3/мин) и невысоких напорах (до 250 м).
Достоинства:
а) Простота конструкции;
б) Компактность;
в) Высокие напоры (по сравнению с центробежными насосами).
Недостатки:
а) Низкий КПД (20-50%).
8. Струйные насосы, газлифты, монтежю
Достоинства:
а) Агрессивные среды;
Вам также может быть полезна лекция "Необходимость стратегического планирования".
б) Отсутствие движущихся частей.
Недостатки:
а) Низкий КПД;
б) Смешение рабочей и перекачиваемой жидкости.
























