Виды и комплектность технологических документов
1.1.1 Виды и комплектность технологических документов.
К графическим документам относятся карты эскизов, а все остальные документы - к текстовым.
1.1.1.1 Виды документов
Титульный лист (ТЛ) ГОСТ 3.1105-84 - первый лист комплекта документов.
Карта эскизов (КЭ) ГОСТ 3.1105-84- графический документ, предназначен для пояснения технологического процесса.
Технологическая инструкция (ТИ) ГОСТ 3.1105-84-предназначена для описания общих положений технологического процесса.
Ведомость технологических документов (ВТД) ГОСТ 3.1122-84 предназначена для указания полного состава документов в комплекте.
Маршрутная карта (МК) ГОСТ 3.1118-82 - предназначена для маршрутного описания технологического процесса.
Операционная карта (МК/ОК) ГОСТ 3.1118-82 - предназначена для операционного описания технологического процесса.
МК и МК/ОК являются обязательными документами. Любой комплект технологических документов (ТД) должен содержать МК или МК/ОК или оба вида документов. При отсутствии в комплекте документов маршрутной карты (или МК/ОК - ее заменяющей) данная документация не может иметь наименование «Технологический процесс».
Технологическая документация считается выполненной правильно, если она ПОЛНОСТЬЮ и ОДНОЗНАЧНО определяет технологический процесс.
1.1.1.2 Комплектность документов
Рекомендуемые материалы
Комплектность документов определяет предприятие-разработчик. Как правило, комплект документов на ремонт вагона или его части состоит из:
ТЛ - титульного листа;
ТИ - технологической инструкции;
ВТД - ведомости технологических документов;
МК - маршрутной карты;
МК/ОК - маршрутно-операционной (операционной) карты;
КЭ - карты эскизов;
Обязательны - ТЛ и МК
1.1.2 Правила разработки технологических процессов.
Технологический процесс (ТП) разрабатывается на основе типового. При отсутствии такового за основу принимаются технология, действующая на предприятиях.
1.1.2.1 Исходная информация:
Базовая - включает данные, содержащиеся в конструкторской документации на изделия, а также программу выпуска этого изделия.
Руководящая - включает данные, содержащиеся в документах:
- правила ремонта и инструкции;
- стандарты на оборудование и оснастку;
- технологические документы на типовые, групповые и единичные ТП.
Справочная - включает данные, содержащиеся в документах:
- технологическая документация основного производства;
- описание прогрессивных методов ремонта и средств технологического оснащения;
- планировка производственных участков.
1.1.2.2 Порядок разработки ТП:
- сбор и анализ исходных данных;
- выбор типового ТП, если таковой отсутствует, то поиск аналогичного;
- составление технологического маршрута ремонтируемого изделия;
- разработка технологических операций;
- нормирование ТП;
- определение требований техники безопасности.
1.1.3 Система обозначения и кодирования ТД.
Структура обозначения технологического документа ГОСТ 3.1201-85

После кода организации-разработчика и кода характеристики документа проставляют точки .
Код организации-разработчика присваивают по классификатору предприятий. Если код не присвоен, проставляют «0000» .
Код характеристики документа имеет следующую структуру:

Виды технологических процессов по методу выполнения:
00 - без указания;
01 - общего назначения;
02 - ремонт (восстановление);
03 - технологический контроль;
04 - механическая обработка;
73 - нанесение лакокрасочного покрытия (окраска);
88 - слесарные, слесарно-сборочные работы;
90 - сварка.
Виды технологических процессов по организации:
0 - без указания;
1 - единичный процесс (операция);
2 - типовой процесс (операция);
Виды документации:
01 - комплект технологических документов;
10 - маршрутная карта;
20 - карта эскизов;
25 - технологическая инструкция;
40 - ведомость документов;
60 - операционная карта.
Порядковый регистрационный номер присваивает предприятие-разработчик .
Примеры обозначения документов :
маршрутная карта ТП слесарных работ - 0000.10188.00001 ;
маршрутная карта типового ТП ремонта - 0000.10202.00001 ;
маршрутная карта ТП контроля - 0000.100003.00001 ;
карта эскизов ТП сварки - 0000.20090.00001 ;
операционная карта окраски - 0000.60073.00001 ;
технологическая инструкция - 0000.250000.00001 ;
комплект технологических документов - 0000.010000.00001 ;
ведомость документов - 0000.40000.00001.
1.1.3.1 Правила оформления титульного листа .
Титульный лист ( ТЛ ) применяют при оформлении :
- комплекта документов на ТП ;
- отдельных документов, если они имеют самостоятельное значение .
ТЛ - является первым листом комплекта документов .
Информация размещается на титульном листе в виде семи полей .
1 – Министерство и предприятие разработчик
2 – Должность и подпись заказчика (если таковой есть)
3 - Должность и подпись лица, утвердившего документ
4 – Наименование комплекта документов
5 - Должности и подписи лиц, согласовавших документ
6 - Должности и подписи разработчиков
7 – Дата и № акта о внедрении комплекта документов в производство
![]() |
Рисунок 2.3
1.1.3.2 Правила оформления технологической инструкции (ТИ).
Технологическая инструкция не является обязательным документом. Она содержит информацию, дополняющую основные документы (МК).
В ТИ могут содержаться описания:
- методов ремонта;
- условий проведения испытаний;
- требований к собранному изделию;
- правил транспортирования;
- правил эксплуатации средств технологического оснащения;
- требования безопасности; и т.д.
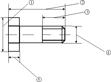
1.1.3.3 Правила оформления карты эскизов (КЭ ) .
КЭ содержат графическую информацию:
- изображения изделий, сборочных единиц и деталей;
- основные размеры, их предельные отклонения;
- обозначения шероховатости;
- дефекты;
- поясняющие надписи и т.д.
Допускается вместо КЭ применять соответствующие конструкторские документы.
Все размеры нумеруются арабскими цифрами в кружочках . Нумерация идет по часовой стрелке .

Рисунок 2.4
Виды дефектов нумеруют арабскими цифрами. Номер дефекта проставляют в окружности с полочкой-выноской и располагают по часовой стрелке . На свободной части помечают пояснения дефектов .

1.1.3.4 Правила оформления ведомости технологических документов (ВТД)
ВТД - содержит информацию обо всех документах , входящих в комплект .
По каждому документу приводится следующая информация :
- обозначение документа(ХХХХ, ХХХХХ, ХХХХХ . (0000 . 10003 .00001);
- условное обозначение документа (МК, МК/ОК , КЭ );
- номер листа по порядку в комплекте ;
- количество листов в документе ;
- краткое содержание технологического процесса (в примечаниях).
1.1.3.5 Правила оформления маршрутных карт (МК).
МК является основным обязательным документом, в котором последовательно описывается весь технологический процесс. Разработчик выбирает (по ГОСТ III8-82) форму МК - их несколько. Перспективными являются формы с вертикальным расположением поля подшивки - так как эффективнее используются при автоматизированном проектировании на ЭВМ.
1.1.4 Технологические документы, разрабатываемые на стадии проектирования предприятия
На стадии проектирования предприятия, в случае отсутствия рабочей технологической документации, допускается оформлять предлагаемую технологию в виде принципиальных схем технологических процессов. Кроме того, в технологической инструкции приводится, как правило, нижеследующая информация.
- Данные о производственной программе.
- Краткая характеристика и обоснование решений по технологии производства.
- Данные о трудоемкости (станкоемкости) работ, механизации и автоматизации технологических процессов.
- Состав и обоснование применяемого оборудования, в том числе импортного.
- Решения по применению малоотходных и безотходных технологических процессов и производств, повторному использованию тепла.
- Число рабочих мест и их оснащенность.
- Характеристика межцеховых и цеховых коммуникаций.
- Предложения по организации контроля качества продукции.
Вместе с этой лекцией читают "3.1 Начало разложения феодально-крепостнического строя".
- Решения по организации ремонтного хозяйства.
- Данные о количестве и составе вредных выбросов в атмосферу и сбросов в водные источники (по отдельным цехам, производствам, сооружениям).
- Технические решения по предотвращению (сокращению) выбросов и сбросов вредных веществ в окружающую среду; оценка возможности возникновения аварийных ситуаций и решения по их предотвращению.
- Вид, состав и объем отходов производства, подлежащих утилизации и захоронению.
- Топливно-энергетический и материальный балансы технологических процессов.
- Потребность в основных видах ресурсов для технологических нужд.

























