Управление памятью в ОС
Лекция 8. Управление памятью в ОС
4.1. Понятие об организации и управлении физической памятью в операционных системах
4.2. Методы связного распределения основной памяти
4.2.1. Связное распределение памяти для одного пользователя
4.2.2. Связное распределение памяти при мультипрограммной обработке
4.2.3. Стратегии размещения информации в памяти
4.3. Организация виртуальной памяти
4.3.1. Основные концепции виртуальной памяти
Рекомендуемые материалы
4.3.2. Страничная организация виртуальной памяти
4.3.3. Сегментная организация виртуальной памяти
4.3.4. Странично-сегментная организация виртуальной памяти
4.4. Управление виртуальной памятью
4.4.1. Стратегии управления виртуальной памятью
4.4.2. Стратегии вталкивания (подкачки)
4.4.3. Стратегии размещения
4.4.4. Стратегии выталкивания
4.1. Понятие об организации и управлении физической памятью в операционных системах
Организация и управление основной (первичной, физической, реальной) памятью вычислительной машины - один из важнейших факторов, определяющих построение операционных систем. В англоязычной технической литературе память обозначается синонимами memory и storage.
В операционных системах различают два вида памяти: основная (первичная) и внешняя (вторичная).
Основная память (main storage) - оперативная память центрального процессора или ее часть, представляющее собой единое пространство памяти.
Внешняя память (external storage) - память, данные в которой доступны центральному процессору посредством операций ввода-вывода.
Для непосредственного выполнения программ или обращения к данным необходимо, чтобы они размещались в основной памяти. Внешняя память имеет, как правило, гораздо большую емкость, чем основная, стоит дешевле и позволяет хранить данные и программы, которые должны быть наготове для обработки.
Кроме основной и внешней памяти в современных ЭВМ существует дополнительная быстродействующая память, называемая кэш-памятью.
Все три перечисленных вида памяти образуют иерархию памяти вычислительной машины (см. рис.4.1).

Операционным системам с несколькими уровнями иерархии памяти свойственна высокая интенсивность челночных обменов программами и данными между физическими устройствами памяти различных уровней. Такие обмены отнимают системные ресурсы (например, время центрального процессора), которые можно было бы использовать более продуктивно.
Основная память представляет собой один из самых дорогостоящих ресурсов. Главной задачей при разработке ОС считается оптимальное использование основной памяти на основе рациональной организации и управления ею.
Под организацией памяти понимается то, каким образом представляется и как используется основная память.
В операционных системах применяются следующие виды представления основной памяти:
- фиксированными блоками равного размера;
- фиксированными разделами неодинакового размера;
- динамическими разделами, размеры которых изменяются в ходе работы вычислительной системы.
Использование основной памяти может осуществляться следующими способами:
- размещение в памяти единовременно только одной программы пользователей;
- размещение в памяти одновременно нескольких программ пользователей;
- размещение программ пользователей в конкретном заранее заданном разделе основной памяти;
- размещение каждой программы пользователя в одном непрерывном (односвязном) пространстве основной памяти;
- размещение программы пользователя в несмежных областях оперативной памяти (при этом ОС осуществляет разбиение размещаемых там программ на отдельные блоки и обеспечивает связь этих блоков между собой).
В операционных системах может применяться любая комбинация перечисленных видов представления и способов использования основной памяти ЭВМ.
Независимо от того, какая схема организации памяти принята для конкретной ОС, необходимо решить, какие стратегии следует применять для достижения оптимальных характеристик.
Стратегии управления памятью определяют, как будет работать память с конкретной схемой организации при различных подходах к решению следующих вопросов:
· когда следует поместить новую программу в память;
· в какое место основной памяти будет размещаться очередная программа;
· как разместить очередную программу в памяти (с минимизацией потерь памяти или с максимизацией скорости размещения);
· какую из находящихся в памяти программ следует вывести из памяти, если необходимо обязательно разместить новую программу, а память уже заполнена.
В существующих ОС реализованы стратегии управления, по-разному отвечающие на перечисленные выше вопросы, что в немалой степени обусловлено имеющимися в распоряжении разработчиков аппаратурными и программными средствами.
Стратегии управления памятью делятся на следующие категории:
· стратегии выборки;
· стратегии размещения;
· стратегии замещения.
В свою очередь стратегии выборки разделяют на две подкатегории:
· стратегии выборки по запросу (по требованию);
· стратегии упреждающей выборки.
Стратегии выборки ставят своей целью определить, когда следует “втолкнуть” очередную программу (или блок программы) или данные в основную память.
Стратегии размещения ставят своей целью определить, в какое место основной памяти следует размещать поступающую программу. Наиболее распространенными являются стратегии размещения, реализующие принципы занятия “первого подходящего”, “наиболее подходящего” и “наименее подходящего” по размерам свободного участка памяти.
Стратегии замещения ставят своей целью определить, какой блок программы или данных следует вывести (“вытолкнуть”) из основной памяти, чтобы освободить место для размещения вновь поступающих программ или данных.
При реализации стратегий размещения операционные системы часто учитывают требования связного распределения памяти для программ и данных.
Связное распределение памяти - такое распределение основной памяти ЭВМ, при котором каждая программа занимает один непрерывный (связный) блок ячеек памяти.
Несвязное распределение памяти - такое распределение основной памяти ЭВМ, при котором программа пользователя разбивается на ряд блоков (сегментов, страниц), которые могут размещаться в основной памяти в участках, не обязательно соседствующих друг с другом (в несмежных участках). В этом случае обеспечивается более эффективное использование пространства основной памяти.
Эффективность той или иной стратегии размещения можно оценить с помощью коэффициента использования памяти h
(4.1)
где Vп - объем памяти, занимаемый программами пользователя; Vоп - полный объем основной памяти; Vос - объем памяти, занимаемый операционной системой; Vо - объем памяти, доступный для распределения.
4.2. Методы связного распределения основной памяти
4.2.1. Связное распределение памяти для одного пользователя
Связное распределение памяти для одного пользователя, называемое также одиночным непрерывным распределением, применяется в ЭВМ, работающих в пакетном однопрограммном режиме под управлением простейшей ОС.
Вся основная часть ЭВМ, не занятая программами операционной системы, выделяется программе единственного на данном отрезке времени пользователя. Размер программы в этом случае ограничивается размером доступной основной памяти, однако существует возможность выполнения программ, размер которых превышает размер основной памяти, используя механизм оверлеев.
Организация памяти при связном распределении для одного пользователя показана на рис. 4.2.

Коэффициент использования памяти для рассматриваемого случая вычисляется по формуле
h с1=Vп/Vo, (4.2)
где Vп - размер программы пользователя; Vо - объем доступной для распределения основной памяти ЭВМ.
Функциями ОС в данном случае являются:
· выделение программе необходимого пространства памяти;
· защита памяти;
· освобождение памяти.
Функция выделения памяти сводится к предоставлению программе всей доступной памяти ЭВМ.
Защита памяти в однопрограммных системах заключается в установке защиты областей памяти, занятых операционной системой, от воздействия программ пользователя. Эта функция реализуется при помощи одного регистра границы, встроенного в центральный процессор. Регистр границы содержит либо старший адрес команды, относящийся к операционной системе, либо младший адрес доступной программе основной памяти (адрес начала программы). Если программа пользователя пытается войти в область операционной системы, то вырабатывается прерывание по защите памяти, и программа аварийно завершается.
4.2.2. Связное распределение памяти при мультипрограммной обработке
При мультипрограммной обработке в памяти компьютера размещается сразу несколько заданий. Распределение памяти между заданиями в этом случае может быть выполнено следующими способами:
· распределение фиксированными разделами;
· распределение переменными разделами;
· распределение со свопингом.
Распределение фиксированными разделами имеет две модификации:
а) с загрузкой программ в абсолютных адресах;
б) с загрузкой перемещаемых модулей.
При загрузке перемещаемых модулей вся оперативная память машины разбивается на некоторое количество разделов фиксированного размера. Размеры разделов могут не совпадать. В каждом разделе может быть размещено только одно задание.
В случае загрузки программ в абсолютных адресах при их подготовке указывается начальный адрес загрузки программ, совпадающий с начальным адресом раздела, в котором эта программа будет выполняться.
В случае загрузки перемещаемых модулей раздел, в котором будет размещено задание, либо автоматически определяется операционной системой в соответствии с реализованной в нем стратегией выбора раздела (“первый подходящий”, “самый подходящий”, “самый неподходящий”), либо указывается операционной системе специальными командами языка управления заданиями.
В обоих случаях задание монопольно владеет всем объемом оперативной памяти раздела, в который оно было помещено операционной системой.
Коэффициенты использования памяти при распределении с фиксированными разделами вычисляется по формулам:
(4.3)
(4.4)
где h СMi - коэффициент использования памяти i-го раздела; VОi - размер i-го раздела; VПi - длина программы, помещенной в i-ый раздел; NФ - количество разделов; VО - общий объем оперативной памяти, доступной для распределения.
Основным недостатком распределения памяти фиксированными разделами является неэффективное использование ресурсов вычислительной системы из-за возможного появления длинных очередей заданий, ожидающих освобождения конкретного раздела в то время, как остальные разделы пусты. Подобная ситуация изображена на рис. 4.3. Задания, ожидающие освобождения раздела С, могли бы разместиться и в разделах А или В, однако операционная система не позволяет им это сделать, т.к. в управляющей информации указан конкретный раздел, в котором эти задания должны выполняться - раздел С.
Способ распределения памяти фиксированными разделами используется в операционных системах ОС ЕС и IBM/360 в режиме MFT, в котором загрузка программ выполняется перемещаемыми модулями.
Защита памяти при распределении фиксированными разделами выполняется аналогично защите памяти для одного пользователя, только теперь необходимо наличие нескольких граничных регистров - по два регистра на каждый раздел. В одном из граничных регистров указывается нижняя граница раздела, а во втором - его верхняя граница. Если программа пользователя пытается обратиться к данным, расположенным вне области адресов данного раздела, то вырабатывается прерывание по защите памяти.

В мультипрограммных системах с фиксированными разделами наблюдается явление фрагментации памяти.
Фрагментация памяти - появление в памяти вычислительной машины чередования занятых и незанятых (свободных) участков оперативной памяти.
При распределении фиксированными разделами появление фрагментации обусловлено тем, что либо задания пользователей не полностью занимают выделенные им разделы, либо часть разделов остается незанятой.
На рис.4.4. показано проявление фрагментации оперативной памяти.

Уровень фрагментации можно оценить коэффициентом фрагментации Kф, вычисляемый по формуле
(4.5)
где Vдi - размер i-ой “дыры”, т.е. i-го участка свободной памяти, ограниченного программами пользователей; NД - количество “дыр”, т.е. участков свободной памяти, лежащих между программами пользователей; Vo - объем оперативной памяти, доступной для распределения.
Фрагментация памяти представляет собой нарушение односвязности пространства свободной памяти ЭВМ, что приводит к снижению эффективности использования памяти как одного из основных ресурсов вычислительной машины.
Распределение памяти переменными разделами предназначено для повышения эффективности использования оперативной памяти ЭВМ. Суть способа распределения памяти переменными разделами состоит в том, что заданиям, когда они поступают, выделяется такой объем памяти, который им требуется, т.е. размер раздела оперативной памяти, выделяемой каждому заданию, в точности соответствует размеру этого задания. Поэтому “перерасхода” памяти, как это происходит при распределении фиксированными разделами, в данном способе не наблюдается.
Имеется две модификации способа распределения переменными разделами:
· распределение переменными неперемещаемыми разделами;
· распределение переменными перемещаемыми разделами.
При распределении памяти переменными неперемещаемыми разделами (динамическими разделами) операционная система создает две таблицы: таблицу учета распределенных областей памяти и таблицу учета свободных областей памяти (“дыр”).
При поступлении очередного задания память для него отводится на этапе долгосрочного планирования, причем выделение памяти осуществляется по информации из таблицы учета “дыр” в соответствии с принятой в ОС стратегией размещения (“первый подходящий”, “самый подходящий”. “самый неподходящий”). При успешном распределении ОС корректирует обе таблицы - распределенных и свободных областей.
После окончания какого-либо задания занимаемый им участок памяти освобождается, и операционная система корректирует таблицу распределенных областей, вычеркивая из нее информацию о закончившемся задании, а также заносит в таблицу свободных областей данные о вновь появившейся “дыре”.
Рассмотрим следующий пример. Пусть начальное распределение памяти переменными разделами выполнено так, как показано в табл.4.1, 4.2 и на рис. 4.5а. После размещения заданий А, В, С и Д осталась свободная область такого размера, что ни одна из программ, продолжающих стоять в очереди, в эту область не помещается.
Таблица 4.1. Таблица распределенных областей
| Номер раздела, ключ защиты | Имя раздела | Размер | Адрес | Состояние |
| 1 2 3 4 5 | А В С Д Е | 100К 200К 100К 400К 100К | 50К 150К 350К 450К 850К | Распределен Распределен Распределен Распределен Распределен |
Таблица 4.2. Таблица свободных областей
| Номер свободной области | Размер | Адрес | Состояние |
| 1 | 100К | 950К | Доступна |
Предположим, что через некоторое время закончились задания А и С (см. рис.4.5б). Таблицы областей приобретают вид, показанный в табл. 4.3 и 4.4.
Таблица 4.3. Таблица распределенных областей: закончилось задание А
| Номер раздела, ключ защиты | Имя раздела | Размер | Адрес | Состояние |
| 1 2 3 4 5 | - В - Д Е | - 200К - 400К 100К | - 150К - 450К 850К | Пусто Распределен Пусто Распределен Распределен |
Таблица 4.4. Таблица свободных областей: закончилось задание А
| Номер свободной области | Размер | Адрес | Состояние |
| 1 2 3 | 100К 100К 100К | 100К 350К 950К | Доступна Доступна Доступна |
![]() |
Можно видеть, что несмотря на наличие 274К свободной памяти, достаточной для размещения задания Е, стоящего первым в очереди, ОС не имеет возможности это сделать, т.к. свободная память разбита на два фрагмента по 100К каждый, в которых разместить программы, стоящие в очереди, невозможно. Этот пример иллюстрирует главный недостаток способа распределения переменными неперемещаемыми разделами - склонность к фрагментации основной памяти, что снижает эффективность работы вычислительной системы.
При распределении памяти переменными перемещаемыми разделами операционная система осуществляет действия, называемые уплотнением памяти, состоящими в перемещении всех занятых участков к одному или другому краю основной памяти. Благодаря этому вместо большого количества небольших “дыр”, образующихся при использовании распределения переменными неперемещаемыми разделами, формируется единый (связный) участок свободной памяти. На рис.4.5в показан результат уплотнения, когда находящиеся в основной памяти программы В, Д и Е перемещены на свободные участки после окончания работы программ А и С. Свободная память теперь представляет собой непрерывную область размером 274К, в которую ОС может поместить стоящее в очереди задание F. Этот процесс называют также дефрагментацией памяти.
Дефрагментация памяти, применяемая при распределении перемещаемыми разделами, имеет свои недостатки:
- требуются дополнительные затраты времени;
- во время уплотнения памяти система должна прекращать (приостанавливать) все другие работы, что зачастую может оказаться неприемлемым;
- необходимость перемещения заданий в памяти требует хранения значительного объема информации, связанной с размещением программ в памяти, что увеличивает требования к памяти со стороны ОС;
- при интенсивном потоке коротких программ может возникнуть необходимость частой дефрагментации памяти, так что затачиваемые на эти цели системные ресурсы могут оказаться неоправданными получаемой выгодой.
Распределение памяти со свопингом (от англ. swapping - подкачка) характеризуется тем, что в отличие от рассмотренных ранее способов распределения программы пользователей не остаются в основной памяти до момента их завершения. В простейшей системе со свопингом в каждый момент времени только одно задание пользователя находится в основной памяти и занимает ее до тех пор, пока оно может выполняться, а затем освобождает как память, так и центральный процессор для следующего задания. Таким образом, вся память целиком на короткий период выделяется одному заданию, затем в некоторый момент времени это задание выводится (выталкивается, т.е. осуществляется “откачка”), а очередное задание вводится (вталкивается, т.е. осуществляется “подкачка”). В обычном случае каждое задание, еще до своего завершения, будет много раз перекачиваться из внешней памяти в основную и обратно.
Для обеспечения свопинга во внешней памяти ОС создает один или несколько файлов подкачки, где хранятся образы оперативной памяти находящихся в работе заданий пользователей. Способ распределения памяти со свопингом применяется в простейших ОС, работающих в режиме разделения времени.
4.2.3. Стратегии размещения информации в памяти
Стратегии размещения информации в памяти предназначены для того, чтобы определить, в какое место основной памяти следует помещать поступающие программы и данные при распределении памяти неперемещаемыми разделами. Наиболее часто применяются следующие стратегии:
- размещение с выбором первого подходящего (стратегия “первый подходящий”):
- размещение с выбором наиболее подходящего (стратегия “самый подходящий”);
- алгоритм с выбором наименее подходящего (стратегия “самый неподходящий”).
Стратегия “первый подходящий” состоит в выполнении следующих шагов:
- упорядочить таблицу свободных областей в порядке возрастания адресов;
- поместить информацию в первый встретившийся участок основной памяти размером не менее требуемого.
Стратегия “самый подходящий” реализует следующую последовательность действий:
- упорядочить таблицу свободных областей в порядке возрастания размеров свободных областей:
- поместить информацию в первый встретившийся участок свободной памяти размером не менее требуемого.
Стратегия “самый неподходящий” выполняет следующие действия:
- упорядочить таблицу свободных областей в порядке убывания размеров областей;
- поместить информацию в первый встретившийся участок свободной памяти размером не менее требуемого.
Строгих доказательств преимущества той или иной стратегии перед остальными не существует, так что их применение в операционных системах основано на интуитивных аргументах разработчиков ОС.
4.3. Организация виртуальной памяти
4.3.1. Основные концепции виртуальной памяти
Термин виртуальная память обычно ассоциируется с возможностью адресовать пространство памяти, гораздо большее, чем емкость первичной (реальной, физической) памяти конкретной вычислительной машины. Концепция виртуальной памяти впервые была реализована в машине, созданной в 1960 г. в Манчестерском университете (Англия). Однако широкое распространение системы виртуальной памяти получили лишь в ЭВМ четвертого и последующих поколений.
Существует два наиболее известных способа реализации виртуальной памяти - страничная и сегментная. Применяется также их комбинация - странично-сегментная организация виртуальной памяти.
Все системы виртуальной памяти характеризуются тем, что адреса, формируемые выполняемыми программами, не обязательно совпадают с адресами первичной памяти. Виртуальные адреса, как правило, представляют гораздо большее множество адресов, чем имеется в первичной памяти.
Суть концепции виртуальной памяти заключается в том, что адреса, к которым обращается выполняющийся процесс, отделяются от адресов, реально существующих в первичной памяти.
Адреса, на которые делает ссылки выполняющийся процесс, называются виртуальными адресами.
Адреса, которые реально существуют в первичной памяти, называются реальными (физическими) адресами.
Диапазон виртуальных адресов, к которым может обращаться выполняющийся процесс, называется пространством виртуальных адресов V этого процесса.
Диапазон реальных адресов, существующих в конкретной вычислительной машине, называется пространством реальных адресов R этой ЭВМ.
Несмотря на то, что процессы обращаются только к виртуальным адресам, в действительности они должны работать с реальной памятью. Для установления соответствия между виртуальными и реальными адресами разработаны механизмы динамического преобразования адресов ДПА (или ДАТ - от англ.Dynamics Adress Transformation), обеспечивающие преобразование виртуальных адресов в реальные во время выполнения процесса. Все подобные системы обладают общим свойством (см.рис.4.6) - смежные адреса виртуального адресного пространства процесса не обязательно будут смежными в реальной памяти.
Это свойство называют “искусственной смежностью”. Тем самым пользователь освобождается от необходимости рассматривать физическую память с ее уникальными характеристиками.
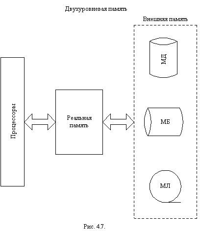
Виртуальная память строится, как правило, по двухуровневой схеме (см.рис.4.7).
Первый уровень - это реальная память, в которой находятся выполняемые процессы и в которой должны размещаться данные, к которым обращаются эти процессы.
Второй уровень - это внешняя память большой емкости, например, накопители на магнитных дисках, способные хранить программы и данные, которые не могут все сразу уместиться в реальной памяти из-за ограниченности ее объема. Память второго уровня называют вторичной или внешней.


В мультипрограммных режимах реальная память разделяется между многими процессами. Поскольку каждый процесс может иметь гораздо большее пространство виртуальных адресов, чем реальная память, то в текущий момент времени в реальной памяти имеется возможность держать лишь небольшую часть программных кодов и данных каждого процесса, причем даже эти небольшие части кодов и данных не обязательно будут размещаться сплошным массивом реальной памяти (свойство “искусственной смежности”).
Механизм динамического преобразования адресов ведет учет того, какие ячейки виртуальной памяти в данный момент находятся в реальной памяти и где именно они размещаются. Это осуществляется с помощью таблиц отображения, ведущихся механизмом ДПА.
Информация, перемещаемая из виртуальной памяти в реальную, механизмом ДПА группируется в блоки, и система следит за тем, в каких местах реальной памяти размещаются различные блоки виртуальной памяти. Размер блока влияет на то, какую долю реальной памяти ДПА будет использовать непроизводительно, для своих целей.
Если блоки имеют одинаковый размер, то они называются страницами, а соответствующая организация виртуальной памяти называется страничной. Если блоки могут быть различных размеров, то они называются сегментами, а соответствующая организация виртуальной памяти называется сегментной. В некоторых системах оба подхода комбинируются, т.е. сегменты реализуются как объекты переменных размеров, формируемые из страниц фиксированного размера. Такая организация виртуальной памяти называется либо сегментно-страничной, либо странично-сегментной.
Адреса в системе поблочного отображения являются двухкомпонентными (двумерными). Чтобы обратиться к конкретному элементу данных, программа указывает блок, в котором расположен этот элемент, и смещение элемента относительно начала блока (см.рис.4.8). Виртуальный адрес n указывает при помощи упорядоченной пары (b, d), где b- номер блока, в котором размещается соответствующий элемент данных, а d - смещение относительно начального адреса этого блока.

Преобразование адреса виртуальной памяти n =(b, d) в адрес реальной памяти r осуществляется следующим образом (см.рис.4.9). Каждый процесс имеет собственную таблицу отображения блоков, которую операционная система ведет в реальной памяти. Реальный адрес a этой таблицы загружается в специальный регистр центрального процессора, называемый регистром начального адреса таблицы отображения блоков процесса.

Таблицы отображения блоков содержат по одной строке для каждого блока процесса, причем эти блоки идут последовательно: сначала блок 0, затем блок 1 и т.д. Номер блока b суммируется с начальным адресом а таблицы, образуя реальный адрес строки таблицы для блока b. Найденная строка содержит реальный адрес b начала блока b в реальной памяти. К этому начальному адресу b прибавляется смещение d, так что образуется искомый реальный адрес r=b’+d.
Все методы поблочного отображения, применяемые в системах с сегментной, страничной и комбинированной странично-сегментной организациями, подобны схеме отображения, показанной на рис. 4.9, называемой схемой прямого отображения.
4.3.2. Страничная организация виртуальной памяти
Виртуальный адрес при чисто страничной организации памяти _ это упорядоченная пара (p, d), где p - номер страницы в виртуальной памяти, а d - смещение в рамках страницы p. Процесс может выполняться, если его текущая страница находится в первичной памяти. Страницы переписываются из внешней памяти в первичную и размещаются в ней в блоках, называемых страничными кадрами и имеющих точно такой же размер, как у поступающих страниц. Страничные кадры начинаются в реальной памяти с адресов, кратных фиксированному размеру страниц. Поступающая страница может быть помещена в любой свободный страничный кадр.
Для обеспечения работы механизма отображения страниц формируется таблица отображения страниц, каждая строка которой содержит информацию об отображаемой странице виртуальной памяти:
r - признак наличия страницы в первичной памяти (r=0 - страницы в первичной памяти нет; 1 - страница находится в первичной памяти):
S - адрес страницы во внешней памяти (при r=0):
p’ - номер страничного кадра в первичной памяти, где размещена виртуальная страница с номером p.
4.3.3. Сегментная организация виртуальной памяти
Виртуальный адрес при сегментной организации виртуальной памяти - это упорядоченная пара n = ( s, d) , где s - номер сегмента виртуальной памяти, а d - смещение в рамках этого сегмента. Процесс может выполняться только в том случае, если его текущий сегмент находится в первичной памяти, Сегменты передаются из внешней памяти в первичную целиком. Все ячейки, относящиеся к сегменту, занимают смежные адреса первичной памяти. Для размещения поступающих из внешней памяти сегментов в свободные участки первичной памяти применяются те же стратегии размещения, как и при распределении переменными неперемещаемыми разделами - “первый подходящий”, “самый подходящий”, “самый неподходящий” (см.п.4.2.3). Динамическое преобразование виртуальных адресов в реальные адреса осуществляется в соответствии со схемой прямого отображения, приведенной на рис. 4.9.
4.3.4. Странично-сегментная организация виртуальной памяти
Системы со странично-сегментной организацией обладают достоинствами обоих способов реализации виртуальной памяти. Сегменты обычно содержат целое число страниц, причем не обязательно, чтобы все страницы сегмента находились в первичной памяти одновременно, а смежные страницы виртуальной памяти не обязательно должны оказаться смежными в первичной памяти. В системе со странично-сегментной организацией применяется трехкомпонентная (трехмерная) адресация. Виртуальный адрес n здесь определяется как упорядоченная тройка n =(s, p, d), где s - номер сегмента, p - номер страницы, а d - смещение в рамках страницы, где находится нужный элемент.
Операционная система для каждого процесса формирует, во-первых, одну таблицу сегментов процесса, и, во-вторых, таблицы страниц сегментов (по одной на каждый сегмент процесса).
Таблица сегментов процесса содержит в своих строках информацию о количестве страниц в сегменте и о начальных адресах s’ размещения таблиц страниц сегментов в первичной памяти ЭВМ.
Каждая страница таблиц сегмента содержит в своих строках информацию о начальном адресе p’ размещения в первичной памяти страничного кадра для данной страницы виртуальной памяти.
Динамическое преобразование виртуальных адресов в системах со странично-сегментной организацией отличается от преобразования по схеме наличием еще одного уровня вычисления адреса, как это показано на схеме рис.4.10, и появлением таблиц страниц для каждого сегмента процесса.
4.4. Управление виртуальной памятью
4.4.1. Стратегии управления виртуальной памятью
Стратегии управления виртуальной памятью, так же как и стратегии управления физической памятью, разделяются на три категории: стратегии вталкивания, стратегии размещения и стратегии выталкивания.
Целью стратегий вталкивания является определить, в какой момент следует переписать страницу или сегмент из вторичной памяти в первичную.
Целью стратегий размещения является определить, в какое место первичной памяти помещать поступающую страницу или сегмент.
Целью стратегий выталкивания является решить, какую страницу или сегмент следует удалить из первичной памяти, чтобы освободить место для помещения поступающей страницы или сегмента, если первичная память полностью занята.
Большинство стратегий управления виртуальной памятью базируется на концепции локальности, суть которой заключается в том, что распределение запросов процессов на обращение к памяти имеет, как правило, неравномерный характер с высокой степенью локальной концентрации.
Свойство локальности проявляется как во времени, так и в пространстве.
Локальность во времени означает, что к ячейкам памяти, к которым недавно производилось обращение, с большой вероятностью будет обращение в ближайшем будущем.

Локальность в пространстве означает, что обращения к памяти, как правило, концентрируются так, что в случае обращения к некоторой ячейке памяти с большой вероятностью можно ожидать обращение к близлежащим ячейкам.
Свойство локальности наблюдается не только в прикладных программах, но и в работе программ операционной системы. Свойство это скорее эмпирическое (наблюдаемое на практике), чем теоретически обоснованное. Локальность никак нельзя гарантировать, однако ее вероятность достаточно велика. Самым важным следствием локализации является то, что программа может эффективно работать, если в первичной памяти находится подмножество, включающее наиболее “популярные” ее страницы или сегменты.
Для оценивания эффективности стратегий управления памятью в операционных системах применяют показатель “пространство-время”, вычисляемый по формуле
S = VЧ T, (4.6)
где S - показатель “пространство-время”; V - объем первичной памяти, занимаемый процессом; T - длительность ожидания процессом подкачки необходимой страницы или сегмента.
Уменьшение значения показателя S за счет снижения периодов ожидания процессом нужных ему страниц или сегментов является важнейшей целью всех стратегий управления памятью.
4.4.2. Стратегии вталкивания (подкачки)
Для управления вталкиванием применяются следующие стратегии:
· вталкивание (подкачка) по запросу (по требованию);
· вталкивание (подкачка) с упреждением (опережением).
Вталкивание (подкачка) по запросу предполагает, что система ждет ссылки на страницу или сегмент от выполняющегося процесса и только после появления такой ссылки начинает переписывать данную страницу или сегмент в первичную память. Подкачка по запросу имеет положительные и отрицательные стороны.
К положительным сторонам относятся:
- гарантировано, что в первичную память будут переписываться только те страницы (сегменты), которые необходимы для работы процесса;
- накладные расходы на то, чтобы определить, какие страницы или сегменты следует передавать в первичную память, минимальны.
К недостаткам подкачки по запросу относится тот факт, что процесс в этом случае накапливает в первичной памяти требуемые ему страницы (сегменты) по одной. При появлении ссылки на каждую новую страницу (сегмент) процессу приходится ждать, когда эта страница (или сегмент) будет передана в первичную память. В зависимости от того, сколько страниц (сегментов) данного процесса уже находится в первичной памяти, эти периоды ожидания будут, как это следует из формулы (4.5), обходиться все более дорого, поскольку ожидающие процессы будут занимать все больший объем памяти.
Вталкивание (подкачка) с упреждением предполагает, что система пытается заблаговременно определить, к каким страницам или сегментам будет обращаться процесс. Если вероятность обращения высока и в первичной памяти имеется свободное место, то соответствующие страницы или сегменты будут переписываться в первичную память еще до того, как к ним будет явно производиться обращение. При правильном выборе страниц (сегментов) для упреждающей подкачки удается существенно сократить общее время выполнения данного процесса и уменьшить значение показателя “пространство-время”.
К недостаткам стратегии подкачки с упреждением можно отнести тот факт, что, согласно теории вычислимости, точно предсказать путь, по которому будет развиваться процесс, в общем случае невозможно. Поэтому вполне возможны ситуации, когда решения о выборе станиц (сегментов) для упреждающей подкачки будет в большинстве случаев приниматься неверно для одного или нескольких процессов, развивающихся в системе, что в свою очередь приведет к резкому снижению скорости работы этих процессов из-за увеличения времени ожидания необходимых им страниц или сегментов.
4.4.3. Стратегии размещения
В системах со страничной организацией виртуальной памяти решение о размещении вновь загружаемых страниц принимается достаточно просто: новая страница может быть помещена в любой свободный страничный кадр.
Для систем с сегментной организацией виртуальной памяти применяются такие же стратегии размещения, какие используются в системах распределения памяти переменными разделами (см. П.4.2), а именно:
· размещение с выбором первого подходящего свободного участка;
· размещение с выбором самого подходящего свободного участка;
· размещение с выбором наименее подходящего свободного участка.
Подробное описание действий для реализации перечисленных стратегий размещения приведено в п.4.2.3.
4.4.4. Стратегии выталкивания
В мультипрограммных системах вся первичная память бывает, как правило, занята. В этом случае программа управления памятью должна решать, какую страницу или какой сегмент следует удалить из первичной памяти, чтобы освободить место для поступающей страницы или сегмента. В настоящее время применяются следующие стратегии выталкивания (откачки) страниц (сегментов):
- выталкивание случайных страниц или сегментов;
- выталкивание первой пришедшей страницы или сегмента (FIFO);
- выталкивание дольше всего не использовавшихся страниц или сегментов (LRU);
- выталкивание наименее часто использовавшихся страниц или сегментов (LFU);
- выталкивание не использовавшихся в последнее время страниц или сегментов (NUR).
Стратегия выталкивания случайных страниц или сегментов является наиболее простой в реализации, обладает малыми издержками и не является дискриминационной по отношению к каким-либо процессам, работающим в системе. В соответствии с этой стратегией любые страницы или сегменты, находящиеся в первичной памяти, могут быть выбраны для выталкивания с равной вероятностью, в том числе даже следующая страница или сегмент, к которым будет производиться обращение (и которые, естественно, удалять из памяти наиболее нецелесообразно). Поскольку подобная стратегия, по сути, рассчитана на “слепое” везение, в реальных системах она применяется редко.
Стратегия выталкивания первой пришедшей страницы или сегмента (FIFO-стратегия) реализует принцип “первый пришел - первый ушел”. В этом случае в момент поступления каждой страницы (сегмента) в первичную память ей (ему) присваивается метка времени. Когда появляется необходимость удалить из первичной памяти какую-либо страницу (сегмент), выбирается та страница (сегмент), у которой метка времени имеет наименьшее значение. Аргументом в пользу такой стратегии выталкивания является довод, что у данной страницы уже были возможности “использовать свой шанс”, и пора дать подобные возможности другой странице. Однако стратегия FIFO с большой вероятностью будет приводить к удалению из первичной памяти активно используемых страниц (сегментов), поскольку тот факт, что страница (сегмент) находится в первичной памяти в течение длительного времени, вполне может означать, что эта страница или сегмент постоянно находится в работе.
Стратегия выталкивания дольше всего не использовавшихся страниц или сегментов (LRU-стратегия) предусматривает, что для выталкивания следует выбирать те страницы (сегменты), которые не использовались дольше других. Стратегия LRU требует, чтобы при каждом обращении к страницам (сегментам) их метки времени обновлялись. Это может быть сопряжено с существенными издержками, поэтому LRU-стратегия, несмотря на свою привлекательность, в современных операционных системах реализуется достаточно редко. Кроме того, при реализации LRU-стратегии может быть так, что страница (сегмент), к которой дольше всего не было обращений, в действительности станет следующей используемой страницей (сегментом), если программа к этому моменту очередной раз пройдет большой цикл, охватывающий несколько страниц или сегментов.
Стратегия выталкивания реже всего используемых страниц или сегментов (LFU-стратегия) является одной из наиболее близких к рассмотренной выше LRU-стратегии. В соответствии с LFU-стратегией из первичной памяти выталкиваются наименее часто (наименее интенсивно) использовавшиеся к данному времени страницы или сегменты. Здесь контролируется интенсивность использования страниц (сегментов). Для этого каждой странице (сегменту) назначается счетчик, значение которого увеличивается на единицу при каждом обращении к данной странице (сегменту). LFU-стратегия, будучи интуитивно оправданной, имеет те же недостатки, что и стратегия LRU: во-первых, велика вероятность того, что из первичной памяти будут удалены страницы или сегменты, которые потребуются процессам при следующем обращении к памяти и, во-вторых, ее реализация может быть сопряжена со значительными затратами на организацию контроля интенсивности использования страниц или сегментов.
Стратегия выталкивания не использовавшихся в последнее время страниц или сегментов (NUR-стратегия) также является близкой к стратегии LRU и характеризуется относительно небольшими издержками на свою реализацию. Согласно NUR-стратегии из первичной памяти выталкиваются те страницы (сегменты), к которым не было обращений в последнее время. В соответствии со свойством локальности во времени (см.п.4.4.1) к страницам (сегментам), не использовавшимся в последнее время, вряд ли будет обращение в ближайшем будущем, так что их можно заменить на вновь поступающие страницы.
Поскольку желательно заменять те страницы (сегменты), которые в период нахождения в основной памяти не изменялись, реализация NUR-стратегии предусматривает введение двух аппаратных бит-признаков на страницу (сегмент):
· бит-признак b0 обращения к странице (сегменту);
· бит-признак b1 модификации страницы (сегмента).
Первоначально все b0 и b1 устанавливаются в 0. При обращении к странице (сегменту) соответствующий бит-признак b0 устанавливается в 1. В случае изменения содержимого страницы (сегмента) соответствующий бит-признак b1 устанавливается в 1. NUR-стратегия предусматривает существование четырех групп страниц (сегментов), показанных в табл. 4.5.
Таблица 4.5. Группы страниц (сегментов)
| Группа | b0 | b1 |
| 1 2 3 4 | 0 1 0 1 | 0 0 1 1 |
В первую очередь из первичной памяти выталкиваются страницы (сегменты), принадлежащие группам с меньшими номерами.
Учет времени, в течение которого к страницам (сегментам) не было обращений, осуществляется периодическим сбрасыванием в 0 всех битов-признаков, выполняемым операционной системой.
Практически любая стратегия выталкивания страниц (сегментов) не исключает опасности нерациональных решений. Это объясняется тем, операционная система не может точно прогнозировать будущее поведение любого из процессов, поступивших к ней на обработку.
Контрольные вопросы
1. Часто единственным достоинством виртуальной памяти называют возможность обеспечить для процесса объем виртуального адресного пространства, превышающий объем реальной памяти. Назовите другие достоинства виртуальной памяти.
2. В чем достоинства и недостатки преобразования виртуальных адресов в реальные во время выполнения программы? Какая часть работы по этому преобразованию выполняется аппаратным обеспечением, а какая - ОС?
3. Иногда считают, что виртуальная память может быть обеспечена только в системах с аппаратной поддержкой динамической трансляции адреса. Докажите, что это не так.
4. Почему при поиске свободной памяти стратегия "самый подходящий" оказывается хуже, чем "первый подходящий".
5. Сравните сегментную и страничную модели виртуальной памяти. Какая из них представляется Вам лучшей и почему?
6. Дополните приведенные в разделе 3.5. соображения по поводу выбора размера страницы.
Если Вам понравилась эта лекция, то понравится и эта - Установка цвета и стиля линий.
7. Смоделируйте ситуацию применения дисциплины вытеснения FCFS, в которой увеличение числа реальных страниц приведет к увеличению числа страничных отказов.
8. Что такое кластерная подкачка страниц? Почему в современных ОС она становится все более популярной?
9. Каким образом ОС может определять, к каким страницам будут обращения в ближайшее время?
10. Большой размер виртуальной памяти процесса может приводить к тому, что даже таблица страниц не будет помещаться в реальной памяти. Какими путями решается эта проблема в современных ОС?
11. Каким образом снижение стоимости памяти влияет на дисциплины управления памятью?
12. Какие принципиальные изменения в концепции памяти может повлечь за собой увеличение разрядности адреса?























