Для студентов МГТУ им. Н.Э.Баумана по предмету Инженерная графикаБ-172Б-172
4,75545
2019-02-232019-02-23СтудИзба
ДЗ Б: Б-172 вариант 172
Описание
ПРОЧИТАЙ ОБЯЗАТЕЛЬНО
Эскизы и инвентор(2018 года)
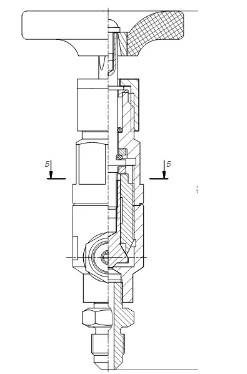
Здесь есть промежуточные варианты, какие именно варианты промежуточные- я не помню, разбирайтесь сами. Правильная сборка-- Сборка123njgc,jhrf
Препод разрешила конические резьбы сделать метрическими, поэтому, чтобы было по госту, на корпусе и крышке есть две проточки, которых на самом деле нет, а на штуцере добавлен сбег.
Ставьте плюсики, хочу вип. ![]()

Характеристики домашнего задания
Предмет
Учебное заведение
Семестр
Номер задания
Вариант
Просмотров
1480
Размер
18,1 Mb
Список файлов
эскизы
1PiUqQGA66s.jpg
2il_tjkRMkA.jpg
6KVNVY0Bz8w.jpg
89XRMPgDIFs.jpg
98cupL5ZZ8M.jpg
CTdkLyymZM8.jpg
F9YvxvuncOU.jpg
G3P-dIKmVyo.jpg
VSR4MLODlhU.jpg
YFhrMEaPjLo.jpg
_aqUWcfiXbY.jpg
t7vRJZ4yyuQ.jpg
;k;lk.ipt
krutilka.ipt
makhovik.ipt
~Сборка123njgc,jhrf.dwg.6260.tmp
Винт B.M5-6gx11 ГОСТ 17473-80.ipt
Дырка от вентиля.ipt
ПЕЧАТАТЬВОТЭТО.pdf
ПРОЧИТАЙ.txt
Сборка1.iam
Сборка3.iam
Сборка123njgc,jhrf.dwg
Сборка123njgc,jhrf.iam
Сборка123njgc,jhrf.pdf
Сборка123njgc,jhrf.pdf подправил сечение.pdf
Сборка12222.iam
апнутаяшайба.ipt
вентиль.ipt
вентилятор.iam
Ставьте лайки хочу вип
Отзывы
Отзыв
сходится
МГТУ им. Н.Э.Баумана
HENTAI_LOVER


















