Для студентов МГТУ им. Н.Э.Баумана по предмету Теория разработки программных системТестирование программного обеспеченияТестирование программного обеспечения
5,0051
2024-04-262024-04-26СтудИзба
Лабораторная работа 3: Тестирование программного обеспечения вариант 22
Описание
Отчет по третьей лабе по ТРПС, вариант 22, принят Пугачевым.
Первая часть - структурный контроль.
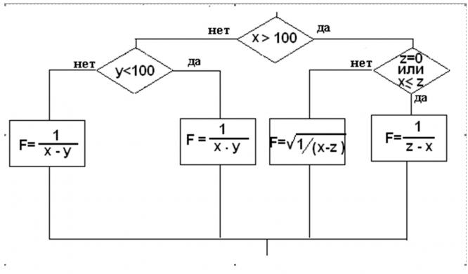
Задание:
Вторая часть - Белый ящик.
Задание:
Часть третья - Черный Ящик.
Задание:
Первая часть - структурный контроль.
Задание:

Задание:

Задание:

Характеристики лабораторной работы
Учебное заведение
Семестр
Номер задания
Вариант
Программы
Просмотров
15
Качество
Идеальное компьютерное
Размер
117,91 Kb
Преподаватели
Список файлов
Лаба_3.docx