Для студентов МГТУ им. Н.Э.Баумана по предмету Теория механизмов и машин (ТММ)Проектирование и исследование механизмов поршневого детандераПроектирование и исследование механизмов поршневого детандера
5,00541
2025-06-272025-08-25СтудИзба
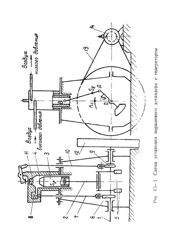
Другое 15: Проектирование и исследование механизмов поршневого детандера вариант Д
Описание
Курсовая работа по ТММ "Проектирование и исследование механизмов поршневого детандера". Вариант 15Д. Данный файл не является 100% готовой к сдачи курсовой работой. Данная работа сможет только помочь и направить Вас при выполнении своего курсового проекта.
После покупки рекомендую написать отзыв о работе или связаться с продавцом. Тем самым мы сможем проверить и дослать дополнительные файлы данного проекта.
![]()
После покупки рекомендую написать отзыв о работе или связаться с продавцом. Тем самым мы сможем проверить и дослать дополнительные файлы данного проекта.


Характеристики учебной работы
Тип
Учебное заведение
Семестр
Номер задания
Вариант
Программы
Просмотров
34
Качество
Идеальное компьютерное
Размер
2,75 Mb
Преподаватели
Список файлов
ЛИСТ_2.pdf
ЛИСТ_3.pdf
ЛИСТ_4.pdf
ЛИСТ_1.pdf
РПЗ.pdf
В случае проблем - пиши в чат. Буду рад, если ты оставишь положительный отзыв на мою работу!
Комментарии

Если есть возможность, могли бы пожалуйста отправить также файлы маткад и компас для этой работы?