Другое 9: Курсовой проект 9Б вариант Б
Описание
Вариант 9 Б

Реферат
В расчетно-пояснительной записке проведено проектирование механизма горизонтально-ковочной машины с разъёмной матрицей, определение действующих силовых факторов, исходя из закона его движения, расчет силовых факторов, действующих в кинематических парах механизма с учетом геометрии масс звеньев; проектирование цилиндрической эвольвентной зубчатой передачи, планетарного редуктора, расчет и исследование кулачкового механизма с поступательно движущимся толкателем.
Объем данной записки 44 страницы, на которых находится техническое задание, описание проекта, заключение и список используемой литературы.
Содержание
Реферат………………………………………………………………………...2
Содержание……………………………………………………………..........3
Техническое задание………………………………………………………..5
Исходные данные…………………………………………….….………..…9
Лист 1.Определение закона движения механизма..…………………......11
Проектирование основного механизма и определение закона
его движения …………………………………………………………….…..11
Вычисление передаточных функций механизма….......……….………...12
Приведение масс…………………………………………………………….17
Приведение сил. Построение индикаторной диаграммы и
диаграммы сил………………………………………………………………19
Расчет приведенных моментов сопротивления…..……………………..21
Определение графиков суммарной работы………………………...23Определение графиков кинетической энергии и работы...........................23
Определение угловой скорости звена приведения.…………………….....26
Определение углового ускорения звена приведения……………...……...26
Габаритные размеры и масса маховика………………………………….27
Результаты…………………………………………………………………..27
Лист 2. Силовой расчет механизма………………………………………28
Построение плана скоростей…………………………………….....…….27
Построение плана ускорений ……………………………………...……....28
Определение главных векторов и главных моментов сил
инерции ……………………………………………………………………..28
Силовой расчёт………………………………………………………..…...29
Результаты. Погрешность расчета первого и второго листов…………...31
Лист 4. Проектирование цилиндрическойэвольвентной зубчатой
передачи и планетарного редуктора……………………………...............32
Цели и задачи расчета эвольвентного зацепления...…..…........................32
Проектирование зубчатой передачи......... …………….…..………………32
Выбор коэффициента смещения…………………….…………………….32
Построение профиля зуба, изготовляемого реечным
инструментом……………………..………………………………………..34
Построение проектируемой зубчатой передачи ……....……....................35
Проектирование планетарного редуктора…………………......................36
Построение графиков скоростей……………………………………….…37
Лист 3. Проектирование кулачкового механизма.........……….…..……38
Исходные данные……………………………………….………………….38
Построение кинематических диаграмм…………………...…....................38
Расчет минимального радиуса кулачка и смещения толкател....………40
Заключение....................................................................... …………..............43
Литература..........................................………… …………………...........….44
Техническое задание
Краткое описание работы механизмовгоризонтально-ковочной машины с разъёмной матрицей
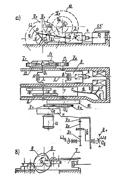
Горизонтально-ковочная машина, схема механизмов которой изображена на рис. 9—1, предназначается для горячей штамповки изделий из пруткового металла ограниченной длины в матрице с разъемом в вертикальной плоскости.
Машина содержит два исполнительных механизма: основной механизм высадочный и механизм зажима заготовки.
Рис. 9—1. Схема механизмов горизонтально-ковочной машины
Высадочный механизм 1, 2, 3 является кривошипно-ползунным механизмом, коленчатый вал 1 которого приводится в движение от электродвигателя 12 при помощи планетарного редуктора 11 и зубчатых передач Z4, Z5, Z6, Z7. Высадочный ползун 3, с закрепленным на нем пуансоном 4, совершая возвратно-поступательное движение, осуществляет деформацию заготовки, зажатой в матрице 5,5'. Диаграмма усилий высадки представлена на рис 9—2. Значения усилий высадки даны в табл. 9—2.
Зажимной механизм состоит из бокового ползуна 7, рычажной системы 6 и зажимного ползуна 5. Боковой ползун 7 получает возвратно-поступательное движение от коленчатого вала 1 посредством кулачков: 8 прямого хода и 9 обратного хода (рис. 9—1 а, б). Кулачки воздействуют на ролики, оси которых закреплены на боковом ползуне 7.
Движение от бокового ползуна передается зажимному ползуну 5 с подводимой частью матрицы посредством рычажной системы 6. Выдержки матрицы в закрытом и в открытом состоянии определяются профилем кулачка. На рис. 9—3 изображена циклограмма, показывающая взаимодействие высадочного и зажимного механизмов. Горизонтально-ковочная машина может работать как в режиме однократной, так и в режиме непрерывной (многократной) высадки. Для управления тем или иным режимом в машине (рис. 9—1 а) имеются тормоз 13 и дисковая фрикционная муфта включения и выключения 14, смонтированная в один конструктивный узел с зубчатым колесом Z6. Управление тормозом и фрикционной муфтой пневматическое. При работе машины в режиме однократных высадок после каждого двойного хода высадочного ползуна коленчатый вал отключается от системы привода и затормаживается в начальном положении, подготовленном к следующему рабочему ходу. При этом система привода с маховиком 10, размещенным на промежуточном валу О2, работает непрерывно. Длительность паузы в работе кривошипно-ползунного механизма определяется технологией штамповки данного изделия и оценивается количеством возможных оборотов коленчатого вала за время паузы.
Рис 9—2. Диаграмма усилий высадки
Рис. 9—3 Циклограмма работы механизмов горизонтально-ковочной машины
Проектирование и исследование механизмов горизонтально-ковочной машины провести в режиме многократной высадки, считая известными параметры, приведенные в табл.9—1.
МГТУ им. Н.Э.Баумана
lemonchelo69
















