Курсовая работа: Проектирование механизмов прошивного пресса
Описание
Тема 12. Проектирование механизмов прошивного пресса

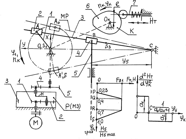
Рис. 6.12. Кинематическая схема прошивного пресса
Таблица 6.12
№ | Параметры | Размерн ость парамет ров | Варианты значений параметров | |||||||
1 | 2 | 3 | 4 | 5 | 6 | 7 | 8 | |||
1 | Параметры рычажного механизма (МР) пресса: | | | | | | | | | |
| | - Межосевое расстояние lOC | м | 0,6 5 | 0,7 0 | 0,7 5 | 0,9 0 | 0,8 0 | 1,0 0 | 0,8 5 | 0,9 5 |
| | - Расстояние У5 до оси пуансона 5 | м | 0,3 5 | 0,4 5 | 0,4 8 | 0,5 2 | 0,4 6 | 0,6 0 | 0,5 0 | 0,5 5 |
| | - Коэффициент Kn изменения средней скорости кулисы 3 | - | 1,2 5 | 1,2 8 | 1,3 2 | 1,3 0 | 1,3 5 | 1,2 2 | 1,2 7 | 1,2 0 |
| | - Частота вращения пк кривошипа 1 (против часовой стрелки) | мин-1 | 70 | 75 | 85 | 80 | 88 | 65 | 72 | 78 |
| | Массы звеньев:
| кг | 10 | 12 | 15 | 11 | 13 | 8 | 14 | 16 |
кг | 30 | 32 | 36 | 28 | 36 | 25 | 35 | 33 | ||
кг | т5 = 0,8т3 | |||||||||
| | - Координата центра масс S3 кулисы 3 | м | lCS = 0,45lOC 3 | |||||||
47
Продолжение таблицы 6.12
| | - Моменты инерции звеньев:
1
3 | кг×м2 | 0,1 2 | 0,1 5 | 0,2 0 | 0,1 8 | 0,1 4 | 0,1 7 | 0,2 2 | 0,1 3 |
кг×м2 | 0,6 5 | 0,7 0 | 0,8 0 | 0,7 5 | 0,8 2 | 0,7 7 | 0,8 5 | 0,7 2 | ||
| | - Маховые моменты:
электродвигателя М, mД 2 р
mД 2 пр | кг×м2 | 0,022 | 0,035 | 0,070 | 0,1 1 | 0,0 5 | 0,0 7 | 0,1 6 | 0,2 3 |
кг×м2 | 0,8 0 | 0,5 0 | 0,6 0 | 0,7 0 | 0,6 5 | 0,7 0 | 0,7 5 | 0,5 5 | ||
| | - Максимальная сила сопротивления FS 1 пуансону 5 | Н | 150 0 | 170 0 | 160 0 | 140 0 | 120 0 | 130 0 | 155 0 | 180 0 |
| | - Частота вращения nд вала электродвигателя М | мин-1 | 142 5 | 143 5 | 144 5 | 145 5 | 950 | 955 | 965 | 970 |
| | Коэффициент [d ] неравномерности вращения кривошипа 1 | - | 0,06 0 | 0,070 | 0,06 5 | 0,05 5 | 0,04 0 | 0,045 | 0,07 5 | 0,08 0 |
| | Силовой расчет | - | Выполнять для положения кривошипа 1, при котором момент сил сопротивления на нем Мпс = max | |||||||
2 | Параметры зубчатого механизма (МЗ) пресса: | | | | | | | | | |
| | - Числа зубьев зубчатых колес 4, 5:
| - | 11 | 15 | 13 | 13 | 12 | 11 | 10 | 13 |
- | 19 | 21 | 19 | 29 | 27 | 21 | 23 | 28 | ||
| | - Модуль т зубчатых колес 4, 5 | мм | 4,0 | 4,5 | 5,0 | 5,5 | 6,0 | 4,0 | 4,5 | 5,5 |
| | - Модуль тпл зубчатых колес 1-3 планетарной ступени | мм | 3,0 | 3,5 | 4,0 | 4,5 | 3,5 | 3,0 | 4,0 | 4,5 |
СодержаниеВведение 3
- Структурный анализ и кинематический анализ рычажного механизма.... 4
- Структурный анализ механизма............................................................... 4
- Структурный синтез механизма................................................................ 5
- Кинематический синтез механизма............................................................ 7
- Кинематический анализ механизма........................................................... 9
- Анализ характеристик механизма........................................................... 11
- Кинематический синтез зубчатого механизма........................................... 15
- Параметры зубчатого механизма........................................................... 15
- Геометрический синтез зубчатого механизма......................................... 17
- Вычерчивание схемы зацепления............................................................ 17
Введение
Прошивной пресс предназначен для получения отверстий в тонком листовом материале и для насечки зубьев пил.
Кривошип I получает вращение от электродвигателя через редуктор. Через камень 2 движение передается кулисе 3, которая совершает карательное движение относительно оси. Далее посредством звена 4 пуансон 5 получает возвратно-посту- пательное движение и при рабочем ходе сверху вниз прошивает отверстие.
Подача: материала на стол пресса осуществляется автоматически при по- мощи кулачкового механизма.
При повороте кривошипа на угол jр.х. пуансон перемещается c одной позиции
на другую.
ВлГУ им. Столетовых
all_at_700















