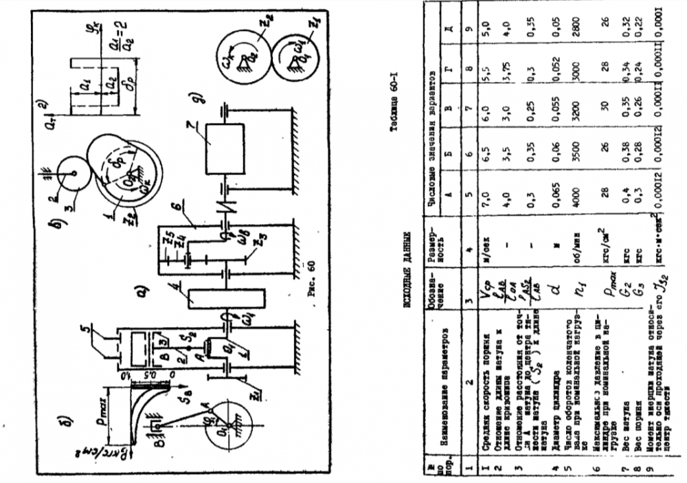
Для студентов МГТУ им. Н.Э.Баумана по предмету Теория механизмов и машин (ТММ)Проектирование и исследование механизмов привода конвейераПроектирование и исследование механизмов привода конвейера
5,0051
2025-10-052025-10-18СтудИзба
Курсовая работа 60: Проектирование и исследование механизмов привода конвейера вариант Г
Описание
Курсовая работа включает в себя:
4 листа формата А1
Код mathcad для 1-го листа
РПЗ на 30 страниц + приложение
Листы 1-4 приложены в формате pdf, листы 1-2также приложены в формате cdw
Работа выполнялась под руководством Тимофеева Г.А., была защищена Сащенко Д.В. на 4 (если защищаетесь у него, внимательно оформляйте работу по его требованиям, за это снижает оценку)
![]()
4 листа формата А1
Код mathcad для 1-го листа
РПЗ на 30 страниц + приложение
Листы 1-4 приложены в формате pdf, листы 1-2также приложены в формате cdw
Работа выполнялась под руководством Тимофеева Г.А., была защищена Сащенко Д.В. на 4 (если защищаетесь у него, внимательно оформляйте работу по его требованиям, за это снижает оценку)

Характеристики курсовой работы
Учебное заведение
Семестр
Номер задания
Вариант
Просмотров
75
Качество
Идеальное компьютерное
Размер
2,76 Mb
Список файлов
ЛИСТ2.pdf
ЛИСТ3.pdf
ЛИСТ4.pdf
ЛИСТ1.pdf
лист 2.cdw
Лист1.cdw
РПЗ тмм.pdf
тммматкад.xmcdz
mathcadtmm.xmcd
mathcadtmm.pdf
МГТУ им. Н.Э.Баумана
dinakazbekovaa


















