Для студентов МГТУ им. Н.Э.Баумана по предмету Теория механизмов и машин (ТММ)Проектирование и исследование механизмов одноударного холодновысадочного автомата с цельной матрицейПроектирование и исследование механизмов одноударного холодновысадочного автомата с цельной матрицей
4,9951083
2024-03-192024-10-05СтудИзба
Курсовая работа 8: Проектирование и исследование механизмов одноударного холодновысадочного автомата с цельной матрицей вариант Д
Описание
Вариант 8Д - Проектирование и исследование механизмов одноударного холодновысадочного автомата с цельной матрицей
В состав курсового проекта входят: данная расчетно-пояснительная записка и 4 листа формата А1 с необходимыми графическими расчетами и зависимостями, MathCad файлы с решением
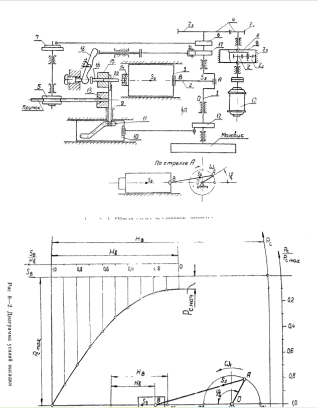
Расчетно-пояснительная записка содержит динамический расчет механизмов насосной установки. Расчет включает определение закона движения механизма, силовой расчет механизма, расчет и исследование зубчатой передачи и планетарного механизма, расчет кулачкового механизма
В состав курсового проекта входят: данная расчетно-пояснительная записка и 4 листа формата А1 с необходимыми графическими расчетами и зависимостями, MathCad файлы с решением
Расчетно-пояснительная записка содержит динамический расчет механизмов насосной установки. Расчет включает определение закона движения механизма, силовой расчет механизма, расчет и исследование зубчатой передачи и планетарного механизма, расчет кулачкового механизма



Характеристики курсовой работы
Учебное заведение
Семестр
Номер задания
Вариант
Программы
Просмотров
16
Размер
6,2 Mb
Список файлов
Лист 1.cdw
Лист 2.cdw
Лист 3.cdw
Лист 4.cdw
Пояснительная записка.docx
Mathcad.xmcd
3 лист.xmcd
Mathcad_old.xmcd
Доп. Задание.cdw

Спасибо за покупку! Я буду очень рад, если поставишь справедливую оценку купленному файлу