Курсовая работа 102: Проектирование и исследование механизмов дозировочного сильфонного насоса вариант В
Описание
Проектирование и исследование механизмов дозировочного сильфонного насоса”
Задание №102-в.
- Техническое задание.
- Краткое описание работы механизмов.
Проектирование и исследование механизмов дозировочного сильфонного насоса
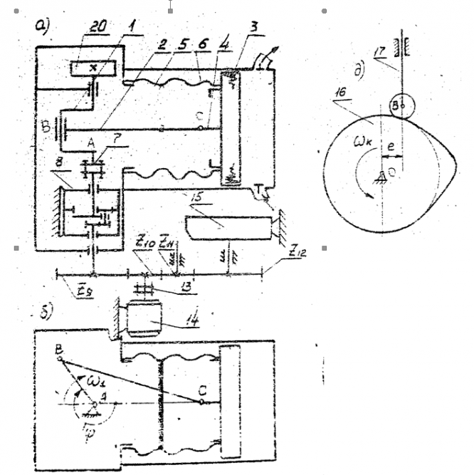
Горизонтальный одноцилиндровый поршневой дозировочный насос предназначен для дозирования водных растворов органическими и неорганическими веществами в процессе производства биологических препаратов.
Коленчатый вал 1 насоса приводиться во вращение электродвигателем 14 через соединительную муфту 13 ,зубчатую передачу, планетарный редуктор 8 и соединительную муфту 7. насос выполнен герметичным. Его рабочая полость изолирована от картера сильфонами 5 и 6, жестко соединенными между собой. Конец сильфона 6 припаян к поршню 3 , а конец сильфона 5 к корпусу насоса (рис.а). Изменение усилия F, приложенного к поршню от сильфона при перемещении поршня насоса, представлено графиком (рис.б).
Основным механизмом насоса является кривошипно-ползунный механизм (рис.в), состоящий из коленчатого вала 1 , шатуна 2 и поршня 3 со штоком 4. Для обеспечения движения основного механизма с заданной неравномерностью на коленчатом валу насоса закреплен маховик 20.
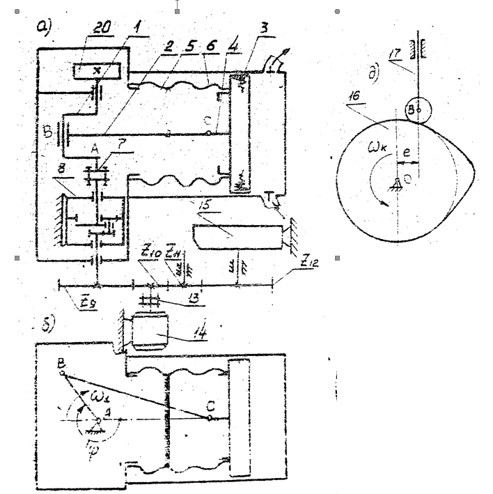
Смазка механизмов насоса осуществляется от плунжерного масляного насоса 15, плунжер 17 которого (рис.г) приводиться в движение от кулачка 16, закрепленного на валу зубчатого колеса (рис.д.). Изменение ускорения толкателя 17 показано на(рис.е).
1.2 Исходные данные.
№ | Параметр | Обозначение | Единица измерения | Числовое значение |
1 | Частота вращения коленчатого вала насоса | | | 2,25 |
2 | Средняя скорость поршня | | м/с | 0,21 |
3 | Отношение длины шатуна к длине кривошипа | | - | 4,9 |
4 | Относительное положение центра масса шатуна | | - | 0,25 |
5 | Диаметр поршня | d | м | 0,05 |
6 | Диаметр штока | | м | 0,01 |
7 | Частота вращения вала электродвигателя | | | 33,3 |
8 | Максимальное давление нагнетания | | МПа | 1,96 |
9 | Минимальное давление в цилиндре | | Па | 0,2 |
10 | Отношение длины штока к длине шатуна | | - | 0,19 |
11 | Масса шатуна | | кг | 1,75 |
12 | Масса штока | | кг | 0,5 |
13 | Масса поршня | | кг | 3,5 |
14 | Момент инерции шатуна относительно оси, проходящей через центр масс | | | 0,01 |
15 | Максимальное усилие растяжения—сжатия от сильфона | | н | 280 |
16 | Момент инерции коленвала | | | 0,003 |
17 | Момент инерции ротора электродвигателя | | | 0,0025 |
18 | Момент инерции планетарного редуктора, соединительной муфты и зубчатых колес, приведенных к валу электродвигателя | | | 0,02 |
19 | Начальная угловая скорость коленчатого вала | | | 0 |
20 | Момент электродвигателя | | н*м | 71,4 |
21 | Угловая координата кривошипа для силового расчета | | град | 300 |
22 | Числа зубьев зубчатых колес | | | |
23 | Модуль зубчатых колес | m | мм | 2 |
24 | Угол наклона зубьев | | град | 0 |
25 | Угол рабочего профиля кулачка | | град | 240 |
26 | Ход толкателя 17 кулачкового механизма | | м | 0,02 |
27 | Допустимый угол давления в кулачковом механизме | | град | 25 |
28 | Внеосность толкателя 17 в кулачковом механизме | e | м | 0,005 |
29 | Изменение ускорений толкателя | | - | 1,9 |
30 | Начальный угол поворота кривошипа | | град | 0 |
Характеристики курсовой работы
Список файлов

Начать зарабатывать
Комментарии



