Курсовая работа 86: Проектирование и исследование механизмов перемещения крышки люка вариант А
Описание
Техническое задание №86А
ПРОЕКТИРОВАНИЕ И ИССЛЕДОВАНИЕ МЕХАНИЗМОВ ПЕРЕМЕЩЕНИЯ КРЫШКИ ЛЮКА.
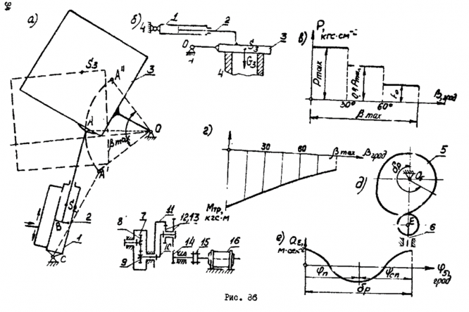
Механизм перемещения крышки люка (рис. 86а, б) состоит из гидроцилиндра I, штока с поршнем 2 и плиты 3, закрывающей люк 4. Плита, вращаясь вокруг оси О перемещается строго горизонтально под действием силы со стороны гидроцилиндра, характер изменения давления в котором представлен на рис. 86в. При этом преодолевается момент трения (рис.86г), появляющийся в стыках плиты и опоры, диаграмма изменения которого строится по данным табл. 86-2.
Нагнетание масла в полость цилиндра осуществляется шестеренчатым насосом 7 (с шестернями 8,9), приводимым во вращение планетарным редуктором 10-11-12-13-14, соединенным муфтой 15 с электродвигателем 16.
Изменение давления в цилиндре I обеспечивается регулятором 5, 6 кулачкового типа (рис. 86д).
Закон изменения ускорения толкателя 6 в пределах рабочего угла поворота кулачка 5 представлен косинусоидой (рис. 86е).
Примечания: 1. Центром масс звеньев при расчетах приняты посредине звеньев. Моменты инерции звеньев 1,2 определяются по формуле
, где – масса, – длина звена.
2. Число сателлитов планетарного редуктора K=3.
№ | Наименование параметра | Обозна-чение | Размер- ность | чис. обознач. для вариант. | ||||
А | Б | В | Г | Д | ||||
1 | 2 | 3 | 4 | 5 | 6 | 7 | 8 | 9 |
1 | Расстояние между осями поворота плит О и шарнира крепления штока гидроцилиндра С | | м | 1.5 | 1.2 | 1.3 | 1.4 | 1.5 |
2 | Угол поворота плиты при открытии | | град | 90 | 95 | 100 | 95 | 90 |
3 | Ход поршня 2 | | см | 75 | 60 | 65 | 70 | 75 |
4 | Соотношение между ходом поршня с минимальным расстоянием между осями качания гидроцилиндра и шарнира крепления штока | | - | 1.1 | 1.2 | 1.15 | 1.2 | 1.15 |
5 | Максимально допустимый угол давления в механизме с качающимся гидроцилиндром | α | град | 60 | 65 | 70 | 75 | 80 |
6 | Максимальный момент трения | | кгс*м | 800 | 860 | 840 | 820 | 880 |
7 | Сила тяжести поршня и штока 2 | | кгс | 45 | 50 | 45 | 40 | 60 |
8 | Сила тяжести цилиндра 1 | | кгс | 30 | 35 | 30 | 28 | 40 |
9 | Диаметр цилиндра | d | м | 0.07 | 0.08 | 0.085 | 0.075 | 0.09 |
10 | Максимальное давление в цилиндре | | кгс/ | 40 | 30 | 25 | 35 | 30 |
11 | Момент инерции плиты 3 относительно оси поворота плиты | | кгс*м* | 6.0 | 5.3 | 6.2 | 6.3 | 6 |
12 | Число оборотов электродвигателя | | об/мин | 10000 | 10000 | 10000 | 10000 | 10000 |
13 | Числа зубьев колес насоса | | - | 20/10 | 18/12 | 26/13 | 22/11 | 18/12 |
14 | Модуль зубчатых колес 8, 9 | m | мм | 4.5 | 3.5 | 4 | 5 | 4.5 |
15 | Ход толкателя кулачкового механизма | h | м | 0.012 | 0.013 | 0.014 | 0.011 | 0.015 |
16 | Максимально допустимый угол давления в кулачковом механизме | | град | 20 | 22 | 24 | 20 | 22 |
17 | Рабочий угол поворота кулачка | | град | 240 | 260 | 280 | 260 | 240 |
18 | Угловая координата для силового расчета | | град | 15 | 20 | 10 | 30 | 15 |
19 | Скорость вращения кулачка | | об/мин | 50 | 60 | 70 | 60 | 50 |
Зависимость момента от угла поворота плиты
| град | 0 | 15 | 30 | 45 | 60 | 75 | |
| - | 1 | 0.9 | 0.72 | 0.6 | 0.5 | 0.43 | 0.35 |
Реферат
Пояснительная записка к курсовой работе «Проектирование исследование механизмов перемещения крышки люка» содержит 47 страниц машинописного текста, 11 рисунков, 3 таблицы, 10 приложений, включая Реферат, содержание и распечатку из программы MatCad. Состоит из 4 частей, для написания было использовано 4 источника. В состав курсовой работы входят: данная расчетно-пояснительная записка и 4 листа формата А2 с необходимыми графическими расчетами и зависимостями, выполненные в КОМПАС-3D.
В расчетно-пояснительной записке проведено проектирование механизмов перемещения крышки люка, исследовано его движение и определены управляющие силовые воздействия, проведено проектирование эвольвентой цилиндрической зубчатой передачи, проектирование двухрядного планетарного редуктора и проектирование кулачкового механизма.

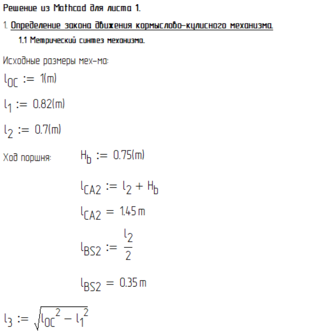
Лист 1 - Определение закона движения механизма
Лист 2 - Силовой расчет
Лист 3 - Проектирование зубчатой передачи и планетарного редуктора
Лист 4 - Проектирование кулачкового механизма
Защищено на 5!
МГТУ им. Н.Э.Баумана
kaatriiin_nn


















