Для студентов МГТУ им. Н.Э.Баумана по предмету Теория механизмов и машин (ТММ)Проектирование и исследование механизмов шассиПроектирование и исследование механизмов шасси
5,00510
2013-08-212025-04-07СтудИзба
Курсовая работа 78: Проектирование и исследование механизмов шасси вариант Б
-50%
Описание
Проектирование и исследование механизмов шасси
Аннотация к расчётно пояснительной записке
Расчетно-пояснительная записка состоит из 40 страниц машинописного текста, 9 рисунков, 17 диаграмм и 1 таблицу.Расчетно-пояснительная записка содержит динамический расчет механической системы шасси. Расчет включает определение закона движения основного кулисного механизма, силовой расчет основного механизма, расчет и исследование зубчатой передачи и планетарного механизма, расчет кулачкового механизма.
Оглавление
- 1.Техническое задание………………………………………………………3
- 2.Определение закона движения механизма………………………………6
- 2.1.Метрический синтез механизма………………………………………..6
- 2.2.Определение параметров динамической модели……………………..8
- 2.2.1.Построение диаграмм передаточных функций механизма…………8
- 2.2.2.Приведение масс………………………………………………………13
- 2.2.3.Построение индикатоной диаграммы………………………………..14
- 2.2.4.Приведение сил……………………………………………………….15
- 2.3.Построение диаграмм работы………………………………………….16
- 2.4. Построение диаграмы угловой скорости звена приведения…………16
- 2.5. Построение диаграмы времени………………………………………..17
- 2.6. Построение диаграммы углового ускорения первого звена механизма……..18
- 3.Силовой расчёт механизма………………………………………………19
- 3.1.Определение кинематических характеристик………………………..19
- 3.1.1.Построение плана скоростей…………………………………………19
- 3.1.2. Построение плана ускорений………………………………………..20
- 3.2.Определение главных векторов и моментов сил инерции………..…22
- 3.3.Кинетостатический силовой расчёт механизма………………………22
- 4. Проектирование зубчатой передачи……………………………………30
- 4.1. Геометрический расчёт эвольвентной зубчатой передачи внешнего зацепления………30
- 4. 2.Исполнительные размеры зубчатого колеса…………………………32
- 4. 3.Качественные показатели зубчатой передачи……………………….33
- 4. 4.Построение станочного зацепления и зубчатой передачи………..35
- 5.Проектирование планетарного механизма……………………………..38
- 5.1.Условия подбора чисел зубьев………………………………………..38
- 5.2.Подбор зубьев по методу сомножителей…………………………….39
- 6.Проектирование кулачкового механизма………………………………42
- 6.1.Исходные данные . . . . . . . . . . . . . . . . . . . . . . . . . . . . . . . . . . . . . . . . . .42
- 6.2. Построение кинематической диаграммы и расчет масштабов построения ………..42
- 6.3. Получение начального радиуса кулачка…….. …………………….42
- 6.4. Построение центрового и конструктивного профилей кулачка………43
- 6.5. Построение графика изменения угла давления……………………43
- Заключение.………………………………………………………………..44
- Список литературы………………………………………………………..44
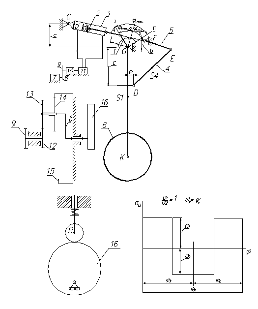
1. Техническое задание
Шасси служит для передвижения летательного аппарата по земле при разбеге перед взлётом, пробеге после посадки. Основным силовым звеном шасси является амортизационная стойка 1 (см.рис), связывающее колесо 6 сконструкцией летательного аппарата. Выпуск и уборка амортизационной стойки производится гидроподъём-ником, состоящим из цилиндра 3 и поршня со штоком 2. Подача жидкости в рабочие полости цилиндра производится гидравлическим насосом 11, приводимым в движение от электродвигателя 7 через пару зубчатых колёс 8 и 9 и планетарный редуктор 10. Гидравлический насос кулачкового типа состоит из дискового кулачка 16, закреплённого на валу водила редуктора, и толка-теля ; осуществляющего подачу жидкости в цилиндр гидроподъёмника. При уборке шасси амортизационная стойка 1 поворачивается из одного крайнего (вертикального) положения (1) в другое (2), на угол f1max .При этом на механизм шасси действуют силы сопротивления воздуха , зависящие от скорости полёта и других факторов. Равнодействующую сил сопротивления приближённо можно вычислить по формулеPc1=Pccos f1
где Pc-сила сопротивления воздуха в выпущенном положении шасси ; f1-угол поворота стойки 1, отсчитываемый от начального положения 1 по часовой стрелке.
Равнодействующая сил сопротивления параллельна продольной оси летательного аппарата: если уборка шасси происходит при горизонтальном направлении полёта, то линия действия силы Pc1 горизонтально. Прибли-жонно можно считать, что сила Pc1 приложена в центре колеса. При повороте стойки из положения 1 в полложение 2 результирующее давление p=p’-p” в гидроцилиндре подъёмника принять постоянным. Силы трения в кинематических парах механизма шасси приблежонно могут быть оценены суммарным приведённым к звену 1 моментом трения Мтрпр , не зависящим от положения амортизационной стойки.

Исходные данные
Максимальный угол поворота амартизационной стойки 1 | f1max | 90° |
Расстояние между осями поворота стойки 1 и гидроцилиндра 3 стойки 1 и колеса 6 стойки 1 и коромысла 5 | Loc Lok LoF | 1.15 м 2 м 0,32 м |
Вертикальная проекция межосевого расстояния Loc | a | 0.42 м |
Вертикальная проекция межосевого расстояния Lof | b | 0.12 м |
Координаты шарнира D | c e | 0.70 м 0,10 м |
Длина шатуна 4 | LED | 0,95 м |
Длина коромысла 5 | LEF | 0.52 м |
Плечо движущей силы подъёмника в край- них положениях механизма | L | 0.18 м |
Сила сопротивления воздуха в выпущенном положении шасси | Pc | 4500 Н |
Приведённый к звену 1 момент сил трения | Мтрпр | 400 Н·м |
Давление в цилиндре 3 гидроподъёмника | р | 52·105 Па |
Отношение, определяющее положение центра масс стойки 1 | lOS1/lOK | 0.45 |
Отношение, определяющее положение центра масс шатуна 4 | lES4/lED | 0.52 |
Вес амортизационной стойки 1 | G1 | 2250 H |
Вес колеса 6 | G6 | 2300 H |
Вес шатуна 4 | G4 | 700 H |
Моменты инерции относительно осей, проходящих через центры мясс звена 1 звена 4 | IS1 IS4 | 91 кг·м2 6,3 кг·м2 |
Угловая координата звена 1 для силового расчёта | f1 | 15° |
Число оборотов электродвигателя | n7 | 3840 об/мин |
Число оборотов кулочка | n16 | 120 об/мин |
Максимально допустимый угол давления в кулачковом механизме | [q] | 28° |
Ход толкателя кулачкового механизма | h | 0.013 м |
Угол рабочего профиля кулачкового механизма | fраб | 360° |
Числа зубьев колёс 8 и 9 | Z8 Z9 | 13 26 |
Модуль зубчатых колёс 8 и 9 | m | 2.5 |
Число сателлитов в планетарном редукторе | k | 3 |
Чертежи
Лист 1 - Определение закона движения ![]()
Лист 2 - Силовой расчет ![]()
Лист 3 - Проектирование зубчатой передачи ![]()
Лист 4 - Проектирование кулачкового механизма ![]()
Характеристики курсовой работы
Учебное заведение
Семестр
Номер задания
Вариант
Программы
Просмотров
674
Качество
Идеальное компьютерное
Размер
1,69 Mb
Преподаватели
Список файлов
Титульный лист. Содержание. Задание.doc
Титульный лист. Содержание. Задание.doc
РПЗ - Маткад (1).mcd
РПЗ - Маткад (2).mcd
РПЗ - Маткад (3).mcd
РПЗ - Маткад (4).mcd
РПЗ - Маткад (5).mcd
Проектирование кулачквого механизма.doc
Заключение.doc
Лист (1).dwg
Лист (2).dwg
Лист (3).dwg
Лист (4).dwg

Вам все понравилось? Получите кэшбэк - 40 рублей на Ваш счёт при покупке. Поставьте оценку и напишите положительный комментарий к купленному файлу. После Вы получите деньги на ваш счет.