Для студентов МГТУ им. Н.Э.Баумана по предмету Теория механизмов и машин (ТММ)Проектирование и исследование механизмов поршневого насоса двойного действияПроектирование и исследование механизмов поршневого насоса двойного действия
5,0055
2013-08-212025-04-07СтудИзба
Курсовая работа 120: Проектирование и исследование механизмов поршневого насоса двойного действия вариант В
-50%
Описание
Проектирование и исследование механизмов поршневого насоса двойного действия
Реферат
Расчетно-пояснительная записка к курсовому проекту «Проектирование и исследование механизмов поршневого насоса двойного действия» содержит: 46 страниц машинописного текста и 16 таблиц.В расчетно-пояснительной записке приведено: проектирование, определение закона движения приведенного звена, кинетостатический силовой расчет основного механизма, проектирование цилиндрической эвольвентной зубчатой передачи, проектирование планетарного редуктора, проектирование кулачкового механизма .
Содержание: | стр. |
1. Техническое задание | 5 |
1.1. Краткое описание работы механизмов поршневого насоса двойного действия | 5 |
1.2. Исходные данные | 6 |
1.3. Содержание курсового проекта | 6 |
2. Проектирование основного рычажного механизма и определение закона движения его начального звена | 7 |
2.1. Проектирование кривошипно–ползунного механизма по средней скорости поршня | 7 |
2.2. Определение кинематических передаточных функций | 10 |
2.3. Построение индикаторной диаграммы давлений | 11 |
2.4. Анализ и расчет активных сил, действуюших на звенья механизма | 11 |
2.5. Выбор механической модели механизма и вывод формул приведения | 13 |
2.6. Построение графика приведенного момента сопротивления и суммарного приведенного момента | 16 |
2.7. Построение графика работы | 18 |
2.8. Построение графиков приведенных моментов инерции звеньев II группы | 18 |
2.9. Построение графика полной кинетической энергии всего механизма | 20 |
2.10. Построения графика кинетической энергии II группы звеньев | 20 |
2.11. Приведение моментов инерции к коленчатому валу I | 20 |
2.12. Расчет суммарного приведенного момента инерции | 21 |
2.13. Построение графика угловой скорости | 21 |
2.14. Построение графика углового ускорения | 23 |
2.15. Построение графика времени | 24 |
3. Силовой расчет основного рычажного механизма | 25 |
3.1. Исходные данные | 25 |
3.2. Построение плана скоростей | 25 |
3.3. Построение плана ускорений | 26 |
3.4. Определение главных векторов и главных моментов сил инерции | 27 |
3.5. Силовой расчет механизма | 28 |
4. Проектирование зубчатой передачи и планетарного механизма | 31 |
4.1. Исходные данные программы | 31 |
4.2. Идентификаторы обозначения и наименования результирующих величин | 31 |
4.3. Расчет зубчатой передачи на ЭВМ | 33 |
4.4. Выбор коэффициентов смещения | 33 |
4.5. Построение профиля зуба колеса, изготовляемого реечным инструментом | 34 |
4.6. Построение и проектирование зубчатой передачи | 35 |
4.7. Проектирование планетарного зубчатого механизма | 36 |
5. Проектирование кулачкового механизма | 38 |
5.1. Исходные данные | 38 |
5.2. Построение кинематических диаграмм методом графического интегрирования | 38 |
5.3. Определение минимального радиуса кулачковой шайбы | 39 |
5.4. Построение профиля кулачка | 40 |
5.5. Построение графика построения угла давления | 40 |
6. Заключение | 41 |
7. Приложение | 43 |
8. Список используемой литературы | 46 |
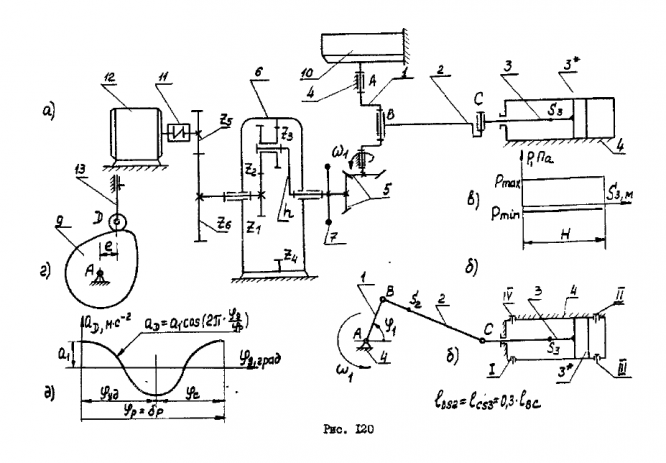
1. Техническое задание
1.1. Краткое описание работы механизмов поршневого насоса двойного действия
Горизонтальный одноцилиндровый поршневой наосос двойного действия, приминяемый в теплоэнергетике, служит для перекачки воды или тепловых нефтепродуктов. Коленчатый вал I насоса приводится в движение от электродвигателя 12 через муфту II, пару зубчатых колес с числами зубьев Z5 и Z6, планетарный редуктор 6 и коническую зубчатую передачу 5 с передаточным отношением, равным единице (рис. 1 а, б). На выходном валу редуктора установлен маховик 7. При вращении кривошипа I через шатун 2 поршневой шток 3 с поршнем 3*, находящимся в цилиндре 4, получает возвратно-поступательное движение.В процессе работы поршневого насоса двойного действия жидкость вытесняется при движении поршня в обе стороны. При ходе поршня вправо клапаны I и П открыты (рис. 1 6). Через клапан I происходит всасывание, а через клапан П- вытеснение жидкости в напорную трубу. В это время клапаны Ш и IV закрыты. При обратном ходе поршня жидкость через клапан Ш поступает в рабочую камеру, а через клапан IV - в напорную трубу. Таким образом, всасывание и нагнетание жидкости происходят при каждом ходе поршня.
Изменение давления Р жидкости в цилиндре от перемещения S3 поршня З* характеризуется индикаторной диаграммой (рис. 1 в).
Смазка элементов кинематических пар механизма поршневого насоса осуществляется под давлением от масляного насоса 10, плунжер (толкатель) 13 которого перемещается от кулачка 9, установленного на коленчатом валу I (рис. 1 а, г). Перемещение толкателя осуществляется по закону ad = a1*cos(2*π* φd / φp) . (рис. 1д).

1.2. Исходные данные
№ п/п | Наименование параметра | Значение |
1 | Средняя скорость поршня | Vcp = 0,55 м/c |
2 | Частота двойных ходов поршня 3 | n1 = 1,5 1/c |
3 | Отношение длины шатуна 2 к длине кривошипа 1 | λ = lBC/lAB = 4,8 |
4 | Длина штока 3 в долях от хода Н | λ3 = l3/H = 1,06 |
5 | Диаметр штока 3 | d'3 = d3 = 0,04 м |
6 | Диаметр цилиндра 4 | d'4 = d4 = 0,08 м |
7 | Давление жидкости в цилиндре: | |
максимальное | Pmax = 8,6*105 Па | |
минимальное | Pmin = - 8,6*104 Па | |
8 | Масса шатуна 2 | m'2 = m2 = 12 кг |
9 | Масса поршня 3 и штока 3* | m'3 = m3 = 8,2 кг |
10 | Момент инерции коленчатого вала | J1A = 0,024 кг*м2 |
11 | Момент инерции шатуна 2 относительно оси, проходящий через его центр масс S2 | J2S = 0,200 кг*м2 |
12 | Момент инерции зубчатых колес передачи и редуктора, приведенный к валу двигателя | J3KПР = 0,021 кг*м2 |
13 | Угловая координата кривошипа (для силового расчета кривошипа) | φ1 = 45 град |
14 | Число зубьев колес зубчатой передачи | |
Z6 = 21 | ||
Z5 =18 | ||
15 | Передаточное отношение планетарного редуктора | U1n = 12 |
16 | Число блоков сателлитов | k = 3 |
17 | Модуль зубчатых колес передачи и редуктора | m = 2,5 мм |
18 | КПД зубчатой передачи | η3n = 0,9 |
19 | КПД редуктора | ηp = 0,95 |
20 | Угол рабочего профиля кулачка | δp = 260 град |
21 | Максимальный ход толкателя | hD = 0,016 м |
22 | Внеосность толкателя | e = 0,010 м |
23 | Допустимый угол давления в кулачковом механизме | [υ] = 35 град |
24 | Номинальная условная скорость | ω1нач = 0 рад/с |
25 | Угол поворота кривошипа | φ1нач = 0 град |
26 | Положение центра масс шатуна | lBS2/lBC = 0,35 |
27 | Положение центра масс штока | lDS3/lCD = 0,5 |
28 | Момент инерции ротора электродвигателя | Jэ/д = 0,0025 кг*м2 |
29 | Момент на валу электродвигателя, приведенный к валу кривошипа | Мд = 325 Н*м |
1.3. Содержание курсового проекта
При выполнении курсового проекта прорабатываются следующие вопросы:- 1. Проектирование основного рычажного механизма и определение закона движения его начального звена:
б) анализ характера изменения внешних сил, действующих на
звенья механизма;
в) выбор динамической модели машины и определение ее параметров - суммарного приведенного момента сия и суммарного приведенного момента инерции;
г) определение закона движения начального звена механизма;
д) уточнение закона движения начального звена с учетом характеристики электродвигателя;
е) определение быстродействия механизма.
- 2. Силовой расчет рычажного механизма:
б) определение главных векторов сил инерции и главных моментов сил инерции;
в) анализ силового нагружения входного, выходного и промежуточных звеньев механизма;
г) определение сил, действующих в кинематических парах механизма;
д) определение неизвестной внешней силы (или момента) и оценка погрешности расчета.
- 3. Проектирование зубчатой передачи и планетарного редуктора
б) расчет геометрических параметров зубчатых колес и передачи;
в) исследование станочного зацепления исходного производящего контура с меньшим зубчатым колесом и профилирование зуба (включая переходную кривую) методом огибания (обкатки);
г) построение схемы зацепления зубчатых колес и обозначение основных элементов колес и передачи;
д) проектирование кинематической схемы зубчатого планетарного механизма (выбор числа зубьев колес) по заданному передаточному отношению с учетом условий соседства сателлитов, соосности входного и выходного валов и возможности сборки механизма в многосателлитном исполнении.
- 4. Проектирование кулачкового механизма:
б) построение графика передаточной функции скорости толкателя и графика перемещения толкателя по заданной форме графика его ускорения;
в) выбор оптимальных размеров кулачкового механизма с учетом допустимых углов давления;
г) построение профиля кулачка; .
д) построение графика углов давления в функции угла поворота кулачка.
Чертежи
Лист 1 - Определение закона движения ![]()
Лист 2 - Силовой расчет ![]()
Лист 3 - Проектирование зубчатой передачи ![]()
Лист 4 - Проектирование кулачкового механизма ![]()
Характеристики курсовой работы
Учебное заведение
Семестр
Номер задания
Вариант
Программы
Просмотров
842
Качество
Идеальное компьютерное
Размер
470,84 Kb
Список файлов
Проектирование и исследование механизмов поршневого насоса двойного действия
Лист (1).cdw
Лист (2).cdw
Лист (3).cdw
Лист (4).cdw
Приложение 1.doc
Приложение 2.doc
РПЗ.doc

Вам все понравилось? Получите кэшбэк - 40 рублей на Ваш счёт при покупке. Поставьте оценку и напишите положительный комментарий к купленному файлу. После Вы получите деньги на ваш счет.