Курсовая работа 61: Проектирование и исследование механизмов моторного привода дорожного велосипеда (мопеда) вариант Б
Описание
1. Техническое задание
1.1. Краткое описание механизмов моторного привода дорожного велосипеда (мопеда)
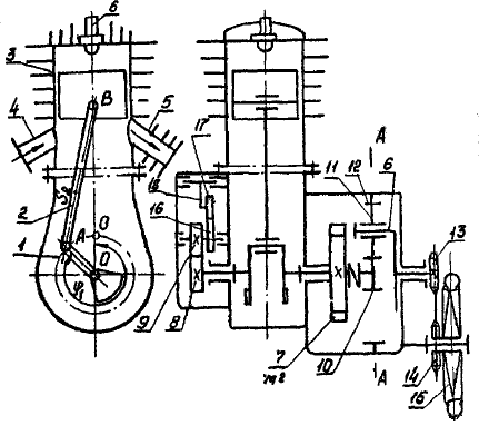
Механизм карбюраторного двухтактного двигателя привода (рис.1.1) состоит из кривошипа 1, шатуна 2 и поршня 3, который движется внутри цилиндра, имеющего наружные ребра для охлаждения. Сжатая смесь в цилиндре в верхней мертвой точке (ВМТ) поджигается электрической искрой от свечи 6. Под действием горячих газов, находящихся под большим давлением, поршень движется вниз; в конце хода поршня открываются выхлопное окно 5, а затем продувочное окно 4; сжатая в карете двигателя рабочая смесь вновь наполняет цилиндр и сжимается при ходе поршня вверх.
Вращение от кривошипа 1 передается маховику 7 с муфтой сцепления и далее планетарному редуктору, состоящему из центрального колеса 10 с наружным зубом, трех сателлитов 11, центрального колеса 12 с внутренним зубом и водила 6. На оси водила установлена ведущая звездочка 13 цепной передачи; ведомая звездочка 14 установлена на ступице заднего колеса 15 велосипеда. От кривошипа приводится через зубчатую передачу (колеса 8 и 9) кулачок 16 с коромысловым толкателем 18 и роликом 17 механизма замыкания контактов цепи зажигания (рис. 1.2).
Исходные данные для проектирования и исследования механизмов двигателя приведены в таблице 1.1. Изменение давления в цилиндре двигателя в зависимости от хода поршня (индикаторная диаграмма) при номинальном режиме показана на рисунке 1.3, построенном по данным из таблицы 1.2. Схема кулачкового механизма – рисунок 1.2, закон изменения движения толкателя – рисунок 1.4.
1.2 Исходные данные
Таблица 1.1.
Исходные данные
№ | Наименование параметров | Обозначение | Размерность | Числовое значение |
1. | Средняя скорость поршня при номинальной нагрузке | Vср | м/с | 6 |
2. | Диаметр цилиндра | d | м | 0,035 |
3. | Отношение длины шатуна к длине кривошипа | lAB/lOA | | 4 |
4. | Отношение расстояния от точки А до центра тяжести шатуна к длине шатуна | lAS/lAB | | 0,24 |
5. | Вес шатуна | G2 | Н | 1,9 |
6. | Вес поршня | G3 | Н | 0,95 |
7. | Момент инерции коленчатого вала (без маховика) | J10 | кг·м2 | 1,6·10-3 |
8. | Момент инерции шатуна относительно оси, проходящей через центр тяжести шатуна | J2S | кг·м2 | 4·10-4 |
9. | Максимальное давление в цилиндре при номинальной нагрузке | Pmax | Па | 27,5·105 |
10. | Эффективная мощность двигателя при номинальной нагрузке | Ne | Вт | 979 |
11. | Механический к.п.д. привода | η | | 0,72 |
12. | Приведенный к кривошипу момент инерции вращающихся деталей привода велосипеда | J10 пр | кг·м2 | 0,08 |
13. | Вес велосипедиста и велосипеда | Gв | Н | 882,9 |
14. | Число оборотов кривошипа при номинальной нагрузке | n1ном | 1/с | 83,3 |
15. | Угловая координата кривошипа для силового расчета | φ1 | град | 60 |
16. | Максимальная скорость велосипеда при диаметре наружной поверхности его колеса 0,686 м (28 дюймов) | Vmax | м/с | 11,1 |
17. | Минимальная скорость, от которой начинается разгон велосипедиста после включения муфты сцепления | Vнач | м/с | 2,8 |
18. | Отношение момента сопротивления (на ведущем колесе велосипеда) в начале разгона к моменту сопротивления при номинальной нагрузке | Mс нач/Mс ном | | 1/4 |
19. | Передаточное отношение цепной передачи | ω13/ω14 | | 2,86 |
20. | Числа зубьев колес цилиндрической прямозубой передачи | z8/z9 | | 15/15 |
21. | Модуль колес цилиндрической прямозубой передачи | m | мм | 1 |
22. | Передаточное отношение планетарного редуктора | i10в=ω10/ωв | | 5,65 |
23. | Ход толкателя в кулачковом механизме прерывателя | h | м | 0,006 |
24. | Максимально допустимый угол давления в кулачковом механизме | αдоп | град | 35 |
25. | Соотношение между ускорениями толкателя | ν=а1/a2 | | 2,3 |
26. | Длина коромысла толкателя | l18 | м | 0,005 |
27. | Угол рабочего профиля кулачка | δраб | град | 110 |
Таблица 1.2.
Данные для построения индикаторной диаграммы
Координата поршня (в долях хода Н) | Н/Нmax | 0 | 0,02 | 0,05 | 0,1 | 0,2 | 0,3 | 0,4 | 0,5 | 0,6 | 0,7 | 0,8 | 0,9 | 1,0 |
Давление газа (в долях Рmax) | Р/Рmax | Для движения поршня вниз | ||||||||||||
0,863 | 1 | 0,863 | 0,602 | 0,340 | 0,238 | 0,170 | 0,129 | 0,10 | 0,070 | 0,05 | 0,02 | 0 | ||
Для движения поршня вверх | ||||||||||||||
0,863 | 0,5 | 0,318 | 0,204 | 0,114 | 0,075 | 0,045 | 0,025 | 0,014 | 0,005 | 0,001 | 0 | 0 |
Рис.1.1 Механизм карбюраторного двухтактного двигателя привода велосипеда
Рис.1.2. Механизм замыкания контактов цепи зажигания
Рис.1.3. Индикаторная диаграмма
Характеристики курсовой работы
Список файлов

Начать зарабатывать
Комментарии
