Курсовая работа 34: Проектирование и исследование механизмов кислородного двухцилиндрового компрессора вариант Б
Описание
Проектирование и исследование механизмов кислородного двухцилиндрового компрессора
Реферат
Расчетно-пояснительная записка к курсовому проекту «Проектирование и исследование механизмов двухцилиндрового кислородного компрессора» содержит 46 листов машинописного текста, рисунков, таблиц. В состав курсового проекта входят: данная расчетно-пояснительная записка и 4 листа формата А1 с необходимыми графическими расчетами и зависимостями.В расчетно-пояснительной записке проведено проектирование механизма двухцилиндрового кислородного компрессора, исследовано его движение и определены управляющие силовые воздействия, проведено проектирование эвольвентной цилиндрической зубчатой передачи, проектирование двухрядного планетарного редуктора смешанного зацепления и проектирование кулачкового механизма.
Содержание
- Реферат…………………………………………………………………………….2
- 1.Техническое задание…………………………………………………………...4
- 2.Проектирование основного механизма и определение закона движения машинного агрегата…………………………………………………………........9
- 2.1.Определение размеров механизма…………………………………….........10
- 2.2. Силы, действующие на звенья механизма………………………………...11
- 2.3. Построение индикаторной диаграммы……………………………….……112.4 Построение графика сил…………………………………………………….12
- 2.5 Выбор динамической модели для расчета…………………………………13
- 2.6. Построение графиков передаточных функций……………………………13
- 2.7. Построение графиков приведенных моментов инерции звеньев II группы………………………………………………………………………….14
- 2.8. Построение графика кинетической энергии II группы звеньев………….15
- 2.9. Построение графика суммарного приведённого момента сил сопротивления……………………………………………………………..15
- 2.10. Построение графика угловой скорости…………………………………..15
- 3. Силовой расчёт механизма…………………………………………………..17
- 3.1 Исходные данные для силового расчёта…………………………………...17
- 3.2. Построение схемы механизма……………………………………………...17
- 3.3. Определение скоростей точек механизма…………………………………17
- 3.4. Определение скоростей точек механизма…………………………………18
- 3.5. Определение главных векторов и главных моментов сил инерции…… .19
- 3.6. Силовой расчет……………………………………………………………...19
- 3.6.1. Звено 5……………………………………………………………………..19
- 3.6.2. Группа звеньев 4-5………………………………………………………...19
- 3.6.3. Звено 3……………………………………………………………………..20
- 3.6.4. Звено 2……………………………………………………………………..21
- 3.6.5. Звено 1……………………………………………………………………..23
- 4. Проектирование зубчатой передачи и планетарного механизма………….25
- 4.1. Геометрические расчеты эвольвентных зубчатых передач внешнего зацепления………………………………………………………………………..25
- 4.2. Программа расчёта параметров цилиндрической эвольвентной зубчатой передачи ………………………………………………………………………....28
- 4.3. Выбор коэффициентов смещения………………………………………….33
- 4.4. Построение профиля зуба колеса, изготовляемого реечным инструментом…………………………………………………………………….35
- 4.5. Построение проектируемой зубчатой передачи…………………………..37
- 4.6. Проектирование планетарного зубчатого механизма………………….....38
- 5. Проектирование кулачкового механизма……………………………………40
- 5.1. Исходные данные…………………………………………………………...40
- 5.2. Построение кинематических диаграмм методом графического интегрирования………………………………………………………………….40
- 5.3. Определение основных размеров кулачкового механизма……………....41
- 5.4. Построение профиля кулачка………………………………………………42
- 5.5. Построение графика углов давления………………………………………43
- Заключение…………………………………………………………….…..…….44
- Список использованной литературы…..………….............................................45
Техническое задание
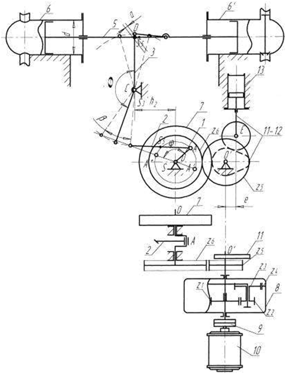
Горизонтальный двухцилиндровый кислородный компрессор простого действия (рис. а) предназначен для наполнения газообразным кислородом снятых с самолета баллонов и парашютных кислородных приборов. Баллоны заряжаются кислородом до необходимого давления Pmax [Па] путем перепуска и последующего перекачивания газа из аэродромных кислородных баллонов.
Основным механизмом компрессора является шестизвенный шарнирно-рычажной механизм. Он состоит из коленчатого вала 1, шатуна 2, углового рычага 3, шатуна-серьги 4, плунжера 5 с двумя поршнями и двух цилиндров 6, 6'. Коленчатый вал 1 приводится в движение асинхронным электродвигателей 10 через упругую муфту 9, планетарный редуктор 8 и зубчатую передачу Z5, Z6. Для обеспечения движения механизма с заданной неравномерностью на коленчатом валу компрессора помещен маховик 7. Смазка механизма осуществляется от масляного насоса, плунжер которого приводится в движение от кулачка 11, закрепленного на валу зубчатого колеса Z5. Схема кулачкового механизма 11-12 масляного насоса 13 представлена на рис. а, закон изменения ускорения плунжера насоса (толкателя -11) - следует выбрать из представленных. Изменение давления по перемещению поршней в цилиндрах 6, 6' компрессора характеризуется индикаторными диаграммами (рис. б), данные для построения которых приведены в табл. 2.

Примечания.
1. Центры тяжести звеньев 2 и 5 принять посредине их длин.
2. Определение размеров lOA, lAB, lBC=lCD, h1 и h3следует произвести по заданным HF, q, b, amax, Kv и h2, полагая, что стержень DC звена 3 в средней позиции занимает вертикальное положение.
Исходные данные
№ | Наименование параметра | Обозначение | Единица СИ | Численные значения для варианта |
Б | ||||
1 | Максимальный ход поршней | HF | м | 0.065 |
2 | Угол качания коромысла | β | град | 30 |
3 | Конструктивный угол | q | град | 160 |
4 | Размер по стойке | h2 | м | 0.120 |
5 | Максимальный угол давления для звеньев 4-5 | amax | град | 6 |
6 | Коэффициент изменения скорости | Kv | ----- | 1 |
7 | Число оборотов вала двигателя | nД | об/c | 48.67 |
8 | Число оборотов вала двигателя | n1 | об/c | 2 |
9 | Максимальное давление в цилиндре | PMAX | МПа | 12 |
10 | Диаметр цилиндра | d | м | 0.08 |
11 | Масса звена 1 | m1 | кг | 0.45 |
12 | Масса звена 2 | m2 | кг | 1.3 |
13 | Масса звена 3 | m3 | кг | 3.0 |
14 | Масса звена 5 | m5 | кг | 5.0 |
15 | Момент инерции звена 1 относительно оси, проходящей через центр масс | J1S | кг*м2 | 0.0015 |
16 | Момент инерции звена 2 относительно оси, проходящей через центр масс | J2S | кг*м2 | 0.15 |
17 | Момент инерции звена 3 относительно оси, проходящей через центр масс | J3S | кг*м2 | 0.65 |
18 | Маховой момент ротора э.д. | GD2 рот. | кг*м2 | 0.27 |
19 | Маховой момент планетарного редуктора относительно оси колеса (Z5) | GD2 ред. | кг*м2 | 0.10 |
20 | Коэффициент неравномерности вращения коленчатого вала | d | ----- | 1/18 |
21 | Угловая координата коленчатого вала для силового расчета | j1 | град | 120 |
22 | Угол рабочего профиля кулачка | dраб. | град | 160 |
23 | Ход плунжера насоса (толкателя кулачкового механизма) | hE | м | 0.04 |
24 | Максимально допустимый угол давления в кулачковом механизме | Uдоп. | град | 25 |
25 | Отношение величин ускорений толкателя | а1/a2 | ----- | 2 |
26 | Число зубьев | Z5 | ----- | 11 |
27 | Число зубьев | Z6 | ----- | 20 |
28 | Модуль зубчатых колес Z5, Z6 | m | м | 6 |
29 | Число сателлитов в планетарном редукторе | K | ----- | 3 |
Значения давления в цилиндре детандера в долях максимального давления в зависимости от положения поршня для цикла 6 | ||||||||||||||||||||||||
Путь поршня (в долях хода H) | SF/HF | 0 | 0,1 | 0,2 | 0,3 | 0,4 | 0,5 | 0,6 | 0,7 | 0,8 | 0,9 | 1,0 | ||||||||||||
Давление воздуха (в долях PMAX) | P/ PMAX | для хода поршня вправо | ||||||||||||||||||||||
1,00 | 0,50 | 0,28 | 0,20 | 0,20 | 0,20 | 0,20 | 0,20 | 0,20 | 0,20 | 0,20 | ||||||||||||||
для хода поршня влево | ||||||||||||||||||||||||
1,00 | 1,00 | 1,00 | 0,74 | 0,57 | 0,46 | 0,38 | 0,32 | 0,27 | 0,23 | 0,20 |
Значения давления в цилиндре детандера в долях максимального давления в зависимости от положения поршня для цикла 6’ | ||||||||||||||||||||||||
Путь поршня (в долях хода H) | SF/HF | 0 | 0,1 | 0,2 | 0,3 | 0,4 | 0,5 | 0,6 | 0,7 | 0,8 | 0,9 | 1,0 | ||||||||||||
Давление воздуха (в долях PMAX) | P/ PMAX | для хода поршня вправо | ||||||||||||||||||||||
0.20 | 0.20 | 0.20 | 0.20 | 0.20 | 0.20 | 0.20 | 0.20 | 0.20 | 0,50 | 1.00 | ||||||||||||||
для хода поршня влево | ||||||||||||||||||||||||
0.20 | 0.23 | 0,27 | 0,32 | 0,38 | 0,46 | 0,57 | 0,10 | 0,74 | 1,00 | 1,00 |
Чертежи
Лист 1 - Определение закона движения ![]()
Лист 2 - Силовой расчет ![]()
Лист 3 - Проектирование зубчатой передачи ![]()
Лист 4 - Проектирование кулачкового механизма ![]()
Характеристики курсовой работы
Список файлов
