Для студентов МГТУ им. Н.Э.Баумана по предмету Теория механизмов и машин (ТММ)Проектирование и исследование механизмов движения автомобиляПроектирование и исследование механизмов движения автомобиля
5,0052
2013-08-212025-04-07СтудИзба
Курсовая работа 19: Проектирование и исследование механизмов движения автомобиля вариант Г
-50%
Описание
Проектирование и исследование механизмов движения автомобиля
Реферат
Расчетно-пояснительная записка к курсовому проекту “Проектирование и исследование механизмов движения автомобиля” содержит 36 листов машинописного текста, рисунков, таблиц. В состав курсового проекта входят: данная расчетно-пояснительная записка и 4 листа формата А1 с необходимыми графическими расчетами и зависимостями.В расчетно-пояснительной записке проведено проектирование механизма движения автомобиля, определены управляющие силовые воздействия, проведено проектирование эвольвентной цилиндрической зубчатой передачи, проектирование однорядного планетарного редуктора и проектирование кулачкового механизма.
Содержание
- Техническое задание на проектирование и исследование механизмов движения автомобиля…..………………….……. .......1
- Исходные данные……………………………………………………….……..……4
- 1.Проектирование кривошипно-ползунного механизма..........................................8
- 1.1 Определение размеров механизма.............………………………………...........8
- 1.2 Силы действующие на звенья механизма………………….……..…………... 8
- 1.3 Построение индикаторной диаграммы и графика усилий…………………… 8
- 1.4Построение планов возможных скоростей………………….…………………..9
- 1.5 Построение графиков приведенных моментов………………….…………….. 9
- 1.6 Построение графиков суммарного приведенного момента ………………….10
- 1.7. Построение графика суммарной работы…………………………..…………..10
- 1.8 Построение графиков приведенных моментов инерции звеньев II группы....10
- 1.9 Построение графика кинетической энергии II группы звеньев.……………..11
- 1.10 Построение графика кинетической энергии I группы звеньев...……………11
- 1.11 Определение необходимого момента инерции маховых масс........................12
- 1.12 Построение графика (приближенного) угловой скорости...............................12
- 2. Силовой расчет механизма ……..……………………………...............................13
- 2.1 Определение .............................................................................................13
- 2.2 Исходные данные ....................................……………………..…………………14
- 2.3 Построение механизма.............................. ..……………………………………..14
- 2.4 Определение скоростей точек механизма ………………………………………14
- 2.5 Определение ускорений точек механизма..………………………..…..……….15
- 2.6 Определение значений и направлений главных векторов и главных моментов сил инерции……..............................................................……………….………..……….17
- 2.7 Силовой расчёт.....................................................………………….…….…..…..18
- 3. Проектирование кулачкового механизма…………….…………………………..22
- 3.1 Построение кинематических диаграмм методом графического интегрирования…………………………………………………..………………….......................22
- 3.2 Определение основных размеров механизма…………..……………………....24
- 3.3 Построение профиля кулачка………….........................................................…..24
- 4.Проектирование зубчатой передачи и планетарного механизма...…………….....26
- 4.1 Исходные данные программы........................................................................................26
- 4.2 Идентификаторы, обозначения и наименования результирующих величин ...27
- 4.3 Расчет зубчатой передачи на ЭВМ………………………………………………28
- 4.4 Выбор коэффициента смещения ....................................................………..…….29
- 4.5 Построение профиля зуба колеса, изготовляемого реечным инструментом.…………………………........................................................................30
- 4.6 Построение проектируемой зубчатой передачи.…………………...…………...32
- 4.7 Проектирование планетарного редуктора……………..………………….…….33
- Приложение №1..............................................................................................................34
- Приложение №2..............................................................................................................35
- Заключение……………………………………………………………..………………35
- Список используемой литературы……………………………………..……………..36
Техническое задание
Краткое описание работы механизмов автомобиля
Двухосный грузовой автомобиль средней грузоподъемности приводится в движение двигателем внутреннего сгорания мощностью в 60-70 л.с. и может развивать скорость до 120 км/час.Колесный ход автомобиля (рис 1) состоит из силовой установки (двигатель 1 с маховиком) и трансмиссии, включающей муфту сцепления, коробку передач 2, карданный вал 3 с дифференциалом в ведущие колеса 4.

Различают два режима работы двигателя: 1) при холостом ходе, когда муфта сцепления выключена, и 2) при движении автомобиля (номинальный режим), когда муфта сцепления соединяет коленчатый вал с остальными механизмами автомобиля. Рабочий цикл в каждом цилиндре двигателя совершается за 2 оборота коленчатого вала и характеризуется индикаторной диаграммой, показывающей изменение давления газов в каждом цилиндре двигателя (рис 2). Сплошной линией очерчена индикаторная диаграмма номинального режима, пунктирно-индикаторная диаграмма холостого хода.

Данные для построения индикаторных диаграмм приведены в табл. 2.
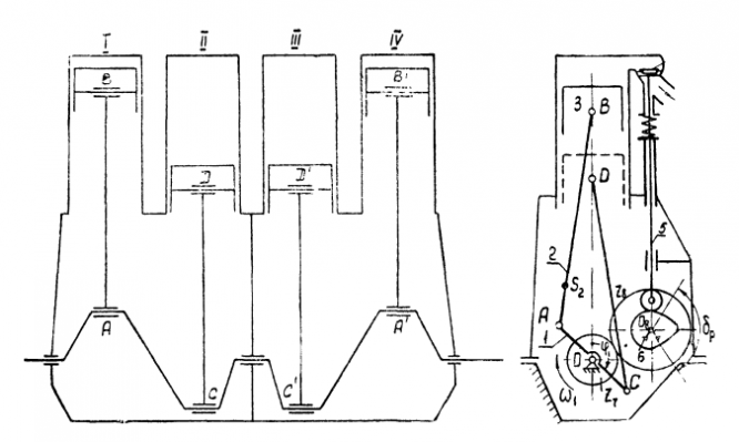
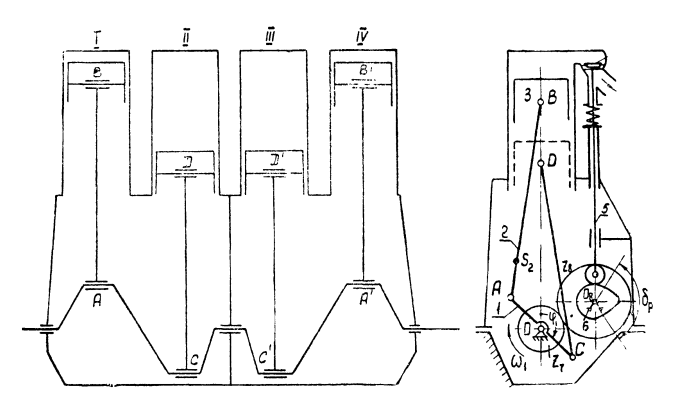
Основной механизм двигателя состоит из четырех одинаковых кривошипно-ползунных механизмов 1,2,3,4 расположенных в параллельных плоскостях 1,2,3,4, кривошипы которых размещены на одном коленчатом валу со сдвигом в 180 град (рис 3).
Порядок работы механизмов и чередование процессов в цилиндрах двигателя следующие:
Угол поворота коленчатого вала | 1 механизм | 2 механизм | 3 механизм | 4 механизм |
0-180 | Расширение | Сжатие | Выпуск | Всасывание |
180-360 | Выпуск | Расширение | Всасывание | Сжатие |
360-540 | Всасывание | Выпуск | Сжатие | Расширение |
540-720 | Сжатие | Всасывание | Расширение | Выпуск |

Управление газораспределением осуществляется клапанами 4, которые приводятся в движение кулачковыми механизмами (рис. 3). Кулачки 6 закреплены на валу, который кинематически связан с коленчатым валом через зубчатую передачу z8, z7. Толкатель 5 двигается поступательно, и ускорение его изменяется по закону, представленному на рис. 4. Работа клапанов строго увязана по фазам с вращением коленчатого вала, угловая скорость которого в два раза больше угловой скорости кулачкового вала. Вентилятор охлаждающего устройства приводится в движение от коленчатого вала двигателя через зубчатый механизм (рис. 5), состоящий из передачи z1, z2 с неподвижными осями и планетарного редуктора z3, z4, z5. При проектировании и исследовании механизмов автомобиля считать известными параметры, приведенные в табл.1.


Исходные данные
Таблица 1Наименование параметра | Обозначение | Размерность | Числовые Значения |
1. Средняя скорость поршня при номинальной нагрузке | V ср | м/сек | 8,80 |
2. Диаметр цилиндров | d | м | 0,098 |
3. Отношение длины шатуна к длине кривошипа | Lab/Loa;Lcd/Loc | - | 4,0 |
4. Отношение расстояния от точки А до центра тяжести шатуна к длине шатуна | Las2/Lab | - | 0,282 |
5. Вес шатуна | G2 | Кг | 1,20 |
6. Вес поршня | G3 | Кг | 1,05 |
7. Момент инерции коленчатого вала (без маховика) | I’10 | Кг | 0,0363 |
8. Момент инерции шатуна относительно оси S2, проходящей через центр тяжести шатуна | | Кг | 0,0128 |
9. Максимальное давление в цилиндре при номинальной нагрузке | (Pmax)ном | МПа | 5,780 |
10. Эффективная мощность двигателя при номинальной нагрузке | Ne ном | Вт | 44160 |
11. Механический к.п.д. двигателя | t1 | - | 0,815 |
12. Приведенный к валу двигателя момент инерции вращающихся деталей привода автомобиля | | Кг | 6,6708 |
13. Число оборотов коленчатого вала при режиме холостого хода | | 1/с | 15 |
14. Число оборотов коленчатого вала двигателя при номинальной нагрузке | | 1/с | 36,67 |
15. Коэффициент неравномерности вращения коленчатого вала | | - | 1/22 |
16. Угловая координата кривошипа для силового расчета | | град | 210 |
17. Ход толкателя в кулачковом приводе клапанов | h | м | 0,0085 |
18. Максимально допустимый угол в кулачковом механизме | | град | 29 |
19. Соотношения между ускорениями толкателя (рис 4) | =/ | - | 3,1 |
20. Передаточное отношение колес 1 и 2 | | - | 1,53 |
21. Модуль зубчатых колес 1 и 2 | | м | 0,0035 |
22. Число зубьев колеса 1 | | - | 15 |
23. Угол наклона зуба для колес 1 и 2 | | град | 15 |
24. Рабочий угол профиля кулачка | | град | 110 |
25. Радиус ролика | | М | 0,01 |
26. Число оборотов вала вентилятора | | 1/с | 7,067 |
27. Число сателлитов в планетарном редукторе | К | - | 4 |
28. Параметры исходного контура реечного инструмента | | град - - | 20 1 0,25 |
Значения давления в цилиндре двигателя в долях максимального давления в зависимости от положения поршня.
Режим работы | Путь поршня (в долях хода H) | /H | 0 | 0,025 | 0,05 | 0,1 | 0,2 | 0,3 | 0,4 | 0,5 | 0,6 | 0,7 | 0,8 | 0,9 | 1,0 |
Номинал- ный при | Расширение | p/ | 0,69 | 1,0 | 0,509 | 0,328 | 0,214 | 0,148 | 0,100 | 0,079 | 0,069 | 0,062 | 0,043 | -0,040 | |
Выпуск | +0,013 | ||||||||||||||
Всасывание | -0,013 | ||||||||||||||
Сжатие | 0,626 | - | 0,360 | 0,260 | 0,130 | 0,061 | 0,024 | 0,013 | +0,009 | -0,002 | -0,008 | 0,010 | -0,013 | ||
Холостой ход при | Расширение | p/ | 0,630 | 0,692 | 0,560 | 0,475 | 0,202 | 0,147 | 0,086 | 0,056 | 0,050 | 0,039 | 0,035 | 0,030 | 0,027 |
Выпуск | +0,012 | ||||||||||||||
Всасывание | -0,013 | ||||||||||||||
Сжатие | 0,630 | 0,424 | 0,390 | 0,268 | 0,120 | 0,060 | 0,024 | 0,011 | 0,008 | -0,002 | -0,008 | -0,010 | -0,013 |
Чертежи
Лист 1 - Определение закона движения механизма ![]()
Лист 2 - Силовой расчет ![]()
Лист 3 - Проектирование зубчатой передачи и планетарного редуктора ![]()
Лист 4 - Проектирование кулачкового механизма ![]()
Характеристики курсовой работы
Учебное заведение
Семестр
Номер задания
Вариант
Программы
Просмотров
1336
Качество
Идеальное компьютерное
Размер
2,85 Mb
Список файлов
Титульный лист.doc
Реферат и содержание.doc
РПЗ.doc
Лист 1.dwg
Лист 2.dwg
Лист 3.dwg
Лист 4.dwg

Вам все понравилось? Получите кэшбэк - 40 рублей на Ваш счёт при покупке. Поставьте оценку и напишите положительный комментарий к купленному файлу. После Вы получите деньги на ваш счет.