Курсовая работа 14: Проектирование и исследование механизмов четырехтактного двигателя внутреннего сгорания вариант Г
Описание
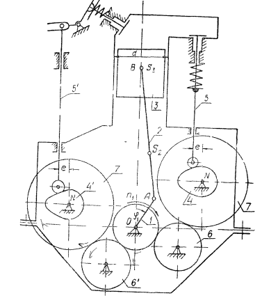
Исходные данные.
Таблица 1.1.
№ | Параметр | Обозначение | Ед.измерения | Значение |
1 | Средняя скорость поршня | (Vв)ср | м/с | 3,7 |
2 | Диаметр цилиндра | d | м | 0,15 |
3 | Отношение длины шатуна к длине кривошипа |
lAB / lOA |
- |
4 |
4 | Отношение расстояния от точки А до центра тяжести шатуна к длине шатуна |
lAS2/lAB | - |
0,38 |
5 | Число оборотов коленчатого вала | n1
| с-1
| 13
|
6 | Коэффициент неравномерности вращения коленчатого вала |
i |
- |
1/100 |
7 | Вес шатуна | G2 | Н | 108 |
8 | Вес поршня | G3 | Н | 176 |
9 | Момент инерции шатуна относительно оси, проходящей через его центр тяжести |
I2s |
Кг м2
|
0,4 |
10 | Максимальное давление в цилиндре двигателя | Pmax | Па | 29 105 |
11 | Момент инерции вращающихся звеньев, приведенных к валу кривошипа. |
IПРАР
| Кг м2
|
5 |
12 | Угловая координата кривошипа для углового расчета (рис.1) | j0 | град |
60 |
13 | Закон изменения ускорения толкателя (рис2б)
|
- | - |
Б |
14 | Величина подъема толкателя впускного клапана |
h | м |
0,007 |
15 | Рабочий угол профиля кулачка впускного клапана |
dраб
| град |
125 |
16 | Угол поворота кулачка, соответствующий дальнему стоянию толкателя |
jвыст | град | 5 |
17 | Максимально допустимый угол давления в кулачковом механизме | [υ] | град | 30 |
18 | Внеосность толкателя кулачкового механизма | e | м | 0,004 |
19 | Числа зубьев колес 6 и 7 (рис.1) | Z6 Z7 | - - | 13 26 |
20 | Модуль зубчатых колес 6 и 7 (рис.1) | m | мм | 5 |
21 |
Угол наклона зуба для колес 6 и 7 |
|
град |
15 |
22 | Параметры исходного контура реечного инструмента |
|
град - - |
20 1 0,25 |
МГТУ им. Н.Э.Баумана



















