Для студентов МГТУ им. Н.Э.Баумана по предмету Теория механизмов и машин (ТММ)Проектирование и исследование механизмов поршневой компрессорной машиныПроектирование и исследование механизмов поршневой компрессорной машины
4,96529528
2021-02-282025-04-07СтудИзба
Курсовая работа 127: Проектирование и исследование механизмов поршневой компрессорной машины вариант ВУ15
-50%
Описание
Проектирование и исследование механизмов поршневой компрессорной машины
Реферат
Расчетно-пояснительная записка к курсовому проекту ’’Проектирование и исследование механизмов поршневой компрессорной машины’’ содержит 44 страницы машинописного текста 9 рисунков и 8 таблиц.В расчетно-пояснительной записке приведено: проектирование основного механизма поршневой компрессорной машины, определение закона движения звена приведения, кинето-статический силовой расчет основного рычажного механизма, проектирование цилиндрической эвольвентной зубчатой передачи, проектирование однорядного планетарного механизма, проектирование кулачкового механизма с силовым замыканием высшей пары.
В конце имеются распечатки программных приложений ZUB и DIADA.
Содержание
- 1. Техническое задание 5
- 1.1. Краткое описание работы механизма -
- 1.2. Исходные данные 12
- 2. Проектирование основного рычажного механизма и определение закона движения его начального звена 13
- 2.1. Определение необходимых данных к проектированию кинематической схемы кривошипно-ползунного механизма -
- 2.2. Определение требуемых передаточных функций скоростей 15
- 2.3. Построение индикаторной диаграммы и графиков сил , действующих на поршни -
- 2.4. Построение графиков приведенных моментов , , и графика суммарного приведенного момента 17
- 2.5. Построение графика суммарной работы 18
- 2.6. Построение графиков переменных приведенных моментов инерции II группы звеньев и графика их суммы -
- 2.7. Переход от графика к графику кинетической энергии всего механизма 20
- 2.8. Переход от графика к приближенному графику кинетической энергии этой же группы звеньев -
- 2.9. Построение графика кинетической энергии I группы звеньев -
- 2.10. Определение необходимого момента инерции маховых масс . -
- 2.11. Переход от графика к приближенному графику угловой скорости начального звена 21
- 2.12. Данные к силовому расчёту -
- 3. Силовой расчет основного рычажного механизма -
- 3.1. Исходные данные -
- 3.2. Построение схемы механизма 22
- 3.3. Определение скоростей точек механизма -
- 3.4. Определение ускорений точек механизма -
- 3.5. Определение главных векторов и главных моментов сил инерции 23
- 3.6. Силовой расчет 24
- 4. Проектирование зубчатой передачи 26
- 4.1. Исходные данные -
- 4.2. Последовательность расчета зубчатой передачи -
- 4.3. Качественные показатели работы зубчатой передачи 28
- 4.4. Выбор коэффициента смещения x с учетом качественных показателей работы зубчатой передачи -
- 4.5. Построение профиля зуба колеса, изготовляемого реечным инструментом 29
- 4.6. Построение проектируемой зубчатой передачи 31
- 5. Проектирование планетарного редуктора 34
- 5.1. Исходные данные -
- 5.2. Условия, которым должны удовлетворять числа зубьев колес редуктора -
- 5.3. Выбор числа зубьев -
- 5.4. Графическая проверка передаточного отношения редуктора 35
- 6. Проектирование кулачкового механизма -
- 6.1. Исходные данные -
- 6.2. Построение кинематических диаграмм и расчет масштабов построения 36
- 6.3. Построение диаграммы 37
- 6.4. Построение области допустимого расположения центра вращения кулачка -
- 6.5. Выбор положения центра вращения кулачка и определение основных размеров кулачкового механизма 38
- 6.6. Построение центрового и конструктивного профилей кулачка и кинематической схемы кулачкового механизма -
- 6.7. Построение графика изменения углов давления -
- 6.8. Приложения программ ZUB и DIADA 39
- 7. Список литературы 42
1. Техническое задание
Краткое описание работы механизмов.
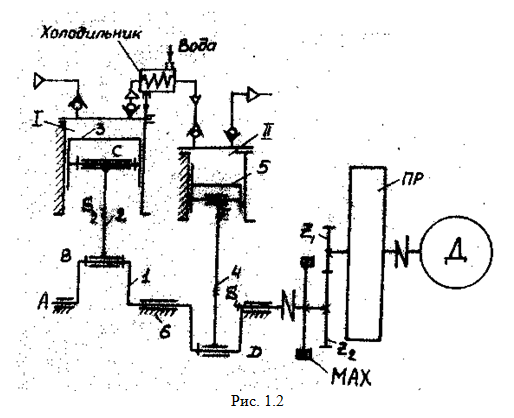
Компрессорная машина – совокупность компрессора, привода и вспомогательного оборудования. Компрессор объемный – машина для повышения давления и перемешивания газа, в которой процесс сжатия происходит в результате периодического изменения геометрических размеров рабочего пространства, занимаемого газом. В поршневом компрессоре сжатие газа осуществляется за счет возвратно-поступательного перемещения поршня в цилиндре компрессора. Это перемещение поршня обеспечивается кривошипно-ползунным, кулисным или кулачковым механизмами. Если требуемое давление газа нельзя получить в одном цилиндре, то применяют многоступенчатые машины, в которых газ последовательно проходит через несколько цилиндров и межступенчатых охладителей (холодильников).На рис. 1.1 приведена схема трехступенчатой компрессорной машины. Диаметры D, D, D цилиндров при одинаковой длине H хода поршней связаны между собой зависимостями, вытекающими из уравнений состояния газа.







Оптимальное
конечное
давление по
критерию
полезного
действия,
МПа . . . . . . . 0,3 1,0 2,0 6,0 20 30 60
Интервал
давлений,
МПа . . . . . . . 0,1-0,7 0,5-3,0 1,3-15 3,5-40 15-100 20-130 45-150
Число сту-
пеней сжа-
тия . . . . . . . . 1 2 3 4 5 6 7
Изменение параметров сжимаемого газа в каждой ступени представлено на индикаторной диаграмме в координатах давление – перемещение поршня в цилиндре (рис. 1.6 и 1.7) в зависимости от степени повышения давления газа e, давления всасывания и изменения объема газа в холодильнике (рис. 1.5).

Структурную схему планетарного редуктора выбирают по таблице в соответствии с требуемым передаточным отношением.
Система смазки. Крупные компрессорные машины снабжены системами смазки механизмов привода (подшипников, зубчатых колес, соединительных зубчатых муфт) и деталей цилиндропоршневой группы. Предусмотрены два маслонасоса: рабочий (соединен муфтой с валом компрессора) и резервный (с отдельным приводом). В крейцкопфных компрессорах применяют механизмы привода, смазываемые индустриальными маслами, а для цилиндропоршневой группы используют компрессорные масла с необходимой дифференциацией по вязкости, температуре начала окисления и самовоспламенения и нагарообразующей способности.
Радиально-поршневые насосы (РПН) используют для смазки цилиндров. Для маслонасосов (лубрикаторов) используют либо отдельный электромеханический привод, либо привод коренного вала или крейцкопфа (рис. 1.8).

1.2. Исходные данные
Исходные данные воздушного V-образного поршневого компрессора (рис. 1.4б) приведены в таблице 1.1.Таблица 1.1.
1 | Шифр задания | ВУ15 |
2 | Объемная подача V, м/мин | 3,0 |
3 | Средняя скорость поршня v, м/с | 3,8 |
4 | Давление нагнетания P, МПа | 0,9 |
5 | Отношение хода поршня к его диаметру H/D | 0,70 |
6 | Относительная длина шатуна l = l/l | 3,8 |
7 | Коэффициент неравномерности движения d | 0,028 |
8 | Число ступеней z | 2 |
Чертежи
Лист 1 - Определение закона движения ![]()
Лист 2 - Силовой расчет ![]()
Лист 3 - Проектирование зубчатой передачи ![]()
Лист 4 - Проектирование кулачкового механизма
Характеристики курсовой работы
Учебное заведение
Семестр
Номер задания
Вариант
Просмотров
49
Качество
Идеальное компьютерное
Размер
1,84 Mb
Список файлов
РПЗ.doc
Моменты.xls
DIADA.txt
Лист (1).dwg
Лист (2).dwg
Лист (3).dwg
Лист (4).dwg

Вам все понравилось? Получите кэшбэк - 40 рублей на Ваш счёт при покупке. Поставьте оценку и напишите положительный комментарий к купленному файлу. После Вы получите деньги на ваш счет.