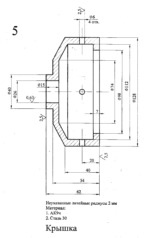
Для студентов МГТУ им. Н.Э.Баумана по предмету Технология конструкционных материалов (ТКМ)Разработка технологии изготовления отливок - КрышкаРазработка технологии изготовления отливок - Крышка
5,00514
2015-11-102024-09-01СтудИзба
ДЗ 1: Разработка технологии изготовления отливок - Крышка вариант 5
-51%
Описание
- Анализ чертежа детали
- Выбор метода и способа изготовления заготовки
- Разработка чертежа элементов литейной формы. Уточнение чертежа детали
- Выбор расположения модели и отливки в литейной форме
- Расчет припусков на механическую обработку
- Выбор величины формовочных уклонов и радиусов скругления
- Радиусы скругления пересекающихся поверхностей приняты равными 2 мм.
Чертежи
- Исходная деталь
- Отливка
- Литейная форма
Характеристики домашнего задания
Учебное заведение
Номер задания
Вариант
Программы
Просмотров
1532
Качество
Идеальное компьютерное
Размер
103,29 Kb
Список файлов
Литье
._литьё. 1-едз..doc
ДЗ.doc
Деталь.cdw
Отливка.cdw
Песчаная форма.cdw

Вам все понравилось? Получите кэшбэк - 40 рублей на Ваш счёт при покупке. Поставьте оценку и напишите положительный комментарий к купленному файлу. После Вы получите деньги на ваш счет.