Главная » Учебные материалы » Теория механизмов и машин (ТММ) » Курсовые работы » МГТУ им. Н.Э.Баумана » 5 семестр » Номер 13 » Вариант А » Проектирование и исследование механизмов дизель-воздуходувной установки
Для студентов МГТУ им. Н.Э.Баумана по предмету Теория механизмов и машин (ТММ)Проектирование и исследование механизмов дизель-воздуходувной установкиПроектирование и исследование механизмов дизель-воздуходувной установки
5,00511
2025-04-07СтудИзба

Курсовая работа 13: Проектирование и исследование механизмов дизель-воздуходувной установки вариант А

-50%

Описание

Исследование механизмов дизель-воздуходувной установки

Аннотация

В данном проекте проводится исследование механизмов дизель-воздуходувной установки, в состав которой входят: дизельный двигатель, планетарный редуктор, центробежная воздуходувка.
Процесс проектирования разделяется на четыре основных этапа:
1). Определение и исследование закона движения двигателя дизель-воздуходувной установки;
2). Силовой расчет механизма двигателя дизель-воздуходувной установки;
3). Проектирование кулачкового механизма привода выхлопного клапана двигателя дизель-воздуходувной установки;
4). Проектирование стартерной зубчатой передачи, от которой производится запуск двигателя, и планетарного повышающего редуктора.
При выполнении проекта разрабатывается расчетно-пояснительная записка. Для каждого этапа проектирования в расчетно-пояснительной записке приведены соответствующие расчеты и пояснения. Для более наглядного представления полученных результатов на каждом этапе проектирования выполняется графическая работа, представленная на отдельных листах.
После выполнения основных этапов проектирования подводится итог о проделанной работе, полученные выводы представляются в Заключении.
Расчеты, выполненные с помощью электронно-вычислительн-ой техники, приведены в Приложении.

Содержание

  • Аннотация…………………………………………………………………………1
  • Содержание………………………………………………………………………..2
  • 1.Техническое задание…………………………………………………………....5
  • 1.1.Полное наименование разработки…………………………………….…......5
  • 1.2.Функциональное назначение разработки……………………………………5
  • 1.3.Эксплуатационное назначение разработки………………………………….9
  • 1.4. Исходные данные…………………………………………………………...10
  • 2. Определение и исследование закона движения двигателя дизель-воздуходувной установки ……………………………………………………...13
  • 2.1. Алгоритм определения закона движения двигателя……………………...13
  • 2.2. Определение линейных размеров звеньев механизма двигателя…..........13
  • 2.3. Построение кинематической схемы механизма………...………………...15
  • 2.4. Вычисление передаточных функций и передаточных отношений звеньев механизма двигателя………………………………...…………………………..15
  • 2.5. Построение индикаторной диаграммы………………………..…………...17
  • 2.6. Приведение сил……………………………………………..…………….…19
  • 2.7. Определение суммарной работы………………………..……………….…20
  • 2.8. Построение приближенного графика кинетической энергии для второй группы звеньев механизма….…………………………………………..…....…20
  • 2.9 Построение графика изменения кинетической энергии первой группы звеньев……………………………………………………………………………20
  • 2.10. Построение графика угловой скорости коленчатого вала……...……….20
  • 2.1 1.Определение коэффициента неравномерности…………………...……..21
  • 2.12. Нахождение углового ускорения коленчатого вала……………………..21
  • 3. Силовой расчет механизма двигателя дизель-воздуходувной установки...22
  • 3.1. Алгоритм выполнения силового расчёта…………………………...……..23
  • 3.2. Определение линейных и угловых ускорений центров масс звеньев механизма……………………………………………………...…………………24
  • 3.2.1 Структурный анализ механизма двигателя………………………………24
  • 3.4. Составление и решение уравнений кинетостатики для звеньев двигателя………………………………………………………………...…...…..25
  • 3.4.1 Определение инерционных характеристик звеньев……………….…….25
  • 3.4.2 Определение внешних сил, действующих на звенья……………..……..26
  • 3.4.2 Составление уравнений кинетостатики для звеньев механизма……….26
  • 3.5. Вычисление погрешностей и сравнение результатов с полученными ранее………………………………………………………………………………29
  • 4. Проектирование цилиндрической эвольвентной зубчатой передачи и планетарного редуктора………………………………………………..………..30
  • 4.1. Проектирование зубчатой передачи……………………………….………30
  • 4.1.1. Исходные данные для проектирования………………………….………30
  • 4.1.2. Геометрический расчета зацепления…………………………….………30
  • 4.1.3.Выбор коэффициентов смещения. ………………………………………33
  • 4.2.1.Проектирование планетарного редуктора………………………………34
  • 4.3.1. Исходные данные…………………………………..……………………..34
  • 4.3.2. Условия подбора чисел зубьев ………………………….……………….35
  • 4.3.3 Подбор чисел зубьев………………………………………………………36
  • 5. Проектирование кулачкового механизма…………………………………...37
  • 5.1. Исходные данные для проектирования…………………………………....37
  • 5.2. Построение кинематических диаграмм движения толкателя……………………………………………………………………...….38
  • 5.3. Определение основных размеров механизма. ………………………..…..38
  • 5.4. Построение профиля кулачка…………………………...………………….39
  • 5.5 Построение диаграммы углов давления……………………………………39
  • Заключение……………………………………………………………………….41
  • Список использованных источников…………………………………….……..42
  • Приложения:
  • П1…………………………………………………………………………………43
  • П2…………………………………………………………………………………47
  • П3…………………………………………………………………………..……..49
  • П4………………………………………………………………………..………..50

1. Техническое задание

1.1. Полное наименование разработки.
Полное наименование – дизель-воздуходувная установка.

1.2. Функциональное назначение разработки.
Дизель-воздуходувная установка превращает химическую энергии дизельного топлива в потенциальную энергию давления и кинетическую энергию воздуха на выходе из воздуходувки.
Установка состоит и следующих основных частей: дизельный двигатель, повышающий редуктор (мультипликатор), центробежная воздуходувка (рис.1.1).

Рис.1.1. Общая схема установки.
Двигатель дизеля - двухтактный, двухцилиндровый, V-образный, отдает всю свою кинетическую энергию через планетар­ный повышающий редуктор (мультипликатор) центробежной воздуходувке.
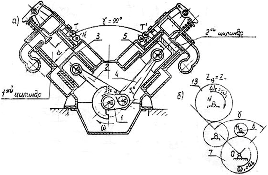
Рис.1.2. а) Поперечный разрез двигателя. б) Зубчатая передача между коленчатым валом О, кулачковым валом N и валом M стартера.
Кривошипно-ползунные механизмы 1, 2, 3 и 1, 4, 5 обоих цилиндров двигателя одинаковые (рис. 1.2); рабочие процессы, протекающие в цилиндрах, также одинаковые. Поршни 1-го и 2-го цилиндров связаны через свои шатуны с коленчатым валом, который вращается по часовой стрелке. Поэтому, когда поршень 1-го цилиндра проходит верхнее мертвое положение, поршень 2-го цилиндра не достигает своего верхнего мертвого положения и проходит его после того, как коленчатый вал повернется на 90°.
Отсюда следует, что кинематический и рабочий процессы, протекающие во 2-м цилиндре, отстают от процессов, проте­кающих в 1-м цилиндре, на 90°. Продолжительность цикла работы двухтактного двигателя составляет 360°.
Изменение давления газа на поршень в процессе его движения пред­ставлено индикаторной диаграммой (рис.1.3).
Рис.1.3. Индикаторная диаграмма двигателя.
Момент сопротивления воздуходувки и момент собствен­ных потерь двигателя не зависят от угла поворота вала.
Очистка рабочих цилиндров двигателя от продуктов сгорания производится через выхлопные клапаны, которые по­средством рычажных механизмов (рис. 1.2. а) принудительно открываются кулачками по заданному закону (рис. 1.4.а). Кулачковый вал, кинематически связанный с коленчатым валом (рис. 1.2.б), должен вращаться в двухтактном дви­гателе с той же угловой скоростью, что и коленчатый вал. Выхлопной клапан начинает открываться, когда коленчатый вал не дошел до нижней мертвой точки на угол , и оконча­тельно закрывается, когда коленчатый вал повернулся после нижней мертвой точки на угол (рис. 1.4 б). Таким образом, работа клапанов строго связана по фазам с вращением коленчатою вала, а, следовательно, и с движе­нием поршня.
Рис. 1.4. а) Закон изменения ускорения толкателя выхлопного клапана.
б) Циклограмма фаз работы выхлопного клапана (показана для первого цилиндра).
Запуск двигателя производится от электростартера (рис. 1.1, 1.2б), раскручивающего коленчатый вал до необходимой угловой скорости через зубчатую передачу, со­ставленную из колес 6 и 7.
В центробежной воздуходувке воздух всасывается в осевом направлении, а выдувается в радиальном, перемещаясь по лопатке рабочего колеса под действием центробежных сил.
Рабочая камера содержит рабочее колесо с радиальными лопатками, на которое передается вращательное движение от двигателя через мультипликатор, а также всасывающее отверстие и воздухоотводный канал. Всасывающее отверстие и воздухоотводный канал отделены друг от друга рабочим колесом воздуходувки. Воздух захватывается карманами вращающегося рабочего колеса и разгоняется под действием центробежной силы, попадая в воздухоотводный канал. После этого, воздух захватывается следующим карманом рабочего колеса и весь цикл повторяется вновь.

1.3. Эксплуатационное назначение разработки.
Данная дизель-воздуходувная установка используется для поддержания процесса горения в технологических печах.

1.4. Исходные данные.
Таблица 1.1
Наименование параметраОбозначениеЕдиница СИВариант
А
1Средняя скорость поршняVсрм/c9.3
2Отношения длинны шатуна к длине кривошипа;
--

4
3Отношение расстояния от точки А до центра тяжести шатуна к длине шатуна
; ;λ

--

0.305
4Диаметр цилиндровdм0.098
5Число оборотов коленчатого валаn1--2200
6Максимальное давление в цилиндре двигателяPmaxПа6.47*
7Вес шатунаG2 ;G4H2.5
8Вес поршняG3 ;G5H2.68
9Момент инерции шатуна относительно оси, проходящей через его центр тяжести
I2S ; I4S

кг

0.031
10Момент инерции коленчатого вала
кг0.081
11Приведенный к коленчатому валу момент инерции планетарного редуктора
кг

0.033
12Момент инерции ротора воздуходувкиIвоздкг0.253
13Угловая координата кривошипа для силового расчета
(угол ВОА, рис. 13-2а)

град

120
Ход толкателя кулачкового механизмаhм0.009
14Радиус ролика толкателяRРм0.01
15Угловая координата начала открытия выхлопного клапана (рис. 13-4б) – начала подъема толкателя

j'


град
95
16Угловая координата конца закрытия выхлопного клапана (рис. 13-4б) – конца спуска толкателя

j''


град
59

17Максимально допустимый угол давленияград
24
18Число зубьев колеса 6 стартера (рис. 13-1)Z6--10
19Передаточное отноше
ние стартерной передачи
I67--2.6
20Модуль зубчатых колес стартерной передачиmмм2.5
21Передаточное отношение планетарного редуктора
--

1/3
22Число сателлитов в планетарном редуктореk--3
23Параметры исходного контура инструментаaоград20

24
h*a--1
c*--0.25
Таблица 1.2.
Значения давления в цилиндре двигателя в долях максимального давления в зависимости от положения поршня.
Координаты поршня
(в долях хода Н)

0

0.02

0.05

0.1

0.2

0.3

0.4

0.5

0.6

0.7

0.8

0.9

1
Давление газа
(в долях )

Для движения поршня наклонно вниз
0.79610.7880.5530.3410.2310.1740.1330.1020.080.0610.0230
Для движения поршня наклонно вверх
0.7960.50.3490.220.1170.0760.0490.030.0190.0110.00300

Чертежи

Лист 1 - Определение законов движения

Лист 2 - Силовой анализ

Лист 3 - Проектирование зубчатой передачи и планетарного редуктора

Лист 4 - Проектирование кулачкового механизма

Характеристики курсовой работы

Учебное заведение
Семестр
Номер задания
Вариант
Просмотров
1703
Качество
Идеальное компьютерное
Размер
1,67 Mb

Список файлов

13-А
Лист (1).cdw
Лист (2).cdw
Лист (3).cdw
Лист (4).cdw
РПЗ.docx
Расчеты - Лист 1.xmcd
Расчеты - Лист 2.xmcd
Расчеты - Лист 3.xls
Расчеты - Лист 4.xmcd
Картинка-подпись
Вам все понравилось? Получите кэшбэк - 40 рублей на Ваш счёт при покупке. Поставьте оценку и напишите положительный комментарий к купленному файлу. После Вы получите деньги на ваш счет.

Комментарии

Нет комментариев
Стань первым, кто что-нибудь напишет!
Поделитесь ссылкой:
Цена: 5 000 2 490 руб.
Расширенная гарантия +3 недели гарантии, +10% цены
Рейтинг покупателей
5 из 5
Поделитесь ссылкой:
Сопутствующие материалы

Подобрали для Вас услуги

-57%
Вы можете использовать курсовую работу для примера, а также можете ссылаться на неё в своей работе. Авторство принадлежит автору работы, поэтому запрещено копировать текст из этой работы для любой публикации, в том числе в свою курсовую работу в учебном заведении, без правильно оформленной ссылки. Читайте как правильно публиковать ссылки в своей работе.
Свежие статьи
Популярно сейчас
Зачем заказывать выполнение своего задания, если оно уже было выполнено много много раз? Его можно просто купить или даже скачать бесплатно на СтудИзбе. Найдите нужный учебный материал у нас!
Ответы на популярные вопросы
Да! Наши авторы собирают и выкладывают те работы, которые сдаются в Вашем учебном заведении ежегодно и уже проверены преподавателями.
Да! У нас любой человек может выложить любую учебную работу и зарабатывать на её продажах! Но каждый учебный материал публикуется только после тщательной проверки администрацией.
Вернём деньги! А если быть более точными, то автору даётся немного времени на исправление, а если не исправит или выйдет время, то вернём деньги в полном объёме!
Да! На равне с готовыми студенческими работами у нас продаются услуги. Цены на услуги видны сразу, то есть Вам нужно только указать параметры и сразу можно оплачивать.
Отзывы студентов
Ставлю 10/10
Все нравится, очень удобный сайт, помогает в учебе. Кроме этого, можно заработать самому, выставляя готовые учебные материалы на продажу здесь. Рейтинги и отзывы на преподавателей очень помогают сориентироваться в начале нового семестра. Спасибо за такую функцию. Ставлю максимальную оценку.
Лучшая платформа для успешной сдачи сессии
Познакомился со СтудИзбой благодаря своему другу, очень нравится интерфейс, количество доступных файлов, цена, в общем, все прекрасно. Даже сам продаю какие-то свои работы.
Студизба ван лав ❤
Очень офигенный сайт для студентов. Много полезных учебных материалов. Пользуюсь студизбой с октября 2021 года. Серьёзных нареканий нет. Хотелось бы, что бы ввели подписочную модель и сделали материалы дешевле 300 рублей в рамках подписки бесплатными.
Отличный сайт
Лично меня всё устраивает - и покупка, и продажа; и цены, и возможность предпросмотра куска файла, и обилие бесплатных файлов (в подборках по авторам, читай, ВУЗам и факультетам). Есть определённые баги, но всё решаемо, да и администраторы реагируют в течение суток.
Маленький отзыв о большом помощнике!
Студизба спасает в те моменты, когда сроки горят, а работ накопилось достаточно. Довольно удобный сайт с простой навигацией и огромным количеством материалов.
Студ. Изба как крупнейший сборник работ для студентов
Тут дофига бывает всего полезного. Печально, что бывают предметы по которым даже одного бесплатного решения нет, но это скорее вопрос к студентам. В остальном всё здорово.
Спасательный островок
Если уже не успеваешь разобраться или застрял на каком-то задание поможет тебе быстро и недорого решить твою проблему.
Всё и так отлично
Всё очень удобно. Особенно круто, что есть система бонусов и можно выводить остатки денег. Очень много качественных бесплатных файлов.
Отзыв о системе "Студизба"
Отличная платформа для распространения работ, востребованных студентами. Хорошо налаженная и качественная работа сайта, огромная база заданий и аудитория.
Отличный помощник
Отличный сайт с кучей полезных файлов, позволяющий найти много методичек / учебников / отзывов о вузах и преподователях.
Отлично помогает студентам в любой момент для решения трудных и незамедлительных задач
Хотелось бы больше конкретной информации о преподавателях. А так в принципе хороший сайт, всегда им пользуюсь и ни разу не было желания прекратить. Хороший сайт для помощи студентам, удобный и приятный интерфейс. Из недостатков можно выделить только отсутствия небольшого количества файлов.
Спасибо за шикарный сайт
Великолепный сайт на котором студент за не большие деньги может найти помощь с дз, проектами курсовыми, лабораторными, а также узнать отзывы на преподавателей и бесплатно скачать пособия.
Популярные преподаватели
Добавляйте материалы
и зарабатывайте!
Продажи идут автоматически
6939
Авторов
на СтудИзбе
265
Средний доход
с одного платного файла
Обучение Подробнее
{user_main_secret_data}