Для студентов МГТУ им. Н.Э.Баумана по предмету Теория механизмов и машин (ТММ)Проектирование и исследование механизмов роторно-поршневого насоса с объемной подачей жидкостиПроектирование и исследование механизмов роторно-поршневого насоса с объемной подачей жидкости
4,96529760
2015-11-182025-04-07СтудИзба
Курсовая работа 130: Проектирование и исследование механизмов роторно-поршневого насоса с объемной подачей жидкости вариант В
-50%
Описание
Проектирование и исследование механизмов роторно-поршневого насоса с объемной подачей жидкости
Содержание
- Реферат 3
- Техническое задание 4
- Исходные данные 10
- Определение закона движения машинного агрегата 10
- Проектирование механизма 10
- Построение индикаторной диаграммы и графика сил 11
- Определение передаточных отношений и моментов инерции поршней 11
- Определение суммарного приведенного момента внешних сил 14
- Построение графика суммарной работы и анализ движения в установившемся режиме 15
- Выбор электродвигателя 16
- Силовой расчет механизма 17
- Исходные данные 17
- Определение скоростей и ускорений точек механизма 17
- Силовой расчет 17
- Проектирование зубчатой передачи и планетарного механизма 18
- Исходные данные программы 18
- Выбор коэффициентов смещения 19
- Построение профиля зуба, изготовляемого реечным инструментом 20
- Построение проектируемой зубчатой передачи 20
- Проектирование планетарного зубчатого механизма 21
- Проектирование кулачкового механизма 23
- Построение кинематических диаграмм методом графического интегрирования 23
- Определение основных размеров кулачкового механизма 23
- Построение профиля кулачка 24
- Построение графика изменения угла давления 24
- Заключение 25
- Список литературы 26
Реферат
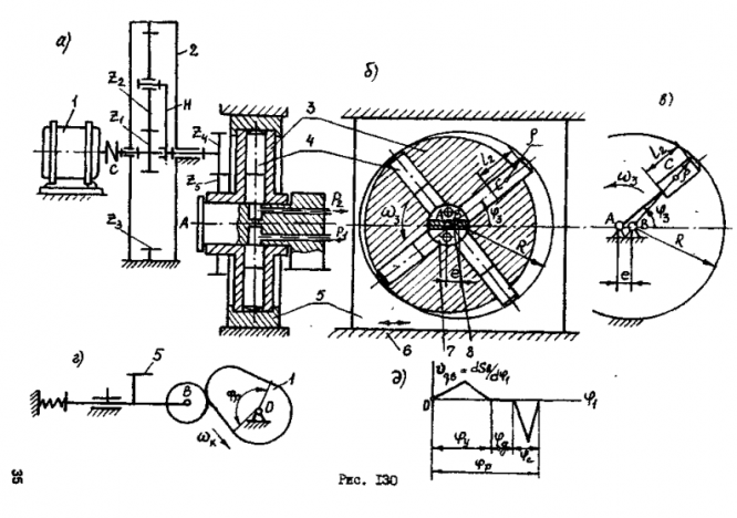
Расчетно-пояснительная записка к курсовому проекту “Проектирование и исследование механизмов роторно-поршневого насоса с объемной подачей жидкости” содержит 27 страниц машинописного текста, 3 таблицы и приложение.В расчетно-пояснительной записке проведено проектирование основного механизма роторно-поршневого насоса, исследовано его движение, приведен кинетостатический силовой расчет основного центрального кривошипно-кулисного механизма, проектирование цилиндрической эвольвентной зубчатой передачи, планетарного механизма, проектирование кулачкового механизма с внеосным поступательно перемещающимся толкателем.
Техническое задание и исходные данные
Чертежи
Лист 1 - Определение закона движения ![]()
Лист 2 - Силовой расчет ![]()
Лист 3 - Проектирование зубчатой передачи ![]()
Лист 4 - Проектирование кулачкового механизма ![]()
Характеристики курсовой работы
Учебное заведение
Семестр
Номер задания
Вариант
Программы
Просмотров
176
Качество
Идеальное компьютерное
Размер
1,54 Mb
Преподаватели
Список файлов
Титульный лист.doc
Реферат.doc
Содержание.doc
РПЗ.xmcd
Заключение.doc
Лист 1.dwg
Лист 2.dwg
Лист 3.dwg
Лист 4.dwg

Вам все понравилось? Получите кэшбэк - 40 рублей на Ваш счёт при покупке. Поставьте оценку и напишите положительный комментарий к купленному файлу. После Вы получите деньги на ваш счет.