Для студентов МГТУ им. Н.Э.Баумана по предмету Теория механизмов и машин (ТММ)Проектирование и исследование механизмов поршневого насосаПроектирование и исследование механизмов поршневого насоса
5,00511
2015-04-152025-04-07СтудИзба
Курсовая работа 35: Проектирование и исследование механизмов поршневого насоса вариант А
-50%
Описание
Проектирование и исследование механизмов поршневого насоса
Содержание
- Реферат. 2
- 1. Техническое задание. 5
- 1.1 Назначение, функциональная схема, принцип работы.. 5
- 1.2 Исходные данные. 6
- 1.3 Проектирование кулачкового механизма. 7
- 2. Определение закона движения шестизвенного кривошипно-ползунного механизма поршневого насоса. 9
- 2.1 Определение размеров звеньев основного механизма. 9
- 2.2 Выбор динамической модели механизма. 11
- 2.3 Определение аналогов скоростей и ускорений. 12
- 2.4 Таблица значений аналогов скоростей и ускорений. 13
- 2.5 Приведение масс. 13
- 2.6 Таблица значений момента инерции и производной момента инерции. 15
- 2.7 Приведение сил. 15
- 2.8 Вычисление кинетической энергии. 16
- 2.9 Расчёт маховика. 17
- 3. Силовой расчёт механизма. 19
- 3.1 Постановка задачи. 19
- 3.2 Выбор метода решения. 19
- 3.3 Силовой расчёт. 19
- 3.3.1 Расчёт ускорений. 21
- 3.3.2 Инерционные нагрузки и силы тяжести. 22
- 3.3.3 Силовой расчёт группы звеньев ВВП (4,5) 22
- 3.3.4 Силовой расчёт группы звеньев ВВВ (2,3) 23
- 3.3.5 Силовой расчёт начального звена. 24
- 3.3.6 Движущий момент и погрешность результата. 25
- 3.3 Результаты силового расчёта. 26
- 4. Проектирование зубчатой передачи планетарного редуктора. 27
- 4.1 Постановка задачи. 27
- 4.2 Построение профиля зуба шестерни. 27
- 4.2.1 Расчёт параметров зубчатой передачи. 27
- 4.2.2 Построение схемы станочного зацепления. 29
- 4.2.3 Построение профиля зуба колеса, изготовляемого реечным инструментом. 30
- 4.3 Построение зацепления колеса и шестерни зубчатой передачи. 31
- 4.4 Проектирование планетарных зубчатых механизмов с цилиндрическими колёсами. 32
- 4.4.1 Выбор схемы планетарного механизма. 33
- 4.4.2 Синтез планетарного механизма. 33
- 4.4.3 Графическое определение передаточного отношения. 34
- 5. Проектирование кулачкового механизма. 35
- 5.1 Постановка задачи. 35
- 5.2 Построение кинематических диаграмм движения толкателя с использованием ЭВМ.. 35
- 5.3 Построение профиля кулачка. 37
- 6. Заключение. 39
- 7.1 Список литературы.. 40
- 7.2 Программное обеспечение. 40
Реферат
Расчётно-пояснительная записка к курсовому проекту «Проектирование и исследование механизмов поршневого насоса» содержит 50 страниц машинописного текста, 19 рисунков, 10 таблиц.В данной расчётно-пояснительной записке приведено: проектирование кривошипно-шатунного механизма и определение закона его движения, силовой расчёт кривошипно-шатунного механизма с учётом динамических нагрузок, проектирование кулачкового механизма, проектирование зубчатой передачи и однорядного планетарного редуктора.
1. Техническое задание
1.1 Назначение, функциональная схема, принцип работы
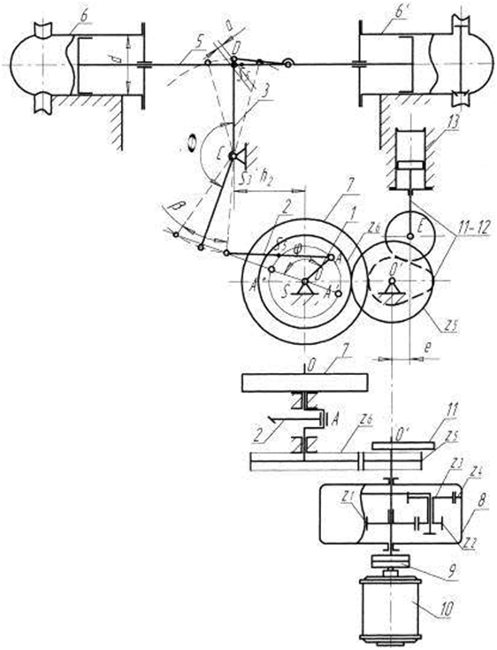
Вертикальный одноцилиндровый поршневой насос (рис. 35-1) предназначен для повышения давления жидкости в гидросистеме и подачи её в напорный трубопровод. Насос приводится в движение асинхронным электродвигателем 1, механическая характеристика которого изображена на рис. 35-1б. Вращательное движение от электродвигателя через зубчатую передачу 2-3 с неподвижными осями колёс и однорядный планетарный редуктор 4-5-6-В передаётся на вал 7 шестизвенного кривошипно-ползунного механизма 7-8-9-10-11. Всасывание жидкости в цилиндр 12 при ходе поршня 11 вверх осуществляется через впускной клапан 13 при давлении жидкости, близком к атмосферному (в расчёте принять Pmin=0). Нагнетание жидкости в напорный трубопровод 14 под давлением Pmax осуществляется через выпускной клапан 15. Изменение давления в цилиндре по пути поршня характеризуется индикаторной диаграммой, изображённой на рис. 35-1в. Применение кривошипно-коромыслового механизма даёт возможность обеспечить движение поршня (в период всасывания жидкости) с большей средней скоростью, чем при ходе поршня вниз (в период нагнетания), что увеличивает производительность насоса. Для обеспечения необходимой равномерности движения на кривошипном валу 7 закреплён маховик 16. В данной установке отсутствует кулачковый механизм. Проектирование кулачкового механизма провести по заданию №34.

1.2 Исходные данные
№ п/п | Наименование параметра | Обозначение | Размерность | Значение | Размерность (СИ) | Значение (СИ) | |
1 | Номинальное число оборотов электродвигателя | nном. | об/мин | 960 | 1/с | 16 | |
2 | Синхронное число оборотов электродвигателя | nc | об/мин | 1000 | 1/с | 16,666 | |
3 | Момент на валу двигателя при номинальном числе оборотов | (Mδ)ном. | кГ*м | 0,75 | Н*м | 7,355 | |
4 | Число оборотов вала (7) | n7 | об/мин | 100 | 1/с | 1,666 | |
5 | Диаметр цилиндра | d | м | 0,110 | |||
6 | Ход поршня | H | м | 0,12 | |||
H1 | 0,036 | ||||||
H2 | 0,084 | ||||||
7 | Максимальное давление жидкости в цилиндре | Pmax | кГ/см2 | 3 | Па | 299971 | |
8 | Коэффициент неравномерности вращения кривошипного вала (7) | δ | 1/12 | ||||
9 | Размеры звеньев | lbc | м | 0,170 | |||
lcd | 0,160 | ||||||
ldf | 0,100 | ||||||
a | 0,100 | ||||||
10 | Коэффициент изменения средней скорости поршня | | 1,2 | ||||
11 | Маховый момент ротора электродвигателя | GD2 | кГ*м2 | 0,40 | |||
12 | Приведённый к валу 7 момент инерции всего зубчатого редуктора | | кГ*м*сек2 | 0,15 | кГ*м2 | 1,471 | |
13 | Момент инерции кривошипного вала 7 (без маховика) | | кГ*м*сек2 | 0,003 | кГ*м2 | 0,029 | |
14 | Вес звена 11 (поршень с ползуном) | G11 | кГ | 4 | |||
15 | Ориентировочный вес единицы длины звеньев 8,9,10 | q | кГ/см | 0,06 | кГ/м | 6 | |
16 | Угловая координата звена 7 для силового расчёта (рис.35-1а) | φ7 | град | 200 | рад | | |
17 | Числа зубьев колёс 2,3 | Z2 | 11 | ||||
Z3 | 17 | ||||||
18 | Модуль зубчатой передачи 2,3 | m | мм | 2,5 | |||
19 | Число сателлитов в планетарном редукторе | K | 3 |
1. Центры тяжести Sb и S10 принять посередине звена.
2. Моменты инерции I85, I8s, I10s подсчитать по формуле , где m – масса звена и l – длина звена.
3. Число оборотов электродвигателя (nδ) при установившемся режиме определяется по механической характеристике (рис. 35-1б).
1.3 Проектирование кулачкового механизма
№ п/п | Наименование параметра | Обозначение | Размерность | Значение |
1 | Угол рабочего профиля кулачка | δраб | град(°) | 180 |
2 | Ход толкателя кулачкового механизма | hE | м | 0,035 |
3 | Максимально допустимый угол давления в кулачковом механизме | 𝜗доп | град(°) | 30 |
4 | Отношение величин ускорения толкателя | 1 |
Чертежи
Лист 1 - Определение закона движения ![]()
Лист 2 - Силовой расчет
Лист 3 - Проектирование зубчатого механизма
Лист 4 - Проектирование кулачкового механизма ![]()
Характеристики курсовой работы
Учебное заведение
Семестр
Номер задания
Вариант
Программы
Просмотров
885
Качество
Идеальное компьютерное
Размер
4,53 Mb
Список файлов
РПЗ.docx
Приложение.docx
Чертежи.dwg
Кулак.xmcd
Расчеты.xmcd

Вам все понравилось? Получите кэшбэк - 40 рублей на Ваш счёт при покупке. Поставьте оценку и напишите положительный комментарий к купленному файлу. После Вы получите деньги на ваш счет.