Для студентов по предмету Теория автоматического управления (ТАУ)Электромеханическая система, анализ которой необходимо провести в техническом заданииЭлектромеханическая система, анализ которой необходимо провести в техническом задании
5,0053135
2025-02-272025-02-27СтудИзба
Курсовая работа: Электромеханическая система, анализ которой необходимо провести в техническом задании
Описание
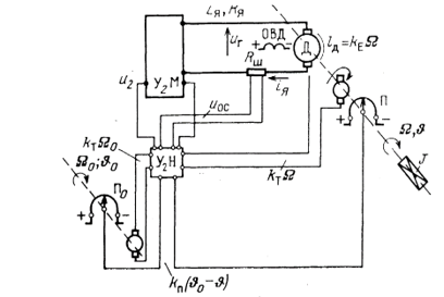
Электромеханическая система, анализ которой необходимо провести в техническом задании, изображена на рис. 1.1
Рис. 1.1. Кинематическая схема следящей системы
В этой системе введены обратные связи по углу поворота, угловой скорости вращения и тока в цепи якоря двигателя.
Будем считать, что все звенья системы являются линейными, за исключением генератора, так как его электродвижущая сила связана с током возбуждения нелинейной зависимостью (кривой намагниченности). Однако при сравнительно небольших напряжениях якоря (примерно половина номинального напряжения) зависимость можно считать линейной, так как этот участок характеристики является линейным.
Таким образом, в данной системе отпадает необходимость в линеаризации системы, так как она уже линеаризована. Для составления уравнений системы разобьем ее на динамические звенья и найдем их передаточные функции.
Составим уравнение следящей системы, приведенной на рис. 1.1.
Содержание
1. Получение уравнения следящей системы……………………………...............8
2. Получение передаточной функции системы…………………… ……………..16
3. Исследование системы на устойчивость……………………….. …………..21
3.1. Исследование системы на устойчивость с помощью критерия Гурвица………………………………………………………………………….21
3.2. Исследование системы на устойчивость с помощью критерия Михайлова ………………………………………26
3.3. Исследование системы на устойчивость с помощью критерия Найквиста…………………………………………..31
3.4. Запас устойчивости. Определение коэффициента передачи колебательного звена, замыкание системы по номограмме замыкания……...35
4. Исследование системы в динамике: оценка качества переходного процесса…………………………………….48
Заключение…………………………………………………………………………………...54
Список использованной литературы…………………………………………………...55

В этой системе введены обратные связи по углу поворота, угловой скорости вращения и тока в цепи якоря двигателя.
Будем считать, что все звенья системы являются линейными, за исключением генератора, так как его электродвижущая сила связана с током возбуждения нелинейной зависимостью (кривой намагниченности). Однако при сравнительно небольших напряжениях якоря (примерно половина номинального напряжения) зависимость можно считать линейной, так как этот участок характеристики является линейным.
Таким образом, в данной системе отпадает необходимость в линеаризации системы, так как она уже линеаризована. Для составления уравнений системы разобьем ее на динамические звенья и найдем их передаточные функции.
Составим уравнение следящей системы, приведенной на рис. 1.1.
Содержание
1. Получение уравнения следящей системы……………………………...............8
2. Получение передаточной функции системы…………………… ……………..16
3. Исследование системы на устойчивость……………………….. …………..21
3.1. Исследование системы на устойчивость с помощью критерия Гурвица………………………………………………………………………….21
3.2. Исследование системы на устойчивость с помощью критерия Михайлова ………………………………………26
3.3. Исследование системы на устойчивость с помощью критерия Найквиста…………………………………………..31
3.4. Запас устойчивости. Определение коэффициента передачи колебательного звена, замыкание системы по номограмме замыкания……...35
4. Исследование системы в динамике: оценка качества переходного процесса…………………………………….48
Заключение…………………………………………………………………………………...54
Список использованной литературы…………………………………………………...55
Характеристики курсовой работы
Просмотров
1
Качество
Идеальное компьютерное
Размер
3,16 Mb
Список файлов
primerkursovoi.docx

Если нужен другой вариант работы или отдельная задача из любой работы, пишите в комментарии