Для студентов МГТУ им. Н.Э.Баумана по предмету Теоретическая механикаКолебания линейной системы с одной степенью свободыКолебания линейной системы с одной степенью свободы
5,00549
2023-11-212023-11-21СтудИзба
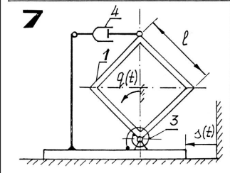
ДЗ 2: Колебания линейной системы с одной степенью свободы вариант 7
Описание
ФЧХ -фазочастотная характристика, АЧХ - амплитудночастотная характеристика. графики в десмосе рисовал как кусочную функцию

Характеристики домашнего задания
Предмет
Учебное заведение
Семестр
Номер задания
Вариант
Просмотров
33
Качество
Фото рукописных листов
Размер
13,2 Mb
Список файлов
изображение_2023-11-21_181503777.png
изображение_2023-11-21_181517099.png
изображение_2023-11-21_181525350.png
изображение_2023-11-21_181534261.png
изображение_2023-11-21_181541865.png
МГТУ им. Н.Э.Баумана
neposredstvenniy_1


















