ДЗ 1: Кинематика точки и простейших движений твердого тела вариант 1
Описание

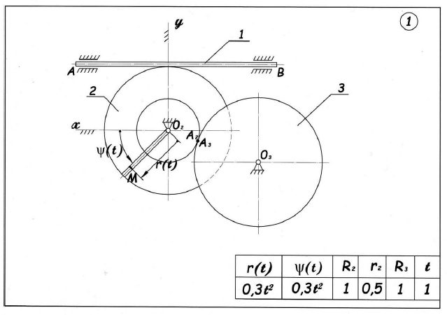
Задание по разделам теоретической механики «Кинематика точки и про- стейшие движения твердого тела» является первым при изучении курса «Тео- ретическая механика». Оно позволяет студенту усвоить основные понятия ки- нематики точки и простейших движений твердого тела. Задание содержит 30 вариантов задач. Каждому варианту задания соответствует схема механизма (на схемах – 1, 2, … 5 – номера звеньев механизма). Указанная на схемах механизма точка M (ее движение изучают) может принадлежать звену или совершать движение относительно него. Начало и по- ложительное направление отсчета координат s(t), x(t), y(t), r(t),(t) и (t) также указаны на схемах. Кроме того, на схемах механизмов приведены законы движения точки или звеньев, а также исходные данные для всех вариантов задания и единицы изме- рения исходных величин: длина – в метрах, время – в секундах, угол – в радиа- нах.
В точках соприкосновения звеньев механизма проскальзывание отсутству- ет, нити и ремни считаются нерастяжимыми и относительно шкивов не сколь- зят. Задание состоит из двух частей: 1) кинематика точки; 2) простейшие дви- жения твердого тела. 1. КИНЕМАТИКА ТОЧКИ В первой части задания нужно исследовать движение точки M и опреде- лить основные характеристики этого движения. Требуется: 1) по заданному движению механизма (см.варианты заданий) получить уравнения движения точки M координатным способом (в декартовой или по- лярной системе координат, указанной на схеме варианта); 2) определить траекторию движения точки M . Для момента времени t t1 : 3) найти скорость v и ускорение a точки M ; 4) определить проекции скорости v и ускорения a точки M на оси декар- товой системы координат; 5) найти касательную a и нормальную n a составляющие ускорения, ради- ус кривизны траектории в данном положении точки M ; 6) найти радиальные и трансверсальные составляющие скорости и ускоре- ния точки M .
Начало полярной системы координат нужно поместить в начало декартовой, направив полярную ось по оси Ox ; 7) в выбранном масштабе выполнить чертеж с изображением траектории движения точки M . На чертеже указать все составляющие скорости и ускоре- ния точки M в момент времени 1 t t . 2. КИНЕМАТИКА ПРОСТЕЙШИХ ДВИЖЕНИЙ ТВЕРДОГО ТЕЛА Во второй части курсового задания требуется: 1) установить вид движения звеньев механизма. Для момента времени 1 t t ; 2) определить угловые скорости и угловые ускорения звеньев механизма, совершающих вращательное движение, указав на чертеже круговы- ми стрелками их направления, определить характер движения тел (замедлен- ный или ускоренный); 3) определить скорости v и ускорения a тел при поступательном движении; 4) для точек контакта тел i A ( i - номер звена) определить скорости, ускорения и изобразить их на схеме механизма в соответствующем масштабе (см.разд.
4). Примечания 1. Радиусы ступеней i -го зубчатого колеса обозначены i R и i r . 2. Законы движения звеньев в ряде механизмов справедливы для ограниченного промежутка времени, включающего момент 1 t t . 3. Для тела при вращении его вокруг оси Oz : - угол поворота тела. Положительное направление отсчета угла принято против хода часовой стрелки, если смотреть с положительного направления оси Oz ; - угловая скорость тела - скользящий вектор на оси вращения, z k , где k - единичный орт оси Oz , dt d z - проекция вектора на ось Oz ; - угловое ускорение тела – скользящий вектор на оси вра- щения Oz , z k , где z - проекция вектора на ось Oz : dt d dt d z z 2 2 ..
Характеристики домашнего задания
Список файлов
