Для студентов МГТУ им. Н.Э.Баумана по предмету Теоретическая механикаКинематика точки и простейших движений твердого телаКинематика точки и простейших движений твердого тела
5,0054
2022-04-172025-02-07СтудИзба
ДЗ 1: Кинематика точки и простейших движений твердого тела вариант 11
-43%
Описание
Типовой расчет по теоретической механике, "Кинематика точки и простейших движений твердого тела", зачтено
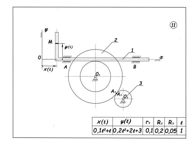
Условие:
Пример решения:
![]()
Условие:



Характеристики домашнего задания
Предмет
Учебное заведение
Семестр
Номер задания
Вариант
Просмотров
78
Качество
Фото рукописных листов
Размер
1,43 Mb
Список файлов
Вариант 11 Кинематика точки 425.pdf

Спасибо за покупку! Я буду очень рад, если поставишь справедливую оценку купленному файлу :3 Ищи больше работ в моём профиле, там много нужного тебе!